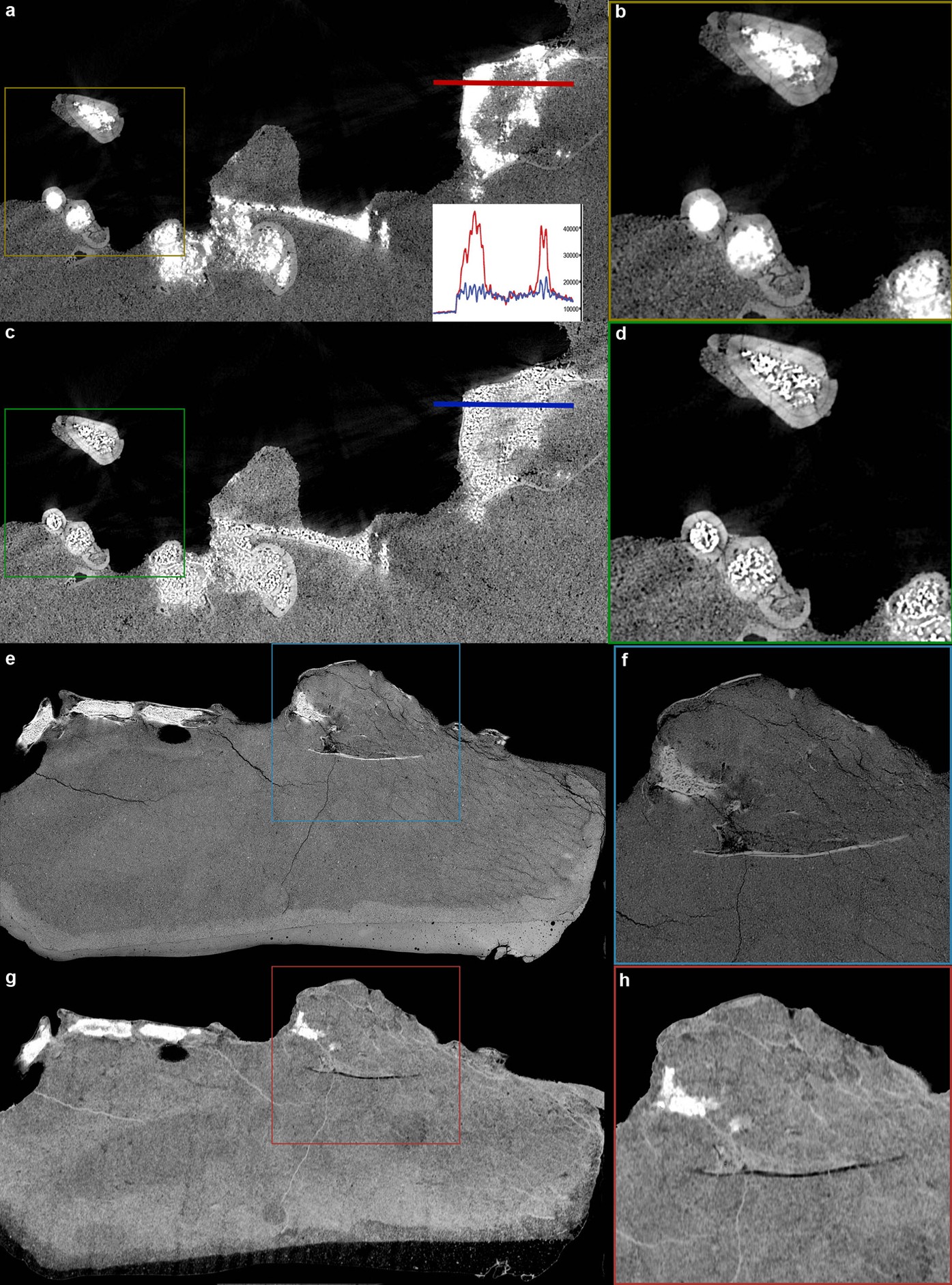
Extended Data Figure 1: Example of data processed with texture enhancement and metallic-inclusion correction algorithms.
From: Synchrotron scanning reveals amphibious ecomorphology in a new clade of bird-like dinosaurs

a, Virtual section or the original dataset. b, Detail of a. c, Virtual section from the dataset corrected for metallic inclusions. d, Detail of c. Histograms along the blue and red lines demonstrate how metallic inclusions prevent adjusting the contrast to focus on the bone–matrix contact. e, Virtual section along the longitudinal axis of the cranium on dataset corrected for metallic inclusions. f, Detail of e. g, Same virtual section as in e, on data processed with the texture enhancement algorithm. h, Detail of g. In the processed data (g, h), homogenous parts (for example, bone or plaster) appear dark and the sediment reveals features that were barely visible prior to processing (e, f).