Figure 1

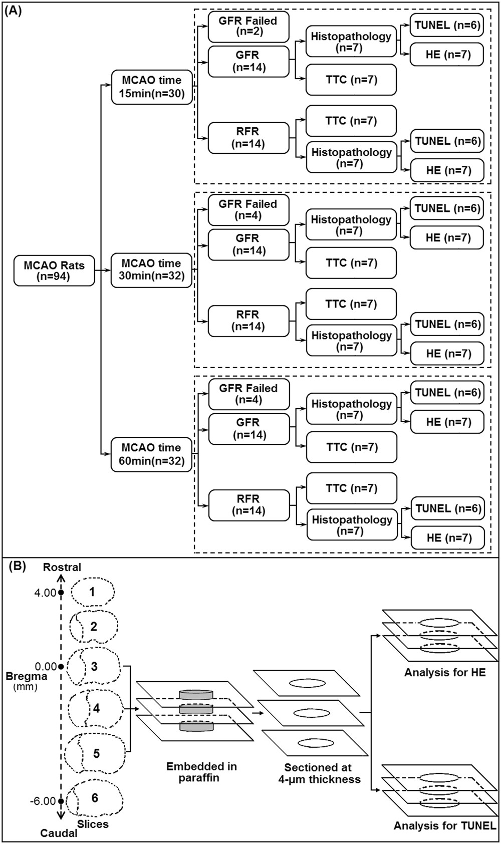
Illustration of experimental group (A) and brain tissue sampling procedure of HE and TUNEL analysis (B) in MCAO rats treated with GFR and RFR intervention.

Illustration of experimental group (A) and brain tissue sampling procedure of HE and TUNEL analysis (B) in MCAO rats treated with GFR and RFR intervention.