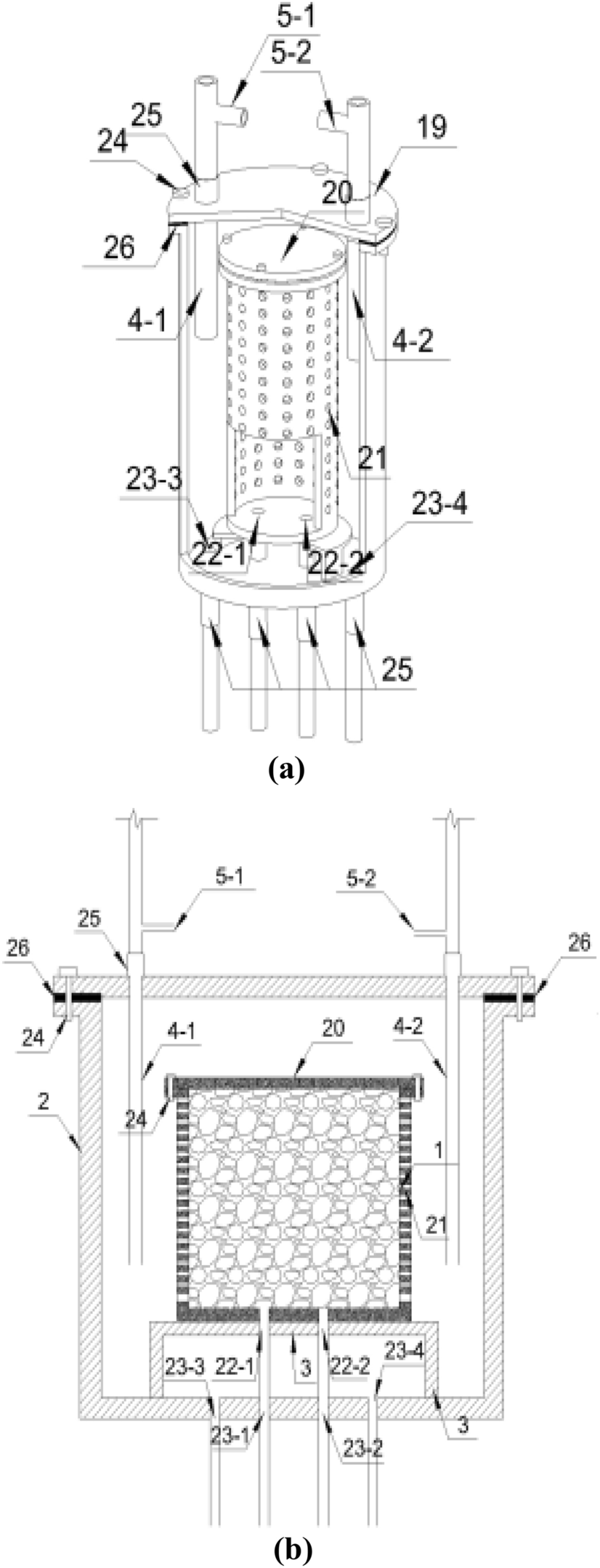
Figure 2

Schematic diagrams of the microorganism and mixed liquid reaction device: (a) axial section; (b) longitudinal section 1—Inner container, 2—outer container, 3 tray, 4-1—2 grouting pipe, 5-1—2 vent pipe, 19—outer container top cover, 20—inner container top cover, 21—Inner container side wall hole, 22-1—2 inner container bottom hole, 23-1—4 outer container bottom hole, 24—inner and outer container bolt hole and bolt, 25—sealing pipe joint, 26—inner and outer container gasket.