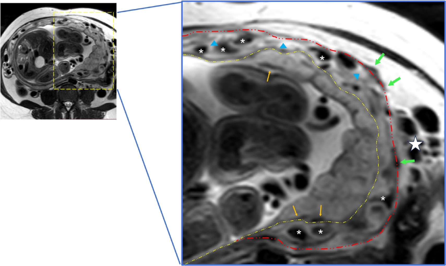
Fig. 4

The key differences between the Novel Sign and abnormal vascularization of the placental bed. The enhanced vascularization confined within the myometrium can be observed, which are distinct from the placental bed and parametrial vessels. White asterisks: the novel sign ‘increased intra-myometrial vascularity’ appears as continuous tubular or tortuous flow-void structures within the myometrium. Myometrium with hypertrophy, indicated by blue triangles, exhibits higher T2 signal intensity compared to myometrium without hypertrophy. Orange arrows: bed vascularization. Green arrows: serosa vascularization. Yellow dashed line: placenta-utero interface. Red dashed line: serosa side.