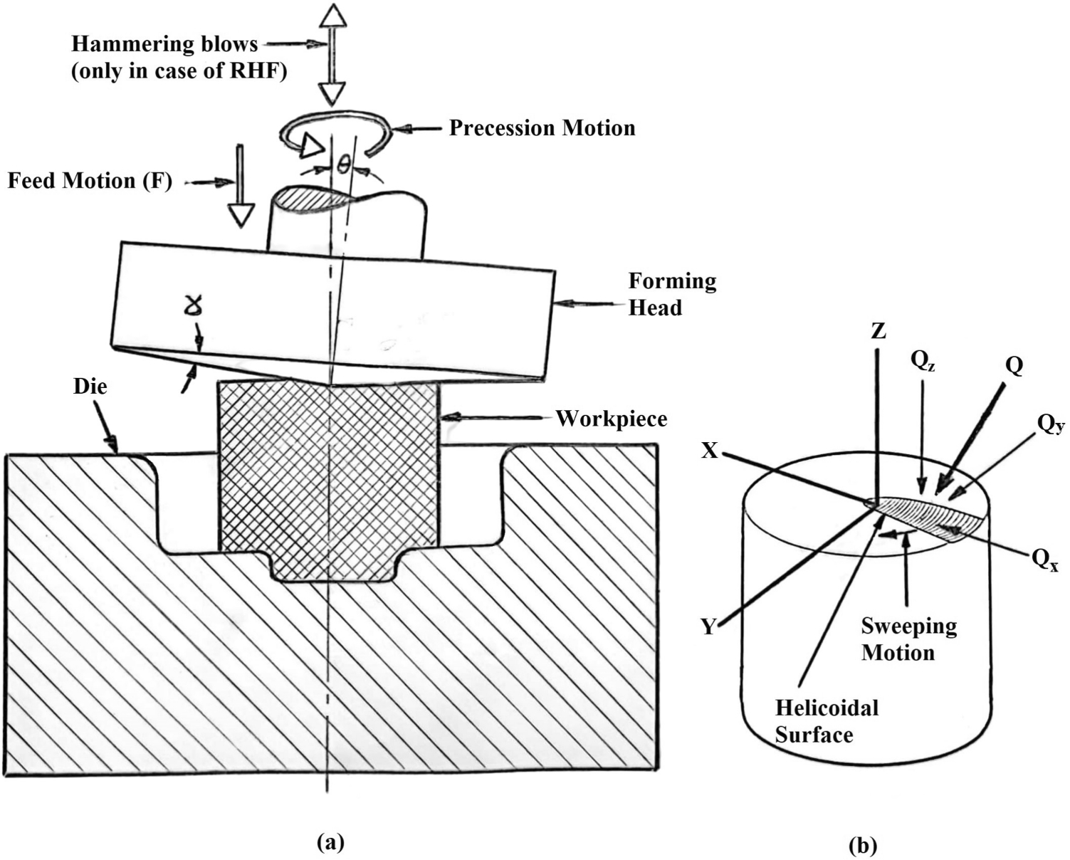
Fig. 1

Rotary press and hammer forging processes: (a) Main elements and movements. (b) The indent and the forming force components.

Rotary press and hammer forging processes: (a) Main elements and movements. (b) The indent and the forming force components.