Abstract
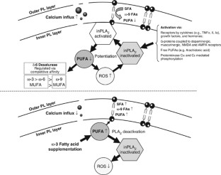
The identification of an ultra-high risk (UHR) profile for psychosis and a greater understanding of its prodrome have led to increasing interest in early intervention to delay or prevent the onset of psychotic illness. In a randomized placebo-controlled trial, we have identified long-chain ω-3 (ω-3) polyunsaturated fatty acid (PUFA) supplementation as potentially useful, as it reduced the rate of transition to psychosis by 22.6% 1 year after baseline in a cohort of 81 young people at UHR of transition to psychosis. However, the mechanisms whereby the ω-3 PUFAs might be neuroprotective are incompletely understood. Here, we report on the effects of ω-3 PUFA supplementation on intracellular phospholipase A2 (inPLA2) activity, the main enzymes regulating phospholipid metabolism, as well as on peripheral membrane lipid profiles in the individuals who participated in this randomized placebo-controlled trial. Patients were studied cross-sectionally (n=80) and longitudinally (n=65) before and after a 12-week intervention with 1.2 g per day ω-3 PUFAs or placebo, followed by a 40-week observation period to establish the rates of transition to psychosis. We investigated inPLA2 and erythrocyte membrane FAs in the treatment groups (ω-3 PUFAs vs placebo) and the outcome groups (psychotic vs non-psychotic). The levels of membrane ω-3 and ω-6 PUFAs and inPLA2 were significantly related. Some of the significant associations (that is, long-chain ω-6 PUFAs, arachidonic acid) with inPLA2 activity were in opposite directions in individuals who did (a positive correlation) and who did not (a negative correlation) transition to psychosis. Supplementation with ω-3 PUFA resulted in a significant decrease in inPLA2 activity. We conclude that ω-3 PUFA supplementation may act by normalizing inPLA2 activity and δ-6-desaturase-mediated metabolism of ω-3 and ω-6 PUFAs, suggesting their role in neuroprogression of psychosis.
This is a preview of subscription content, access via your institution
Access options
Subscribe to this journal
Receive 12 print issues and online access
$259.00 per year
only $21.58 per issue
Buy this article
- Purchase on SpringerLink
- Instant access to the full article PDF.
USD 39.95
Prices may be subject to local taxes which are calculated during checkout



Similar content being viewed by others
References
Amminger GP, Schafer MR, Papageorgiou K, Klier CM, Cotton SM, Harrigan SM et al. Long-chain omega-3 fatty acids for indicated prevention of psychotic disorders: a randomized, placebo-controlled trial. Arch Gen Psychiatry 2010; 67: 146–154.
Miller TJ, McGlashan TH, Rosen JL, Somjee L, Markovich PJ, Stein K et al. Prospective diagnosis of the initial prodrome for schizophrenia based on the Structured Interview for Prodromal Syndromes: preliminary evidence of interrater reliability and predictive validity. Am J Psychiatry 2002; 159: 863–865.
Yung AR, McGorry PD . The prodromal phase of first-episode psychosis: past and current conceptualizations. Schizophr Bull 1996; 22: 353–370.
Yung AR, Phillips LJ, McGorry PD, McFarlane CA, Francey S, Harrigan S et al. Prediction of psychosis. A step towards indicated prevention of schizophrenia. Br J Psychiatry Suppl 1998; 172: 14–20.
McGorry PD, Nelson B, Amminger GP, Bechdolf A, Francey SM, Berger G et al. Intervention in individuals at ultra high risk for psychosis: a review and future directions. J Clin Psychiatry 2009; 70: 1206–1212.
Preti A, Cella M . Randomized-controlled trials in people at ultra high risk of psychosis: a review of treatment effectiveness. Schizophr Res 2010; 123: 30–36.
McGorry PD, Yung AR, Phillips LJ, Yuen HP, Francey S, Cosgrave EM et al. Randomized controlled trial of interventions designed to reduce the risk of progression to first-episode psychosis in a clinical sample with subthreshold symptoms. Arch Gen Psychiatry 2002; 59: 921–928.
Amminger GP, McGorry PD . Update on ω-3 polyunsaturated fatty acids in early-stage psychotic disorders. Neuropsychopharmacology 2012; 37: 309–310.
Amminger GP, Schafer MR, Klier CM, Slavik JM, Holzer I, Holub M et al. Decreased nervonic acid levels in erythrocyte membranes predict psychosis in help-seeking ultra-high-risk individuals. Mol Psychiatry 2011; 17: 1150–1152.
Lasch J, Willhardt I, Kinder D, Sauer H, Smesny S . Fluorometric assays of phospholipase A2 activity with three different substrates in biological samples of patients with schizophrenia. Clin Chem Lab Med 2003; 41: 908–914.
Sun GY, Xu J, Jensen MD, Simonyi A . Phospholipase A2 in the central nervous system: implications for neurodegenerative diseases. J Lipid Res 2004; 45: 205–213.
Cummings BS, McHowat J, Schnellmann RG . Phospholipase A (2)s in cell injury and death. J Pharmacol Exp Ther 2000; 294: 793–799.
Rosenson RS, Stafforini DM . Modulation of oxidative stress, inflammation, and atherosclerosis by lipoprotein-associated phospholipase A2. J Lipid Res 2012; 53: 1767–1782.
Atsumi G, Murakami M, Kojima K, Hadano A, Tajima M, Kudo I . Distinct roles of two intracellular phospholipase A2s in fatty acid release in the cell death pathway. Proteolytic fragment of type IVA cytosolic phospholipase A2alpha inhibits stimulus-induced arachidonate release, whereas that of type VI Ca2+-independent phospholipase A2 augments spontaneous fatty acid release. J Biol Chem 2000; 275: 18248–18258.
Arioka M, Cheon SH, Ikeno Y, Nakashima S, Kitamoto K . A novel neurotrophic role of secretory phospholipases A2 for cerebellar granule neurons. FEBS Lett 2005; 579: 2693–2701.
Moylan S, Maes M, Wray NR, Berk M . The neuroprogressive nature of major depressive disorder: pathways to disease evolution and resistance, and therapeutic implications. Mol Psychiatry, advance online publication, 24 April 2012; doi:10.1038/mp.2012.33.
Berk M, Conus P, Kapczinski F, Andreazza AC, Yucel M, Wood SJ et al. From neuroprogression to neuroprotection: implications for clinical care. Med J Aust 2010; 193 (4 Suppl): S36–S40.
Farooqui AA, Ong WY, Horrocks LA, Chen P, Farooqui T . Comparison of biochemical effects of statins and fish oil in brain: the battle of the titans. Brain Res Rev 2007; 56: 443–471.
Berger GE, Smesny S, Amminger GP . Bioactive lipids in schizophrenia. Int Rev Psychiatry 2006; 18: 85–98.
Emsley R, Oosthuizen P, van Rensburg SJ . Clinical potential of omega-3 fatty acids in the treatment of schizophrenia. CNS Drugs 2003; 17: 1081–1091.
Fenton WS, Hibbeln J, Knable M . Essential fatty acids, lipid membrane abnormalities, and the diagnosis and treatment of schizophrenia. Biol Psychiatry 2000; 47: 8–21.
Law MH, Cotton RG, Berger GE . The role of phospholipases A2 in schizophrenia. Mol Psychiatry 2006; 11: 547–556.
Smesny S, Kinder D, Willhardt I, Rosburg T, Lasch J, Berger G et al. Increased calcium-independent phospholipase A2 activity in first but not in multiepisode chronic schizophrenia. Biol Psychiatry 2005; 57: 399–405.
Smesny S, Kunstmann C, Kunstmann S, Willhardt I, Lasch J, Yotter RA et al. Phospholipase A2 activity in first episode schizophrenia: associations with symptom severity and outcome at week 12. World J Biol Psychiatry 2011; 12: 598–607.
Gattaz WF, Hubner CV, Nevalainen TJ, Thuren T, Kinnunen PK . Increased serum phospholipase A2 activity in schizophrenia: a replication study. Biol Psychiatry 1990; 28: 495–501.
Gattaz WF, Kollisch M, Thuren T, Virtanen JA, Kinnunen PK . Increased plasma phospholipase-A2 activity in schizophrenic patients: reduction after neuroleptic therapy. Biol Psychiatry 1987; 22: 421–426.
Ross BM, Hudson C, Erlich J, Warsh JJ, Kish SJ . Increased phospholipid breakdown in schizophrenia. Evidence for the involvement of a calcium-independent phospholipase A2. Arch Gen Psychiatry 1997; 54: 487–494.
Tavares H, Yacubian J, Talib LL, Barbosa NR, Gattaz WF . Increased phospholipase A2 activity in schizophrenia with absent response to niacin. Schizophr Res 2003; 61: 1–6.
Smesny S, Milleit B, Nenadic I, Preul C, Kinder D, Lasch J et al. Phospholipase A2 activity is associated with structural brain changes in schizophrenia. Neuroimage 2010; 52: 1314–1327.
Horrobin DF . The membrane phospholipid hypothesis as a biochemical basis for the neurodevelopmental concept of schizophrenia. Schizophr Res 1998; 30: 193–208.
Bjerve KS, Thoresen L, Mostad IL, Alme K . Alpha-linolenic acid deficiency in man: effect of essential fatty acids on fatty acid composition. Adv Prostaglandin Thromboxane Leukot Res 1987; 17B: 862–865.
Brenner RR . Nutritional and hormonal factors influencing desaturation of essential fatty acids. Prog Lipid Res 1982; 20: 41–47.
Kay SR, Fiszbein A, Opler LA . The positive and negative syndrome scale (PANSS) for schizophrenia. Schizophr Bull 1987; 13: 261–276.
Association AP. Diagnostic and Statistical Manual of Mental Disorders. American Psychiatric Press 4th ed Washington DC, 1994.
Balsinde J, Balboa MA, Insel PA, Dennis EA . Regulation and inhibition of phospholipase A2. Annu Rev Pharmacol Toxicol 1999; 39: 175–189.
Dennis EA . Diversity of group types, regulation, and function of phospholipase A2. J Biol Chem 1994; 269: 13057–13060.
Carlsson ML, Carlsson A, Nilsson M . Schizophrenia: from dopamine to glutamate and back. Curr Med Chem 2004; 11: 267–277.
Do KQ, Trabesinger AH, Kirsten-Kruger M, Lauer CJ, Dydak U, Hell D et al. Schizophrenia: glutathione deficit in cerebrospinal fluid and prefrontal cortex in vivo. Eur J Neurosci 2000; 12: 3721–3728.
Muller N, Schwarz M . Schizophrenia as an inflammation-mediated dysbalance of glutamatergic neurotransmission. Neurotox Res 2006; 10: 131–148.
Yao JK, van Kammen DP . Membrane phospholipids and cytokine interaction in schizophrenia. Int Rev Neurobiol 2004; 59: 297–326.
Balsinde J, Balboa MA . Cellular regulation and proposed biological functions of group VIA calcium-independent phospholipase A2 in activated cells. Cell Signal 2005; 17: 1052–1062.
Borsch-Haubold AG . Regulation of cytosolic phospholipase A2 by phosphorylation. Biochem Soc Trans 1998; 26: 350–354.
Gijon MA, Leslie CC . Regulation of arachidonic acid release and cytosolic phospholipase A2 activation. J Leukoc Biol 1999; 65: 330–336.
Leslie CC . Regulation of the specific release of arachidonic acid by cytosolic phospholipase A2. Prostaglandins Leukot Essent Fatty Acids 2004; 70: 373–376.
Scott KF, Bryant KJ, Bidgood MJ . Functional coupling and differential regulation of the phospholipase A2-cyclooxygenase pathways in inflammation. J Leukoc Biol 1999; 66: 535–541.
Farooqui AA, Ong WY, Horrocks LA . Biochemical aspects of neurodegeneration in human brain: involvement of neural membrane phospholipids and phospholipases A2. Neurochem Res 2004; 29: 1961–1977.
Nakamura MT, Nara TY . Structure, function, and dietary regulation of delta6, delta5, and delta9 desaturases. Annu Rev Nutr 2004; 24: 345–376.
Yehuda S, Rabinovitz S, Carasso RL, Mostofsky DI . The role of polyunsaturated fatty acids in restoring the aging neuronal membrane. Neurobiol Aging 2002; 23: 843–853.
Babin F, Sarda P, Limasset B, Descomps B, Rieu D, Mendy F et al. Nervonic acid in red blood cell sphingomyelin in premature infants: an index of myelin maturation? Lipids 1993; 28: 627–630.
Mico JA, Rojas-Corrales MO, Gibert-Rahola J, Parellada M, Moreno D, Fraguas D et al. Reduced antioxidant defense in early onset first-episode psychosis: a case-control study. BMC Psychiatry 2011; 11: 26.
Jacka FN, Kremer PJ, Berk M, de Silva-Sanigorski AM, Moodie M, Leslie ER et al. A prospective study of diet quality and mental health in adolescents. PLoS One 2011; 6: e24805.
Antalis CJ, Stevens LJ, Campbell M, Pazdro R, Ericson K, Burgess JR . Omega-3 fatty acid status in attention-deficit/hyperactivity disorder. Prostaglandins Leukot Essent Fatty Acids 2006; 75: 299–308.
Assies J, Pouwer F, Lok A, Mocking RJ, Bockting CL, Visser I et al. Plasma and erythrocyte fatty acid patterns in patients with recurrent depression: a matched case-control study. PLoS One 2010; 5: e10635.
Berk M, Kapczinski F, Andreazza AC, Dean OM, Giorlando F, Maes M et al. Pathways underlying neuroprogression in bipolar disorder: focus on inflammation, oxidative stress and neurotrophic factors. Neurosci Biobehav Rev 2011; 35: 804–817.
McNamara RK, Jandacek R, Rider T, Tso P, Dwivedi Y, Pandey GN . Selective deficits in erythrocyte docosahexaenoic acid composition in adult patients with bipolar disorder and major depressive disorder. J Affect Disord 2010; 126: 303–311.
Parker G, Gibson D, Brockie HC, Heruc G, Rees A-M, Hadzi-Pavloivic D . Omega-3 fatty acids and mood disorders. Am J Psychiatry 2006; 163: 969–978.
Tamiji J, Crawford DA . The neurobiology of lipid metabolism in autism spectrum disorders. Neurosignals 2010; 18: 98–112.
Cornblatt BA, Lencz T, Kane JM . Treatment of the schizophrenia prodrome: is it presently ethical? Schizophr Res 2001; 51: 31–38.
Ruhrmann S, Schultze-Lutter F, Klosterkotter J . Probably at-risk, but certainly ill—advocating the introduction of a psychosis spectrum disorder in DSM-V. Schizophr Res 2010; 120: 23–37.
Acknowledgements
The study was supported by Stanley Medical Research Institute, Grant 03T-315. In performing inPLA2 analysis, Dr Stefan Smesny was supported by German Research Foundation (DFG), Grant Sm 68/3-1. Dr G Paul Amminger was supported by Grant 566529 from the National Health and Medical Research Council, Australia. Dr Sherilyn Goldstone edited the final manuscript; Margit Kornsteiner and Jessica Slavik assisted with the erythrocyte FA analysis; Kostas Papageorgiou assisted with psychiatric research assessments. We thank all of the participants and their families.
Author contributions
Drs Smesny and Amminger had full access to all the data in the study and take responsibility for the integrity of the data and the accuracy of the data analysis; all authors contributed to the writing of the paper and have approved the final version.
Author information
Authors and Affiliations
Corresponding author
Ethics declarations
Competing interests
The authors declare no conflict of interest.
Additional information
Disclaimer
The sponsor of the study had no role in study design, data collection, data analysis, data interpretation or writing of the report.
Supplementary Information accompanies the paper on the Molecular Psychiatry website
Rights and permissions
About this article
Cite this article
Smesny, S., Milleit, B., Hipler, UC. et al. Omega-3 fatty acid supplementation changes intracellular phospholipase A2 activity and membrane fatty acid profiles in individuals at ultra-high risk for psychosis. Mol Psychiatry 19, 317–324 (2014). https://doi.org/10.1038/mp.2013.7
Received:
Revised:
Accepted:
Published:
Issue date:
DOI: https://doi.org/10.1038/mp.2013.7
Keywords
This article is cited by
-
Evidence that complement and coagulation proteins are mediating the clinical response to omega-3 fatty acids: A mass spectrometry-based investigation in subjects at clinical high-risk for psychosis
Translational Psychiatry (2022)
-
Increased PLA2 activity in individuals at ultra-high risk for psychosis
European Archives of Psychiatry and Clinical Neuroscience (2021)
-
Beneficial effects of omega-3 fatty acid supplementation in schizophrenia: possible mechanisms
Lipids in Health and Disease (2020)
-
Omega-6 to omega-3 polyunsaturated fatty acid ratio and subsequent mood disorders in young people with at-risk mental states: a 7-year longitudinal study
Translational Psychiatry (2017)
-
White matter integrity in individuals at ultra-high risk for psychosis: a systematic review and discussion of the role of polyunsaturated fatty acids
BMC Psychiatry (2016)


