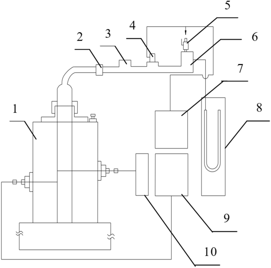
Figure 1

Experimental equipment for minimum ignition temperature of coal dust clouds. 1 heating furnace; 2 connector; 3 dust container; 4 electromagnetic valve; 5 gate valve; 6 gas tank; 7 power supply; 8 U tube; 9 temperature controller; 10 temperature recorder.