Abstract
The ignition and explosion processes of suspended coal dust clouds and their suppression characteristics are important aspects of dust prevention and control. To understand the ignition temperature and explosion pressure of coal dust clouds, as well as the inhibitory effect of explosion suppressants, experimental tests are conducted. The study found that during the ignition process of coal dust clouds, the optimal dust spray pressure is 20 kPa, because coal dust clouds are more likely to ignite under this condition. When the mass concentration of coal dust cloud is 500 g m−3, the maximum pressure and maximum pressure rise rate are both the highest. When Al(OH)3 is mixed with coal dust and the mass percentage is 60%, the coal dust cloud can still be ignited. When KH2PO4 is mixed with coal dust, the upper limit of the test temperature is reached when the percentage of mixture is 55%. When NH4H2PO4 is mixed with coal dust and the mass percentage is greater than 40%, the coal dust cloud can’t be ignited anymore. The suppression effect of mixing Al(OH)3 and NH4H2PO4 is not as good as that of mixing KH2PO4 and NH4H2PO4.
Similar content being viewed by others
Introduction
Coal dust can be suspended in mines, causing serious explosion accidents. Explosion of suspended coal dust clouds can bring devastating disasters to mines1. The most important condition for coal dust explosion is that the coal dust cloud is ignited at a certain temperature or energy. If the ignition temperature or energy cannot ignite the coal dust cloud, then the explosion cannot occur2,3. So, ignition temperature is a key factor causing coal dust cloud explosions. After a coal dust cloud explosion, a huge pressure wave will form, providing conditions for secondary or even multiple explosions, making it highly noteworthy4,5. Against the backdrop of the great harm caused by coal dust cloud explosions, research on the suppression of coal dust explosions has attracted increasing attention from scholars6,7. This article focuses on the ignition temperature and pressure characteristics of suspended coal dust clouds under different conditions, as well as the inhibitory effect of explosion suppressants on ignition temperature and pressure.
Scholars have achieved some results in the study of the ignition characteristics and explosion pressure characteristics of dust clouds, mainly focusing on the ignition temperature and energy under different conditions, as well as the propagation process of explosion pressure8,9,10. The research on the mechanism of dust explosion has also been widely discussed. Although the micro mechanism of dust explosion has not been fully understood yet, by comparing the mechanism of dust explosion with that of gas explosion, the micro process of dust explosion has become increasingly familiar to people11,12,13,14,15. Related studies have found that different particle sizes, dust cloud mass concentrations, and ignition temperatures have important effects on explosion pressure16,17,18,19,20,21. In addition, the inhibitory effects of different explosion suppressants on dust explosions have also been studied. Scholars have found that the decomposition process of dust particles under heating conditions is related to many factors. The spatial scale of the explosion can affect the pressure of the explosion, and the type and dosage of explosion suppressants can also affect the effectiveness of explosion suppression.
From the perspective of explosion suppression mechanism, the mechanism of using explosion suppressants to suppress dust explosions mainly includes physical suppression and chemical suppression. Some studies have also found that combining physical and chemical explosion suppression methods may result in better suppression effects22,23,24,25. Regardless of the type of explosion suppression method, scholars prefer to use inexpensive and effective explosion suppressants. On the basis of continuous research on the effectiveness of explosion suppression, research results on the use of mixed explosion suppressants continue to emerge, which will be an important achievement in dust explosion suppression research26,27,28. The selection of explosion suppressants can often refer to fire extinguishing agents. Industrial fire extinguishing agents have excellent fire extinguishing effects, and they also have the same effect in suppressing dust explosions29,30. At present, although some achievements have been made in research on dust explosion suppression, research in this area is still ongoing.
From the above analysis, it can be seen that research on the ignition temperature and pressure characteristics of dust has made certain progress. The changes in ignition temperature under different conditions still need further discussion, and the inhibitory effects of different explosion suppressants on dust explosions have received widespread attention. In the previous research, the author discussed the flame propagation process of coal dust explosion and the influence of ignition energy on coal dust explosion, and used computational fluid dynamics to simulate the propagation process of coal dust explosion31,32,33,34,35. The author's previous research results provide an important foundation for the research of this article. In this article, the author takes suspended coal dust clouds as the research object, analyzes the characteristics of coal dust cloud ignition temperature and pressure changes under different conditions, and then uses different explosion suppressants to study their suppression effects on ignition temperature and explosion pressure. The research results will be of great significance for understanding the explosion characteristics and suppression process of coal dust clouds.
Experimental equipments and samples
Experimental equipments
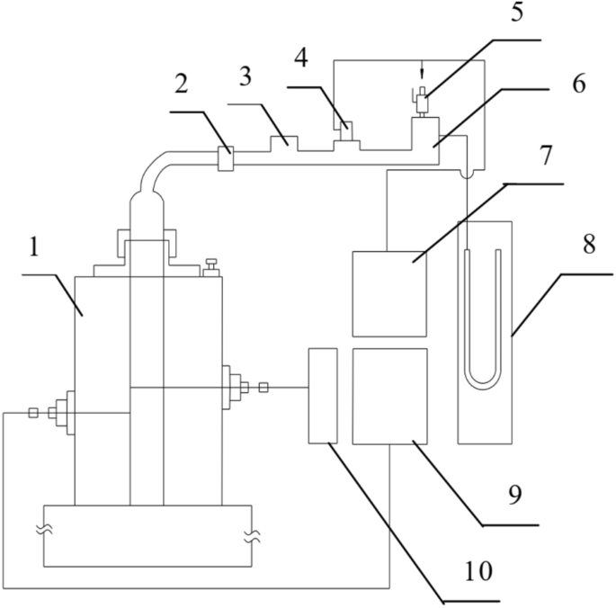
The experiments in this article include testing the minimum ignition temperature of coal dust clouds and measuring the explosion pressure of coal dust clouds. The experimental equipment for testing the minimum ignition temperature of coal dust clouds is shown in Fig. 1. It mainly consists of the heating furnace, the connector, and the dust container, etc. During the testing process, the minimum ignition temperature of suspended coal dust clouds under different conditions can be obtained. Similarly, in explosion suppression experiments, coal dust and explosion suppressants can also be mixed and tested to obtain the effect of different explosion suppressants on the minimum ignition temperature of coal dust clouds.
Experimental equipment for minimum ignition temperature of coal dust clouds. 1 heating furnace; 2 connector; 3 dust container; 4 electromagnetic valve; 5 gate valve; 6 gas tank; 7 power supply; 8 U tube; 9 temperature controller; 10 temperature recorder.
The experimental equipment for testing the explosion pressure of suspended coal dust clouds is shown in Fig. 2. It is mainly composed of the sealing cap, the dispersion valve, the storage tank, and the ignition rod, etc. The suspended coal dust cloud will explode instantly in the equipment, and the pressure curve obtained from the explosion will display the maximum pressure Pmax and the maximum pressure rise rate (dP/dt)max. In coal dust explosion experiments, the ignition energy used is usually 10 kJ, because for coal dust clouds, this order of magnitude of ignition energy can successfully ignite coal dust clouds. After mixing the coal dust and the explosion suppressants, the explosion experiments can be conducted to obtain the effects of different explosion suppressants on explosion pressure.
Structure diagram of explosive device. 1 sealing cap; 2 outer side of mezzanine; 3 inside of mezzanine; 4 vacuum gauge; 5 outlet of water; 6 mechanical two-way valve; 7 base; 8 observation window; 9 vacuum hole; 10 dispersion valve; 11 storage tank; 12 pressure gauge; 13 pressure sensor; 14 inlet of water; 15 limit switch; 16 ignition rod.
Experimental samples
The coal dust samples used in the article were selected from mining areas in northwest China. Figure 3 shows the particles of the experimental coal sample. Usually, micron and nanoscale coal dust carries a significant risk of ignition and explosion. The particle size of the coal dust samples used in this article is in the micrometer scale. The composition of coal samples was tested using industrial and elemental analyzers, and the industrial and elemental analysis results of the coal samples obtained are shown in Table 1. From the industrial analysis results, it can be seen that the fixed carbon content of the coal sample is the largest, indicating that it is the main component of the coal sample, followed by volatile matter. Volatile matter is the combustible gas that will evaporate after the coal sample is heated. The proportion of fixed carbon and volatile matter exceeds 80%, both of which are the main components of coal samples. From the elemental analysis results, it can be seen that carbon is the main element in the coal sample, followed by oxygen, which are also the main elements of organic matter.
Selected experimental coal sample.
In the experiment of suppressing the ignition and explosion of suspended coal dust clouds, the selected suppressants are Al(OH)3, KH2PO4, and NH4H2PO4. They are all typical components of fire extinguishing agents. After mixing the explosion suppressant with coal dust for ignition and explosion experiments, the inhibitory effect of the explosion suppressant on coal dust ignition and explosion can be obtained. Three types of explosion suppressants are shown in Fig. 4, all of which are white powder like particles. Table 2 shows the physical properties of three types of explosion suppressants. Al(OH)3 is insoluble in water, while KH2PO4 and NH4H2PO4 are soluble in water. The explosion suppressant with the highest molecular weight is KH2PO4, and the explosion suppressant with the highest density is Al(OH)3.
Selected explosion suppressants: (a) Al(OH)3, (b) KH2PO4, and (c) NH4H2PO4.
Results and discussion
Ignition temperature and explosion pressure of suspended coal dust clouds
Minimum ignition temperature of suspended coal dust cloud under different conditions
The particle size of the coal samples used in the experiment is less than 75 μm. The minimum ignition temperature of coal dust cloud under the condition of spraying dust pressure of 20 kPa is 983 K, as shown in Table 3. In the confined space of the experimental equipment, at a temperature of 983 K, suspended coal dust clouds are ignited, which is the critical temperature at which coal dust clouds can be ignited. Below this temperature, coal dust clouds cannot be ignited. This test data can provide a basis for understanding the combustion and explosion characteristics of coal dust.
On this basis, the minimum ignition temperature of coal dust clouds can be tested under different spray pressure conditions. The test results are shown in Fig. 5. It can be obtained that when the dust spray pressure is greater than 20 kPa, the minimum ignition temperature of the suspended coal dust cloud increases. When the dust spray pressure is 60 kPa, the minimum ignition temperature is 1123 K. When the dust spray pressure is less than 20 kPa, the minimum ignition temperature of the suspended coal dust cloud increases. When the dust spray pressure is 5 kPa, the minimum ignition temperature is 1133 K. These results indicate that the optimal dust spray pressure is 20 kPa. Under this condition, coal dust clouds are more likely to ignite.
Minimum ignition temperature under different dust spray pressure conditions.
As shown in Fig. 6, the effect of dust spray pressure on the diffusion of coal dust cloud particles in the ignition space is presented. In the experimental equipment, when the dust spray pressure is 20 kPa, the coal dust cloud diffuses more evenly, and more coal dust particles move into the ignition space, forming a suspended coal dust cloud. Due to the heat exchange and transfer between coal dust particles, the coal dust cloud under this condition is more easily ignited. If the spraying pressure is less than 20 kPa, the driving force obtained by coal dust particles is significantly insufficient, and the number of coal dust particles that can enter the ignition space is greatly reduced. The particles are concentrated in the upper part of the space, which weakens the heat exchange between particles. To be ignited, higher temperatures are required. If the spraying pressure is greater than 20 kPa, the power to drive coal dust particles into the ignition space is relatively high. Under the action of gravity, more coal dust will be concentrated below the interior of the ignition space, which is not conducive to the release and exchange of heat from coal dust particles, and the temperature required for ignition will be higher.
Effect of dust spray pressure on ignition of suspended coal dust clouds.
Explosion pressure of suspended coal dust clouds under different conditions
In the explosion pressure test experiment, the dust spray pressure is 2 MPa, the ignition delay time is 0.1 s, and the ignition energy is 10 kJ. According to the experimental results, the maximum pressure of suspended coal dust cloud explosion is 0.78 MPa, and the maximum pressure rise rate is 73.27 MPa s−1, the results are shown in Table 4. Under normal circumstances, the standard atmospheric pressure is 0.1 MPa, and an explosion produces a maximum pressure of 0.78 MPa. The required coal dust is only 10 g. This explosion has a great power, and the concentration of coal dust clouds in the explosion space can reach 500 g m−3. This concentration condition is very favorable for the development of the explosion.
In the explosion pressure experiment mentioned above, the mass of coal dust used is 10 g. The change in coal dust quality will affect the concentration of suspended coal dust clouds in the explosion space. The concentration of coal dust clouds can have a significant impact on explosion pressure. Therefore, in order to study the effect of coal dust cloud concentration on explosion pressure, experiments can be conducted continuously by changing the amount of coal dust used. The relationship between the mass concentration of coal dust cloud obtained from the test and the explosion pressure is shown in Fig. 7. It can be clearly seen that when the mass concentration of coal dust cloud is 500 g m−3, the maximum pressure and maximum pressure rise rate are both the highest, with values of 0.78 MPa and 73.27 MPa s−1, respectively. When the mass concentration of coal dust cloud is less than or greater than 500 g m−3, the maximum pressure and the maximum rate of pressure rise will decrease. This is because if the mass concentration of coal dust clouds is too small, the coal dust particles that release heat are insufficient. If the mass concentration of coal dust clouds is too high, the oxygen required for the explosion will be insufficient. There is a dynamic equilibrium between coal dust particles and oxygen. When the mass concentration of coal dust cloud is 500 g m−3, the suspended coal dust cloud reaches this equilibrium state, and the explosion pressure is also the maximum.
Relationship between mass concentration of coal dust clouds and explosion pressure.
Inhibitory effect of explosion suppressants on ignition temperature and explosion pressure of coal dust clouds
Inhibitory effect of explosion suppressants on ignition temperature of coal dust clouds
In the previous text, the minimum ignition temperature of suspended coal dust clouds under different conditions was obtained. Next, use explosion suppressants Al(OH)3, KH2PO4, and NH4H2PO4 to study their suppression characteristics on the minimum ignition temperature of coal dust clouds. When the dust spray pressure is 20 kPa, the minimum ignition temperature of the coal dust cloud is 983 K. Under this condition, mix different explosion suppressants with coal dust particles separately, and then test the minimum ignition temperature of the mixture. The upper limit for experimental equipment testing is 1273 K. The mass percentage of the explosion suppressant mixed with coal dust is p. The dust particle size of the explosion suppressant is also 0–75 μm. Table 5 shows the minimum ignition temperature of coal dust clouds under different mass percentages of suppressants mixed with coal dust.
As shown in Table 5, the minimum ignition temperature after mixing different explosion suppressants and coal dust significantly increases. When Al(OH)3 is mixed with coal dust and the mass percentage is 60%, the minimum ignition temperature of the coal dust cloud is 1213 K. Under this condition, the coal dust cloud can still be ignited. When KH2PO4 is mixed with coal dust, the upper limit of the test temperature is just reached when the percentage of mixture is 55%. When NH4H2PO4 is mixed with coal dust, the upper limit of the test temperature is also reached when the percentage of mixture is 40%. Based on the above results, the inhibitory effects of three explosion suppressants can be compared, with NH4H2PO4 having the strongest inhibitory effect, KH2PO4 having the second strongest inhibitory effect, and Al(OH)3 having the weakest inhibitory effect. Figure 8 is drawn to compare the inhibitory effects of explosion suppressants. It can also be found that the inhibitory effect of NH4H2PO4 is the greatest. When p is 40%, within the upper limit range of the test temperature, the ignition of coal dust clouds can be completely suppressed.
Inhibitory effect of different explosion suppressants on minimum ignition temperature of coal dust clouds.
The following analyzes the impact of explosion suppressants on the ignition process of coal dust clouds from the perspective of ignition suppression mechanism. After mixing Al(OH)3 with coal dust, under heating conditions, Al(OH)3 will undergo the following chemical reaction: Al(OH)3 → Al2O3 + H2O. The generated Al2O3 will prevent the coal dust particles from releasing heat outward, while the generated H2O will evaporate and absorb heat. When heated to 673 K, KH2PO4 generates KPO3 and H2O. KPO3 will block the heat exchange of coal dust particles, and H2O will be evaporated to absorb heat. Under the heating conditions of NH4H2PO4, P2O5, H2O, and NH3 are generated. P2O5 is a solid product that can prevent heat transfer and absorb space heat. H2O is a liquid product that can evaporate and absorb heat. NH3 is a gas product that can dilute oxygen. Due to the fact that NH4H2PO4 generates more types of products after being heated, it plays a greater role in suppressing the ignition of coal dust clouds.
Inhibitory effect of explosion suppressants on explosion pressure of coal dust clouds
On the basis of the previous discussion on the suppression effect of Al(OH)3, KH2PO4, and NH4H2PO4 on the minimum ignition temperature of suspended coal dust cloud, although the inhibitory effect of different explosion suppressants has been obtained, due to the relatively high cost of NH4H2PO4 dust, it is difficult to use NH4H2PO4 dust alone to suppress the explosion of coal dust in industry. Therefore, in order to reduce the cost, in this part, the mixing of different suppression dust according to different schemes is considered, and the mixed suppression dust is used to study the explosion pressure suppression effect.
The specific explosion test scheme is as follows: the mass of the coal dust sample is still 10 g, of which 100% of the particle size is 0 ~ 75 μm, because the micron sized coal dust particles are explosive, which is convenient to observe the suppression effect. The dust particle size of the explosion suppressant is also 0–75 μm.
In addition, among the three types of explosion suppression dust Al(OH)3, KH2PO4, and NH4H2PO4, since NH4H2PO4 has the greatest suppression effect, we should focus on the results of the explosion suppression experiment with the participation of NH4H2PO4. There are three plans to mix explosive suppression dust, the first is to mix Al(OH)3 and KH2PO4, the second is to mix Al(OH)3 and NH4H2PO4, and the third is to mix KH2PO4 and NH4H2PO4. In these three schemes, the mass percentage of different two types of explosion suppression dust is 50% for both. On this basis, the explosion suppression data obtained from the test are shown in Table 6. Using the data in Table 6, the explosion pressure curve under the condition of mixed explosion suppression dust is drawn, and the results are shown in Figs. 9 and 10.
Suppression of mixed suppression dust on Pmax.
Suppression of mixed suppression dust on (dP/dt)max.
By comparing the explosion suppression effect of mixed explosion suppression dust and single explosion suppression dust, the advantages of mixed explosion suppression dust can be better understood. When using a single type of explosion suppression dust, the best effect of explosion suppression dust is NH4H2PO4, followed by KH2PO4, and the worst is Al(OH)3. As shown in Figs. 9 and 10, under the condition of using mixed explosion suppression dust, the explosion suppression effect of mixing KH2PO4 and NH4H2PO4 in 1:1 ratio is worse than that of using NH4H2PO4 dust alone, because when KH2PO4 and NH4H2PO4 are mixed and the mass percentage of mixed explosion suppression dust is 50%, the maximum explosion pressure and the maximum pressure rise rate are 0.19 MPa and 14.73 MPa s−1, respectively, which is larger than the data of using NH4H2PO4 dust alone for explosion suppression. It shows that reducing the proportion of NH4H2PO4 in the explosion suppression dust will reduce the explosion suppression effect, but it will greatly save the cost to a certain extent. When using KH2PO4 and NH4H2PO4 as the mixed explosion suppression dust, once the mass percentage of suppression dust mixed into coal dust is 60%, the explosion can also be prevented. Therefore, it is proved that selecting the method of KH2PO4 and NH4H2PO4 mixing instead of using NH4H2PO4 alone can also control the explosion to a certain extent. This analysis result is of great significance for explosion suppression research, because the explosion suppression effect of NH4H2PO4 is indeed better than that of KH2PO4, reducing the percentage of NH4H2PO4 will certainly reduce the explosion suppression effect.
Further analysis shows that the explosion suppression effect of mixing Al(OH)3 and NH4H2PO4 is not as good as that of mixing KH2PO4 and NH4H2PO4. When Al(OH)3 and NH4H2PO4 are mixed and the mass percentage of the suppression dust mixed into coal dust is 60%, the explosion is still not completely suppressed. The maximum pressure and the maximum pressure rise rate of the explosion are 0.16 MPa and 18.62 MPa s−1, respectively. When the mass percentage of suppression dust increases to 70%, the explosion will not occur again. Therefore, in terms of the explosion suppression effect, the explosion suppression effect of mixture Al(OH)3 and NH4H2PO4 is not as good as that of mixture KH2PO4 and NH4H2PO4.
Finally, the explosion suppression characteristics under the condition of mixing Al(OH)3 and KH2PO4 are discussed. From the test data, it can be seen that the explosion suppression effect after mixing Al(OH)3 and KH2PO4 is the worst among the three types of mixing schemes. When the mass percentage of suppression dust mixed into coal dust is 80%, the maximum explosion pressure and the maximum pressure rise rate are respectively 0.15 MPa and 18.20 MPa s−1. The explosion does not occur until the mass percentage of the explosion suppression dust is increased to 90%, which is not ideal by comparison. The above analysis results are of great significance for understanding the suppression effect of coal dust cloud explosion pressure under different mixed conditions of explosion suppressants.
Conclusions
In this article, suspended coal dust clouds are selected as the research object, and the ignition temperature and pressure characteristics of coal dust clouds under different conditions are analyzed. The inhibitory effects of different explosion suppressants on the ignition and explosion of coal dust clouds are obtained. The specific conclusions are as follows.
By testing the ignition temperature and explosion pressure of coal dust clouds under different conditions, it is found that the optimal dust spray pressure is 20 kPa, because coal dust clouds are more likely to ignite under this condition. When the mass concentration of coal dust cloud is 500 g m−3, the maximum pressure and maximum pressure rise rate are both the highest, indicating that there is a dynamic equilibrium between coal dust particles and oxygen.
After mixing different explosion suppressants with coal dust and testing the ignition temperature, it is found that when Al(OH)3 is mixed with coal dust and the mass percentage is 60%, the coal dust cloud can still be ignited. When KH2PO4 is mixed with coal dust, the upper limit of the test temperature is reached when the percentage of mixture is 55%. When NH4H2PO4 is mixed with coal dust and the mass percentage is greater than 40%, the coal dust cloud can’t be ignited anymore.
By analyzing the pressure suppression characteristics of coal dust cloud explosion under different mixed conditions of explosion suppressants, it is found that the suppression effect of mixing Al(OH)3 and NH4H2PO4 is not as good as that of mixing KH2PO4 and NH4H2PO4. When Al(OH)3 and NH4H2PO4 are mixed and the mass percentage is 60%, the explosion is still not completely suppressed.
Data availability
All data generated or analysed during this study are included in this published article.
References
Eckhoff, R. K. Current status and expected future trends in dust explosion research. J. Loss Prev. Process Ind. 18, 225–237 (2005).
Joseph, G. Combustible dusts: A serious industrial hazard. J. Hazard. Mater. 142, 589–591 (2007).
Niu, Y. H., Zhang, L. L. & Shi, B. M. Experimental study on the explosion-propagation law of coal dust with different moisture contents induced by methane explosion. Powder Technol. 361, 507–511 (2020).
Wang, Y. et al. Influences of coal dust components on the explosibility of hybrid mixtures of methane and coal dust. J. Loss Prev. Process Ind. 67, 65–77 (2020).
Lin, S., Liu, Z. T., Qian, J. F. & Li, X. L. Comparison on the explosivity of coal dust and of its explosion solid residues to assess the severity of re-explosion. Fuel 251, 438–446 (2019).
Amyotte, R. P. & Eckhoff, R. K. Dust explosion causation, prevention and mitigation: An overview. J. Chem. Health Saf. 17, 15–28 (2010).
Cao, W. G. et al. Experimental study on the combustion sensitivity parameters and pre-combusted changes in functional groups of lignite coal dust. Powder Technol. 283, 512–518 (2015).
Yan, X. Q. & Yu, J. L. Dust explosion venting of small vessels at the elevated static activation overpressure. Powder Technol. 261, 250–256 (2014).
Cheng, Y. F. et al. Influential factors on the explosibility of the unpremixed hydrogen/magnesium dust. Int. J. Hydrogen Energy 45, 34185–34192 (2020).
Cheng, Y. F. et al. Combustion behaviors and explosibility of suspended metal hydride TiH2 dust. Int. J. Hydrogen Energy 45, 12216–12224 (2020).
Cheng, Y. F. et al. Hybrid H2/Ti dust explosion hazards during the production of metal hydride TiH2 in a closed vessel. Int. J. Hydrogen Energy 44, 11145–11152 (2019).
Zhu, C. et al. Experimental study on the effect of bifurcations on the flame speed of premixed methane/air explosions in ducts. J. Loss Prev. Process. Ind. 49, 545–550 (2017).
Cao, W. G. et al. Under-expansion jet flame propagation characteristics of premixed H2/air in explosion venting. Int. J. Hydrogen Energy 47, 1402–1405 (2021).
Cao, W. G. et al. The flow field behaviours of under-expansion jet flame in premixed hydrogen/air explosion venting. Int. J. Hydrogen Energy 47, 10420–10430 (2022).
Zhang, P. et al. Explosions of gasoline-air mixture in the tunnels containing branch configuration. J. Loss Prev. Process. Ind. 26, 1279–1284 (2013).
Cao, W. G. et al. Experimental and numerical study on flame propagation behaviors in coal dust explosions. Powder Technol. 266, 456–462 (2014).
Gao, W., Mogi, T., Sun, J. H., Yu, J. & Dobashi, R. Effects of particle size distributions on flame propagation mechanism during octadecanol dust explosions. Powder Technol. 249, 168–174 (2013).
Gao, W., Mogi, T., Sun, J. H. & Dobashi, R. Effects of particle thermal characteristics on flame structures during dust explosions of three long-chain monobasic alcohols in an open-space chamber. Fuel 113, 86–96 (2012).
Eckhoff, R. K. Understanding dust explosions. The role of powder science and technology. J. Loss Prev. Process Ind. 22, 105–116 (2009).
Houim, R. W. & Oran, E. S. Structure and flame speed of dilute and dense layered coal-dust explosions. J. Loss Prev. Process Ind. 36, 214–222 (2015).
Kosinski, P. & Hoffmann, A. An investigation of the consequences of primary dust explosions in interconnected vessels. J. Hazard. Mater. 137, 752–761 (2006).
Wei, X. R. et al. Study on explosion suppression of coal dust with different particle size by shell powder and NaHCO3. Fuel 306, 224–239 (2021).
Liang, G. Q., Dai, H. M., Yin, H. P., Zhao, Q. & Chen, X. F. Inhibition characteristics of coal dust explosion at the gasification atmosphere. Adv. Powder Technol. 32, 3725–3734 (2021).
Dai, H. M., Liang, G. Q., Yin, H. P., Chen, X. F. & He, S. Experimental investigation on the inhibition of coal dust explosion by the composite inhibitor of carbamide and zeolite. Fuel 308, 121981 (2022).
Liu, Q. M., Hu, Y. L., Bai, C. H. & Chen, M. Methane/coal dust/air explosions and their suppression by solid particle suppressing agents in a large-scale experimental tube. J. Loss Prev. Process Ind. 26, 310–316 (2013).
Cao, W. G., Cao, W., Liang, J. Y., Xu, S. & Pan, F. Flame-propagation behavior and a dynamic model for the thermal-radiation effects in coal-dust explosions. J. Loss Prev. Process Ind. 29, 65–71 (2014).
Cao, W. G. et al. Experimental and numerical studies on the explosion severities of coal dust/air mixtures in a 20-L spherical vessel. Powder Technol. 310, 17–23 (2017).
Song, Y. F., Nassim, B. & Zhang, Q. Explosion energy of methane/deposited coal dust and inert effects of rock dust. Fuel 228, 112–122 (2018).
Wang, X., Huang, X. W., Zhang, X. Y., Zhang, Y. S. & Zhang, Y. Q. Numerical simulation of coal dust explosion suppression by inert particles in spherical confined storage space. Fuel 253, 1342–1350 (2019).
Lu, K. L., Chen, X. K., Zhao, T. L., Wang, Y. Y. & Xiao, Y. The inhibiting effects of sodium carbonate on coal dust deflagration based on thermal methods. Fuel 315, 122–135 (2022).
Liu, T. Q. et al. Experimental and numerical study on coal dust ignition temperature characteristics and explosion propagation characteristics in confined space. Combust. Sci. Technol. 195, 2150–2164 (2023).
Liu, T. Q. et al. Flame propagation and CO/CO2 generation characteristics of lignite dust explosion in horizontal pipeline. Int. J. Low-Carbon Tec. 16, 1384–1390 (2021).
Liu, T. Q. et al. Research on ignition energy characteristics and explosion propagation law of coal dust cloud under different conditions. Math. Probl. Eng. 11, 21–28 (2021).
Liu, T. Q., Cai, Z. X., Wang, N., Jia, R. H. & Tian, W. Y. Prediction method of coal dust explosion flame propagation characteristics based on principal component analysis and BP neural network. Math. Probl. Eng. 6, 41–49 (2022).
Liu, T. Q. et al. Flame propagation characteristics of deposited coal dust explosion driven by airflow carrying coal dust. J. Chem. Eng. Jpn. 54, 631–637 (2021).
Acknowledgements
The authors are very grateful for the funding provided by the National Natural Science Foundation of China (Grant No. 12102271) for the research of the paper.
Author information
Authors and Affiliations
Contributions
T.L.: he is mainly responsible for experimental design and data processing. X.M., R.J., Z.G.: he is mainly responsible for analyzing the results of explosion data. X.W., J.X.: he is mainly responsible for drawing figures and analyzing data.
Corresponding author
Ethics declarations
Competing interests
The authors declare no competing interests.
Additional information
Publisher's note
Springer Nature remains neutral with regard to jurisdictional claims in published maps and institutional affiliations.
Rights and permissions
Open Access This article is licensed under a Creative Commons Attribution 4.0 International License, which permits use, sharing, adaptation, distribution and reproduction in any medium or format, as long as you give appropriate credit to the original author(s) and the source, provide a link to the Creative Commons licence, and indicate if changes were made. The images or other third party material in this article are included in the article's Creative Commons licence, unless indicated otherwise in a credit line to the material. If material is not included in the article's Creative Commons licence and your intended use is not permitted by statutory regulation or exceeds the permitted use, you will need to obtain permission directly from the copyright holder. To view a copy of this licence, visit http://creativecommons.org/licenses/by/4.0/.
About this article
Cite this article
Liu, T., Mu, X., Wu, X. et al. Ignition temperature and explosion pressure of suspended coal dust cloud under different conditions and suppression characteristics. Sci Rep 13, 14804 (2023). https://doi.org/10.1038/s41598-023-42117-x
Received:
Accepted:
Published:
Version of record:
DOI: https://doi.org/10.1038/s41598-023-42117-x












