Abstract
Under the strict differential limit requirements related to post construction subsidence of high-speed railway subgrade, the residual deformation of the surface is susceptible to a lasting and serious threat to the preliminary standardized construction and later safe operation of high-speed railway in goaf site. In order to comprehensively and effectively grasp the dynamic evolution process of surface movement and deformation, and realize the scientific and accurate residual deformation calculation of each key point of the surface in goaf, the Gudermann time function for dynamic anticipation is established by introducing the Gudermann function and optimizing it, the spatial and temporal characteristics of this function in the subsidence prediction are analyzed, and the influence law of parameter changes on the surface subsidence, subsidence velocity and subsidence acceleration curve patterns of the Gudermann time function is discussed, and the method of extracting the optimal values of the function parameters by Simulated Annealing Algorithm (SAA) is presented. Combined with the probability integral method, the calculation method of the residual subsidence at any point of the ground surface is proposed. Finally, 1176 east working face is adopted for verification, and the results show that the mean absolute error (MAE) and mean absolute percentage error (MAPE) of using the Gudermann time function for maximum subsidence point estimation are 40.23 and 0.17 respectively, and the determinable coefficient is 0.993, and the estimated value matches with the measured value. The Gudermann time function can be effectively adopted for the calculation of the residual deformation of the surface in goaf, while SAA is calculated at different times, the contour diagrams clearly show that residual subsidence increases gradually along the mining direction and reaches the maximum value at the surface near the stopping line, which is consistent with the actual mining process of the working face and proves the feasibility of the model calculation method. The accurate calculation of residual deformation provides an essential basis for judging the stability of goaf site.
Similar content being viewed by others
Introduction
China’s high-speed railways have developed rapidly, with a total length of 37,900 km of high-speed railway operations in China by the end of 20201, and by 2035, the total length of China’s high-speed railways will reach 70,000 km2. As the high-speed rail network takes shape, some key lines inevitably pass through goaf sites.Surface movement and deformation in the goaf is a complex spatio-temporal problem3, and the limit of the subsidence millimeter level after the construction of the high-speed railway subgrade puts forward strict requirements for the deformation control of the goaf foundation4. Among them, the foundation deformation of the goaf is mainly composed of three parts: stratigraphic compression deformation, residual deformation of the goaf surface, and activation deformation5.The residual deformation of the goaf surface refers to the surface deformation caused by mining after the start of the construction of the project, and its moving deformation is small but the time process is long, which will still have an important impact on the safety of linear engineering6. Therefore, how to comprehensively and accurately calculate the residual deformation of the surface has become an important task for the feasibility assessment of high-speed railway construction at the goaf site.
The residual deformations include the surface movement deformation that has not been completed during the period of land movement and the deformation of the earth after the period of movement, which can be obtained by deducting the dynamic movement deformation that has occurred on the surface after the final static movement deformation after the surface stabilization. At present, the static prediction represented by the probability integral method is more sufficiently studied, and the dynamic prediction is usually realized by the static prediction model combined with the time function.Recent studies on the spatiotemporal characteristics of residual deformation in goaf areas have laid a critical foundation for optimizing surface movement prediction models. Shi et al. (2020) analyzed the time-series effects of multi-seam mining on surface subsidence, demonstrating that cumulative mining activities significantly exacerbate residual deformation near stopping lines7. Bai et al. (2022), in their investigation into the formation mechanisms of residual deformation in longwall goafs, highlighted the pivotal role of time-dependent strata compression in post-mining stability8. Meanwhile, Ding et al. (2019) conducted a numerical study on the stability of surrounding rock in fractured roof roadways, offering theoretical insights into parameter selection for time functions under complex geological conditions9. Collectively, these studies underscore that the cornerstone of constructing precise prediction models lies in developing time functions that accurately capture the dynamic evolution of surface subsidence.
In the past few decades, scholars at home and abroad have conducted a lot of research on the time function used to predict the dynamic deformation of the goaf surface. At present, the commonly used time functions can be divided into three categories: the first is the single-parameter time function, of which the Knothe time function is easily preferred in engineering practice by virtue of its simple parameters10, but there are differences between the subsidence velocity and sedimentation acceleration and the actual process of surface subsidence11.The second class is double-reference time functions, including Sroka-Schober, segmented Knothe, Logistic, Gompertz, Weibull, MMF, and other most-time functions12,13,14,15,16,17; Most of the double-parameter time functions are exponential functions, which have the characteristics of fewer parameters and better expected effects, but some double-parameter time functions have problems that are not fully consistent with the spatio-temporal characteristics of actual surface subsidence.The third category is multi-parameter time functions, such as Richards and Bertalanffy18,19; The multi-parameter time function has the advantages of high expected accuracy and wide application range, but the difficulty of parameter determination limits its general use.
The above study shows that the key to the time function that can be applied to the prediction of surface movement deformation is to conform to the actual characteristics of surface subsidence. However, the ideal time function not only conforms to the objective laws of actual surface subsidence in terms of surface subsidence, subsidence velocity and subsidence acceleration, but also should have the characteristics of simple expression and moderate number of parameters.More importantly, the ideal time function should also meet the actual requirements of the corresponding project in terms of the estimated accuracy of surface subsidence.
Recent explorations have also considered mathematically established functions like the Gudermann function (gd(x)), originally defined by Christof Gudermann in 183020. While historically applied in hyperbolic geometry, its S-shaped symmetry and bounded derivatives (matching subsidence acceleration-deceleration phases) show untapped potential for mining subsidence. However, no prior study has adapted it as a time function in this field.To this end, this paper introduces and optimizes the Gudermann function to become a double-parameter time function, and demonstrates the spatio-temporal completeness of the tangent time function, and discusses the influence of its parameter changes on the morphology of the function curve. Based on the minimum root mean square error between the measured value and the predicted value, the global optimal solution of the time function parameter is sought by Simulated Annealing Algorithm (SAA).Combined with the probability integral method, on the basis of the final surface subsidence prediction, the calculation method of residual subsidence at any surface point in the goaf site is proposed. Taking the 1176 east working surface as an example, the test is carried out according to the measured subsidence data of the form point of the ground, and the applicability of the Gudermann time function in the dynamic prediction of surface subsidence is proved. The residual subsidence of the working surface is calculated, indicating that the method can provide a reference for the suitability evaluation of the construction of the goaf site.
Gudermann time function and its analysis
Establishment of the Gudermann time function
According to the change process and basic laws of surface subsidence, the Gudermann function is improved to obtain a time function suitable for dynamic prediction of surface subsidence, that is
where: φ(t) is the Gudermann time function; q1 and q2 are parameters related to geological mining conditions.
If the maximum subsidence value after a point on the surface is stable after moving steadily is Sm, then the subsidence value of t at a certain point at a certain time is S(t).
Gudermann time function characteristic analysis
In order to systematically analyze the spatio-temporal completeness of the Gudermann time function in the estimated surface subsidence, the first-order derivative and the second-order derivative of Eq. (2) are performed, respectively, and the subsidence velocity v(t) and the sedimentation acceleration a(t) at a certain moment are respectively:
From Eq. (2) to (4), it can be seen that the Gudermann time function has the following characteristics in terms of surface subsidence, subsidence velocity and subsidence acceleration.Coordinate System: For all subsidence-time plots (including Fig. 1), we define the horizontal axis as time (t) and the vertical axis as subsidence (S(t)), with positive subsidence values increasing downward (i.e., representing downward movement).
-
(1)
Over the origin. When t = 0, S(0) = 0, v(0) = 0 and a(0) = 0 can be obtained, indicating that the subsidence curve, subsidence velocity curve and subsidence acceleration curve of the Gudermann time function all pass through the coordinate origin, which is in line with the actual situation of the initial subsidence of the surface.
-
(2)
Monotonicity. Since both q1 and q2 are positive numbers, when a reasonable value is taken, v(t) > 0, so S(t) can be a monotonic augmentation function variable with time t as the variable.
-
(3)
Bounded. According to the mathematical properties of the Gudermann function, when t = 0, S(0) = 0. Because the time t during surface subsidence is positive, when t → + ∞, the φ(t) = 1, so the Gudermann time function is bounded, and S(t) converges on Sm.
-
(4)
Concavity and convexity. The surface subsidence curve has a concave arc and a convex arc, which is “S-shaped”. The surface subsidence curve starts from the origin with a convex downward shape (i.e., initially bending downward), reaches the inflection point where it transitions to a concave downward shape (i.e., bending upward), and gradually tends to Sm. The time coordinate of the inflection point is also the moment when the subsidence velocity reaches the maximum value.
Through the above analysis, it can be seen that the surface subsidence, subsidence velocity and subsidence acceleration represented by the Gudermann time function are consistent with the actual characteristics of surface subsidence, and meet the basic requirements of the ideal time function in terms of space-time change.
Discussion of Gudermann time function parameters
The surface movement and deformation of the goaf are affected by various factors such as coal seam production, rock cover lithology and mining technical conditions. Discussing and analyzing the effects of each factor individually is complex. Therefore, with the help of reasonable values of the time function parameters, the comprehensive influence of various factors on the movement of the earth surface is expressed. Let Sm=2000 mm and analyze the influence of each parameter value in the Gudermann time function on the change of the function curve, and the result is shown in Fig. 1.
-
(1)
Discussion of parameter q1
It can be seen from Fig. 1 that when q2 = 4.0, with the increase of q1 value, the intensity of surface movement deformation increases, the interval of the initial period of the total movement period is shortened, and the trailing of the subsidence curve during the recession period is enhanced. The time for the subsidence velocity to reach the maximum is moved forward, and the maximum sedimentation velocity increases.
-
(2)
Discussion of parameter q2
According to Fig. 1, when q1 = 5e-10, as the value of q2 increases, the steeper the subsidence curve and the shorter the time for the subsidence curve to approach the convergence value. This shows that under the influence of mining, the more active the movement of the overlying rock layer, the shorter the time for the movement effect to spread to the surface.
From the above analysis, it can be seen that the size of Sm does not determine the curve morphology of the functional model, and the codirectional change of q1 and q2 has a synergistic effect on the curve morphology of the functional model. Therefore, by reasonably determining the values of q1 and q2, the Gudermannt time function can reasonably describe the dynamic change process of surface subsidence.
Variations curves of surface subsidence, subsidence velocity and subsidence acceleration based on Gudermann time function
SAA-based solution method for time function parameters
The key task of dynamic prediction using the time function lies in the effective identification of the function parameters, in order to extract the optimal solution of the Gudermann time function parameters within the feasible solution range, this paper introduces SAA for parameter optimization, and with the help of the root mean square error (RMSE) that can accurately measure the error level between the measured value and the predicted value as the objective function, as shown in Eq. (5). Therefore, the Gudermann time function parameter solving problem is turned into an optimization problem for the minimum objective function value.
where F is the value of the target function (mm); Sz(tj) is a point on the surface at the observation time tj(d, where j = 1,2,…,n; n is the measured subsidence value (mm) at the number of observations).
SAA is a stochastic optimization method based on Monte Carlo’s iterative solution strategy21. The basic idea of the algorithm is that under the initial solution of a certain setting, accompanied by a series of Markov chains generated when the control parameters decline, the process of repeated perturbation to generate new solutions and the process of probabilistic acceptance of new solutions using the law of random acceptance can be used, so that in the process of algorithm iteration, it can jump out of the local optimal solution and eventually tend to the global optimal solution. Although the algorithm is prone to low convergence efficiency or inability to converge feasible solutions in global search, the convergence anomaly can be avoided by taking the optimal solution by multiple consecutive independent operations.
The parameters of the SAA solution time function can be divided into the following 6 processes:
-
(1)
Set the initial temperature ti (let i = 0), the end temperature te, the temperature decay coefficient α, and randomly generate the initial state s0 in the feasible solution area of the parameter;
-
(2)
Randomly perturbate the current state s0 in the feasible solution region, obtain a new state s1, and calculate the objective function value F(s1) of s1 and F(s0) of s0;
-
(3)
If min{1,exp[-(F(s1)-F(s0))/ti]} > rand, rand is a uniform random number in the (0,1) interval, then s1 is accepted as the new current state, i.e. s0 = s1; Otherwise, s1 is not accepted and the current state s0 is retained;
-
(4)
If the Metropolis sampling stabilization criterion is met, transfer to step 5; Otherwise, turn to step 2;
-
(5)
Annealing operation: ti+1 = αti, i = i + 1;
-
(6)
If the algorithm termination criterion is met, the algorithm ends and the current search results are output; Otherwise, go to step 2.
The configuration of the initial parameters should match the complexity of the actual problem, achieving a relative balance between algorithm performance and runtime. When the initial temperature is relatively high, the temperature decay is relatively slow, and the end temperature is relatively low, it can increase the probability of the SAA search for the optimal solution22.
Calculation of residual surface subsidence in Goaf
Rectangular work surface probability integral model
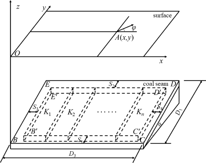
The probabilistic integration method is widely used in static prediction of surface movement and deformation23. For horizontal or gently inclined coal seams, and the mining face is rectangular, the surface subsidence calculation model is shown in Fig. 2. where xoy is the earth’s surface coordinate system, and rectangular BCDE is the coal seam mining boundary. Under the influence of the inflection point offset distance, the rectangle \(B^{\prime}C^{\prime}D^{\prime}E^{\prime}\) is the calculated outer boundary of the coal seam working unit.
Calculation model of surface subsidence in rectangular working face of horizontal or gently slope coal seam.
Trend calculation length l and tendency working surface calculation length L available formula (6) ~ (7) calculation.
where: D3 is the directional length (m); D1 is length along the dip direction (m); S1 and S2 are the inflection point offset distances (m) in the direction of descending and ascending the mountain; S3 and S4 are the inflection point offset distances (m) for the left and right bounds; θ0 is the angle of propagation of the mining influence (°); The α is the seam inclination (°).
The final subsidence value of any surface point A (x, y) caused by the mining of the entire face Sm(x, y) can be calculated in Eq. (8)24.
where Smax is the maximum subsidence value of the surface (m), that is, Smax = Mqcosa, where M is the seam mining thickness (m) and q is the subsidence coefficient; d is the flat distance (m) between the actual downhill mining boundary and the origin, that is, d = (H1-S1sina) cotθ-S1cosa; r1, r2 and r are the main influencing radii (m) of descent, uphill and direction, respectively, i.e. r1 = H1/tanβ1, r2 = H2/tanβ2, r = H/tanβ; H1 and H2 are the boundary mining depths of downhill and uphill mining respectively (m); H is the depth of the main section of the direction (m); Tanβ1, tanβ2 and tanβ are the tangents of the main influence angles for descending, ascending and direction, respectively.
Subsidence at any point on the surface is dynamically predicted
The impact of mining on the surface can be seen as the sum of the impacts of mining on the surface of each work cell11.As shown in Fig. 2, the working surface is divided into n working units, defined as K1, K2,.,Kn, respectively; The trending dimensions of each work unit are v1 t1, v2 t2,.,vn tn, respectively. Among them, the propulsion speed and time required for each work unit are defined as vi and ti, respectively.It can be seen from the literature25 that the trending size of the work unit is determined according to 0.1H0 (H0 is the average depth of the working surface), which can meet the accuracy requirements of the actual project.
Combined with Eq. (8), the surface subsidence values S1 (x, y), S2(x, y),…, Sn(x, y) caused by independent mining of each work cell can be obtained.
However, Eq. (9) ~ (11) are calculated as the static maximum surface subsidence value induced by the independent mining of each work unit, but each work unit is extracted sequentially along the direction of the trend, and the impact of t on the surface subsidence at a certain time is different in duration and the degree of participation is also different. Therefore, the participation of each unit of work can be measured by the time function, so as to obtain the subsidence value in which each unit of work participates at a certain time.
The value of the time function is in the range of [0,1], and after the first working unit is mined, the surface subsidence experience is the longest, the degree of participation in the surface subsidence is the largest, and the time function value is closest to 1. After that, the mining of the work cell causes the surface subsidence experience to gradually decrease, the participation is gradually reduced, and the time function value is reduced in turn. Therefore, at a certain point t, the length of time experienced by the mining of each work unit causing surface subsidence is t, t-t1, …, t-t1-…-tn−1, the value of the time function corresponding to each unit of work is:
Where: φ (t-t1-··· -tn−1) is the time factor corresponding to the nth unit of work at a certain moment t, and the meaning of the residual formulas can be obtained by analogy.
Under the influence of mining activities, the total surface subsidence value is obtained by superimposing the subsidence values involved by each working unit after mining26, and the dynamic estimation of subsidence at any surface point at a certain time is as follows:
Calculation of residual subsidence at any point on the surface
The residual deformation of the surface of the goaf is a complex problem involving time and space, and the residual deformation value of any surface point can be obtained by subtracting the deformation value completed at the beginning of the project construction by the maximum deformation value caused by the mining of the goaf without considering the activation deformation caused by the load of the earth surface building (structure) and other factors.
From the principle of superposition, it can be seen that when all the time function values of Eq. (15) are 1, the final subsidence value of any surface point can be obtained, and the residual subsidence value △S(x, y, t) is calculated as:
This subtraction calculation can be reduced to a time composite function dominated by q, and the residual subsidence coefficient qs is calculated as:
where qw is the settling coefficient of the completed deformation.
Combined with the Gudermann time function, the subsidence coefficient qw of the completed deformation is calculated as:
Substitute formula (18) into formula (17).
In the calculation of residual sedimentation, the residual subsidence coefficient qs in Eq. (19) is replaced by the subsidence coefficient q in formulas (9) to (11) and (15), and the residual subsidence at any surface point can be estimated. Due to space limitations, this paper only gives the estimated method of residual subsidence at any surface point, and other surface moving deformation indicators such as tilt, curvature, horizontal movement, horizontal deformation and other residual deformation values can be obtained by the above methods.
Project instance validation
Overview of geological mining conditions
The east working surface of Qianjiaying Mine 1176 is located in Tangshan City, Hebei Province27, with a long direction of 996 m, a tendentious length of 160 m, an average propulsion speed of 2.5 m/d, an average coal seam thickness of 2 0.8 m, an average mining depth of 472 m, a coal seam inclination angle of 5 ° to 16 °, and an average inclination angle of 11 °, which is a slowly inclined coal seam. The subsidence coefficient is 0.96, the mining depth of the downhill mining boundary is 525 m, the mining depth of the uphill mining boundary is 419 m, the tangent of the main influence angle of the direction is 1.76, the tangent of the main influence angle of the downhill direction is 1.77, the tangent of the main influence angle of the uphill direction is 1.68, the mining influence propagation angle is 83.4°, the inflection point offset distance is 0.05H0, the mining method is comprehensive mining, and the roof management method is the full collapse method to manage the roof. The working surface is arranged along the slope of two observation lines (eastern and western), taking into account that the observation of the western line deviates from the surface moving basin, so the subsidence data of the observation eastern line is selected for study.
Gudermann time function expected effect analysis
The measured value of the time series of the maximum subsidence point on the eastern line is selected, and the estimated model of surface subsidence based on the Gudermann time function is verified. First, according to the time series number of measured subsidence data, the initial parameters in SAA are set as follows: t0 = 500, te = 0.01, α = 0.95.Second, perform 20 consecutive independent solution operations, and the result of the objective function value obtained by each operation is shown in Fig. 3. Finally, take the optimal value of the parameter corresponding to the value of the smallest objective function, that is, P1 = 2.51e-10, P2 = 4.25. As can be seen from Fig. 3, except for the objective function value of the 11th operation, the objective function value of each of the other times is between 50.10 and 51.15, and the minimum objective function value appears in the 8th operation, and its value is 50.10.
Change curve of objective function value in continuous. independent solving operation
Comparisons between measured values and predicted values of the maximum subsidence point of surface observation.
The comparison results of the measured value and the predicted value are shown in Fig. 4, which shows that the two generally coincide, except for the large deviation between the estimated value and the measured value at individual time points. Among them, the maximum and minimum values of the absolute value of the prediction error are 100.93 mm and 1.41 mm, respectively.
To further evaluate the prediction performance, Equations (20) to (23) were applied to calculate the Mean Absolute Error (MAE), Mean Absolute Percentage Error (MAPE), and Coefficient of Determination (R²) between predicted and measured values using the Knothe, Logistic, and Gudermann time functions, assuming negligible measurement errors28. The results are summarized in Table 1.
Wherein: S(tj) is the predicted subsidence value (mm) at the observation time tj at a certain point on the surface; \(\overline {S}\)is the average of the measured settling values (mm).
As evidenced by the comparative data in Table 1, the proposed Gudermann time function achieves significantly lower Mean Absolute Error (MAE = 40.23 mm) and Mean Absolute Percentage Error (MAPE = 0.17%) compared to the widely adopted Knothe time function (MAE = 263.22 mm, MAPE = 1.26%). Furthermore, it demonstrates superior predictive accuracy over the dual-parameter Logistic time function (MAE = 48.72 mm, MAPE = 0.20%), while its Coefficient of Determination (R² = 0.9926) approaches unity more closely than both counterparts (R² = 0.7590 for Knothe and 0.9746 for Logistic). These metrics collectively confirm that the Gudermann time function robustly satisfies the requirements for rational prediction of dynamic surface subsidence in goaf areas, offering enhanced reliability in capturing spatiotemporal deformation patterns.
Calculation of residual surface subsidence in Goaf
According to the relevant specifications29, when H0 > 400 m, T0 = 1000exp (1-400/H0), where T0 is the surface movement continuation time (d) and the surface movement continuation time is 1165d. Measured data show that23, when the length and width of the goaf reach and exceed 1.2H0 ~ 1.4H0, the ground is fully mobilized. According to the geological mining conditions, the mining of this face is inclined to be insufficient. Therefore, the subsidence value at any point on the surface is less than the maximum subsidence value that should be under the geological mining conditions. In order to show the change law of the residual deformation of the working surface, the residual deformation calculation is carried out at T = 400 d, 600 d and 1200 d respectively, and the change process of the residual subsidence is displayed by contour plot, and the result is shown in Fig. 5. Table 2 is the maximum value of the residual deformation of the surface at different times (absolute values).
Dynamic development process of surface residual subsidence in goaf at different times
The dotted rectangular area in Fig. 5 calculates the range of the working surface taking into account the dual influence of the inclination angle of the coal seam and the offset distance of the inflection point. The projected results show that the residual subsidence contour plot of the goaf surface will be “elliptical” after the completion of the mining work. Spatially, the residual settling increases along the direction of the work surface, with the maximum occurring on the surface near the mine line. In terms of time, the residual sedimentation gradually decreases as time increases. When T = 1200 d, the surface near the starting mining line tends to be stable, and there is still a large residual subsidence on the surface around the mining line.
According to the mining process, the mining time of the working cell near the mining line is the earliest, and after the completion of the mining of the working surface, the surface above it undergoes a relatively long period of moving deformation, and the residual subsidence is relatively small, while the first tends to a stable state, and then the working unit is gradually mined along the mining direction. Therefore, the closer the work cell is to the mine line, the later the mining time, and after the completion of the working surface mining, the shorter the time for the nearby surface to undergo moving deformation, the larger the residual subsidence, and the later it tends to a stable state.
According to Fig. 5; Table 2, it can be seen that the residual deformation gradually decreases over time, and at the same time, in space, the farther away from the starting line, the greater the residual deformation of the measurement point, which indicates that the calculation results of the residual deformation are consistent with the actual mining situation, and at the same time, the feasibility of the Gudermann time function is again demonstrated.
Conclusions
Accurate prediction of residual deformation of the goaf site plays an important role in the safety of high-speed railway construction. In order to calculate the residual deformation of each point on the surface of the goaf, the Gudermann function is introduced, the Gudermann time function for dynamic prediction is established, and the influence of parameter changes on the surface subsidence, subsidence velocity and subsidence acceleration curve morphology of the Gudermann time function is analyzed. The main conclusions are as follows:
-
(1)
This paper proposes a Gudermann time function, which has a simple formula, a moderate number of parameters, and conforms to the spatiotemporal variation characteristics of surface subsidence, which can be used as an ideal time function in dynamic estimation.
-
(2)
Global optimization with the help of SAA is conducive to obtaining more accurate function parameters. With the help of the static prediction method of final surface subsidence based on the probabilistic integration model, the calculation method of residual subsidence at any surface point in the goaf site is proposed.
-
(3)
Combined with the engineering examples, it is estimated that the optimal values of the function parameters are P1 = 2.48e-10 and P2 = 4.25, the corresponding average absolute error and the average absolute percentage error are 40.23 and 0.17, respectively, and the decision coefficient is 0.993, indicating that the Gudermann time function can achieve effective dynamic prediction, and explaining the feasibility of the SAA algorithm for parameter solving.
-
(4)
The residual subsidence of the goaf surface increases along the direction of the working surface propulsion, and the maximum value of the surface is close to the mine stop line, which is consistent with the actual surface subsidence development process, which verifies the correctness and reliability of the model built.
-
(5)
The current time function parameter acquisition is mainly based on the fitting of the measured settlement data, and the SAA algorithm proposed in this paper is also based on the measured data for parameter optimization, so it is not suitable for the lack of measured data. Next, we will discuss the applicability of various time functions in different mining areas, and give a method for determining the time function parameters based on the mining geological conditions of the mining face.
Data availability
The datasets generated during and/or analyzed during the current study are available from the corresponding author upon reasonable request. Correspondence and requests for materials should be addressed to Wenchang Wang.
References
Chen, J. High-speed rail and energy consumption in china: the intermediary roles of industry and technology[J]. Energy 230, 120816 (2021).
Editorial Office of Railway Quality Control. Outline of powerful Nation railway advance planning in the new era[J]. Railway Qual Control , 48(9):1–624 (2020).
Lian, X. et al. Extending Dynamic Models Min. subsidence[J] Trans. Nonferrous Met. Soc. China, 21: 536–542. (2011).
Ren, L. et al. Research status and prospect on deformation control of high-speed railway subgrade in Goaf site [J]. J. China Coal Soc. 46 (8), 2534–2547 (2021).
Ren, L. et al. Case study on suitability and subsidence of foundation in Goaf site[J]. Rock. Soil. Mech. 39 (8), 2922–2932 (2018).
Ding, P. et al. Analysis and evaluation of land subsidence along linear engineering based on InSAR Data[J]. KSCE J. Civ. Eng. 25 (9), 3477–3491 (2021).
Shi, Z. et al. Time series effect on surface deformation above Goaf area with Multiple-Seam mining. Symmetry 12 (9), 1428 (2020).
Bai, E. et al. Characteristics and formation mechanism of surface residual deformation above Longwall abandoned Goaf. Sustainability 14 (23), 15985 (2022).
Ding, K. et al. Numerical investigation on factors affecting stability of roadway surrounding rock with fractured roof. Geotech. Geol. Eng. 37, 2373–2385 (2019).
Hu, Q. et al. Model for calculating the parameter of the Knothe time function based on angle of full subsidence[J]. Int. J. Rock Mech. Min. Sci. 78, 19–26 (2015).
Cui, X. et al. Discussion on the time function of time dependent surface movement[J]. J. China Coal Soc. 24 (5), 453–455 (1999).
Kwinta, A., Hejmanowski, R. & Sroka, A. A time function analysis used for the prediction of rock mass subsidence[C]. Proceeding of the International Symposium on Mining Science and Technology, Xuzhou: Balkema, : 419–424. (1996).
Chang, Z. & Wang J.Study on time function of subsidence: the improved Knothe time function[J]. Chin. J. Rock Mechan. Eng. 22 (9), 1496–1499 (2003).
Xu, H. & Liu, X. Time function of surface subsidence based on logistic growth model[J]. Rock. Soil. Mech. 26 (S1), 151–153 (2005).
Yu, C. & Liu, S. A. Study on prediction of embankment subsidence with the Gompertz model[J]. Rock. Soil. Mech. 26 (1), 82–86 (2005).
Wang, W. & Liu, T. Study on prediction model of soft foundation subsidence based on Weibull curve[J]. Rock. Soil. Mech. 28 (4), 803–806 (2007).
Wang, J. et al. Studay on prediction of surface subsidence in mined-out region with the MMF Model[J]. J. China Coal Soc. 37 (3), 411–415 (2012).
Wang, Z. & Deng, K. Richards model of surface dynamic subsidence prediction in mining area[J]. Rock. Soil. Mech. 32 (6), 1664–1668 (2011).
Gao, C. et al. Dynamic surface subsidence prediction model based on Bertalanffy time function[J]. J. China Coal Soc. 45 (8), 2740–2748 (2020).
Shi, Y. et al. Gudermann function and its application for solving nonlinear evolution equations [J]. J. Northwest. Normal University(Natural Science). 02, 37–41 (2015).
Kirkpatrick, S. et al. Optimization by simulated Annealing[J]. Sci. (American Association Advancement Science). 220 (4598), 671–680 (1983).
Liu, A. et al. Chaotic simulated annealing particle swarm optimization algorithm research and its application[J]. J. Zhejiang Univ. (Engineering Science). 47 (10), 1722–1730 (2013).
He, G., Yang, L. & Ling, G. Mining Subsidence science[M] (China University of Mining and Technology, 1991).
Ma,., Wu, C. & Gao, Y. Evaluation of the Influence of Residual Deformation above mined-out Area on the Stability of Urban Rail transit[J]4140–49 (Coal Geology & Exploration, 2013). 1.
Wu, K. et al. Distribution law of ground crack induced by coal mining[J]. J. China Univ. Min. Technol. 26(2): 56–59 (1997).
Zhang, B. et al. Dynamic prediction of mining-induced subsidence for any surface point based on optimized time function[J]. Coal Sci. Technol. 48 (10), 143–149 (2020).
Pang, Q. & Zhang, D. Research on surface movement law at 1176 observing station of East Qianjiaying coal Mine[J]. Mine Surveying, (2): 62–64. (2004).
Dun, Z. et al. Dynamic Prediction of Goaf Surface Subsidence and Calculation of Residual Deformation Based on time Function Combination model[J/OL]. Journal of China Coal Society. 47 (S1), 13–28 (2022).
Specification of the People’s Republic of China. GB 51044 – 2014 Code for Investigation of Geotechnical Engineering in the Coal Mine goaf[S] (China planning, 2014).
Acknowledgements
National Natural Science Foundation of China (U23A20600).
Author information
Authors and Affiliations
Contributions
Haiguang Du and Wenchang Wang wrote the main manuscript.Zhilin Dun and Lianwei Ren provided the main guidance.Yakun Nan prepared figures 5.
Corresponding author
Ethics declarations
Competing interests
The authors declare no competing interests.
Additional information
Publisher’s note
Springer Nature remains neutral with regard to jurisdictional claims in published maps and institutional affiliations.
Rights and permissions
Open Access This article is licensed under a Creative Commons Attribution-NonCommercial-NoDerivatives 4.0 International License, which permits any non-commercial use, sharing, distribution and reproduction in any medium or format, as long as you give appropriate credit to the original author(s) and the source, provide a link to the Creative Commons licence, and indicate if you modified the licensed material. You do not have permission under this licence to share adapted material derived from this article or parts of it. The images or other third party material in this article are included in the article’s Creative Commons licence, unless indicated otherwise in a credit line to the material. If material is not included in the article’s Creative Commons licence and your intended use is not permitted by statutory regulation or exceeds the permitted use, you will need to obtain permission directly from the copyright holder. To view a copy of this licence, visit http://creativecommons.org/licenses/by-nc-nd/4.0/.
About this article
Cite this article
Du, H., Wang, W., Dun, Z. et al. Study on the calculation of surface residual deformation in goaf based on the Gudermann time function. Sci Rep 15, 27723 (2025). https://doi.org/10.1038/s41598-025-13623-x
Received:
Accepted:
Published:
Version of record:
DOI: https://doi.org/10.1038/s41598-025-13623-x







