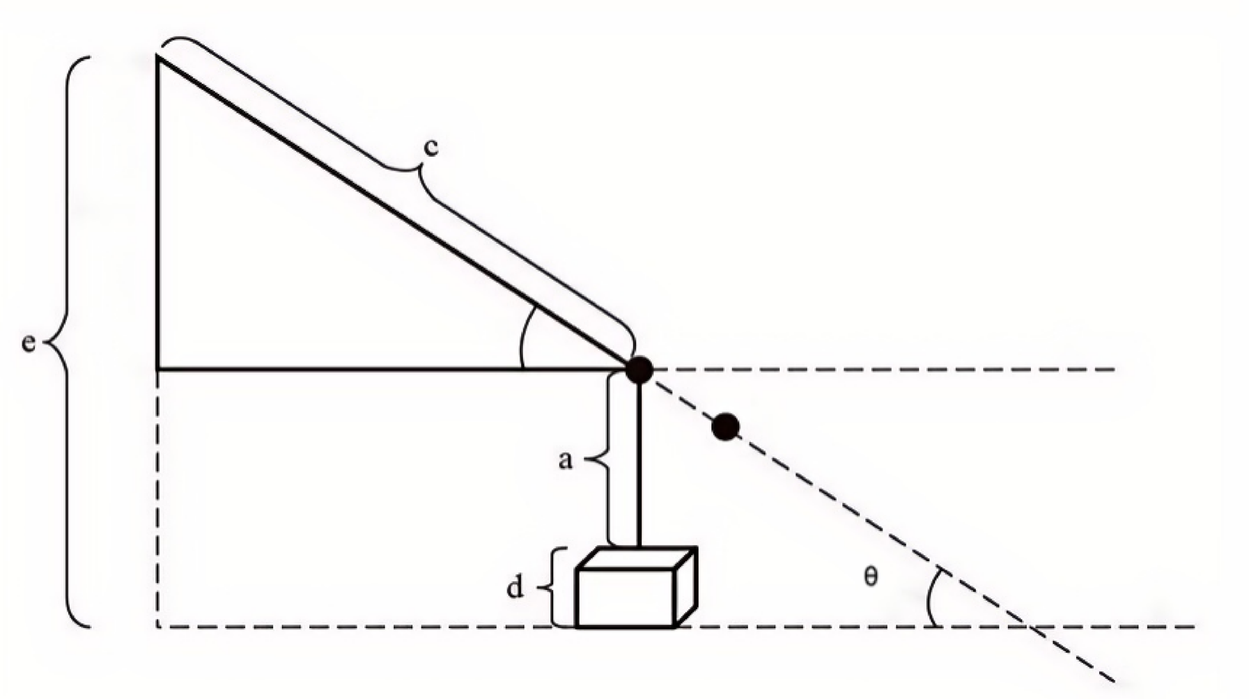
Fig. 2
From: A predictive model for vertical ground reaction force during incline push-ups

Diagram of feet-elevation height. a, arm length (acromion to wrist center with the elbow extended); c, torso length (acromion to greater trochanter) in standing; d, force-platform height; e, required feet-elevation height; θ, target incline angle.