Fig. 10
From: Design research on a smart infusion device to reduce medical workload and enhance patient safety

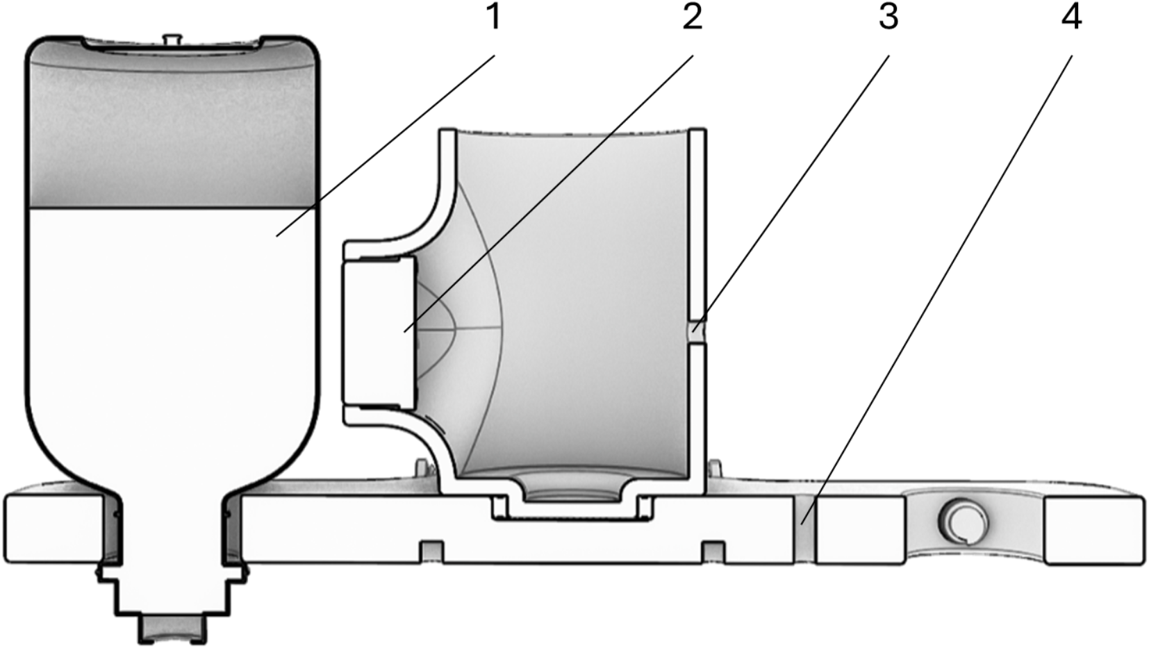
Cross-section diagram of the liquid level monitoring mechanism: (1. monitored liquid level, 2. liquid level sensor, 3–4. wiring hole).
From: Design research on a smart infusion device to reduce medical workload and enhance patient safety

Cross-section diagram of the liquid level monitoring mechanism: (1. monitored liquid level, 2. liquid level sensor, 3–4. wiring hole).