Abstract
Stroke-induced hemiplegia is a major cause of long-term disability, often leading to lower limb deformities and abnormal gait. Ankle-foot orthoses (AFO) have shown effectiveness in improving these conditions, but limited research explores the benefits of combining AFO therapy with balance training. This study aimed to explore the effects of combining balance training exercises with orthotic intervention on various gait characteristics in stroke patients with lower limb paralysis. This randomized controlled trial (RCT) involved 32 patients, 12–18 weeks post-stroke, randomized into two groups: balance training only (n = 16) and balance training with orthotics (n = 16). Gait performance was evaluated at baseline and post intervention using the Timed Up and Go Test (TUG) and 10-Meter Walk Tests. The combination therapy group showed significant improvements in gait parameters. For the 10-Meter Walk Test, the mean pre-intervention speed was 0.31 ± 0.03 m/s, and post-intervention speed was 0.40 ± 0.03 m/s. In the TUG test, mean pre-intervention time was 27.04 ± 2.04 s, and post-intervention time was 20.55 ± 2.30 s (p < 0.05). These improvements were greater than those observed in the balance-only group. The combination of balance training and AFO therapy significantly improves gait in chronic hemiplegic stroke patients. This approach offers a promising rehabilitation strategy to enhance functional mobility and quality of life in stroke survivors.
Similar content being viewed by others
Introduction
Stroke is a leading cause of long-term disability worldwide, and it occurs when disrupted blood flow to the brain deprives tissue of oxygen and nutrients, leading to neurological damage often resulting in hemiplegia, which significantly impairs balance, mobility, and functional independence. Around 80% of strokes are ischemic (blocked blood flow), while 15% result from intracerebral hemorrhage which causes bleeding into the brain1. Ischemic stroke restricts blood and glucose supply due to narrowed vessels, while hemorrhagic stroke results from bleeding in or around the brain. Hemiplegia, marked by paralysis or weakness on one side is common in hemiplegic stroke patients as these patients commonly experience gait disturbances due to muscle weakness, abnormal tone, and impaired proprioception, increasing their risk of falls and limiting their ability to perform daily activities2. Stroke-induced neurological deficits can impair movement, sensation, perception, and language on the side opposite the brain injury, whether from bleeding or ischemia3. Effective rehabilitation strategies are essential to improve post-stroke recovery and enhance patients’ quality of life especially as the number of stroke survivors, particularly among older adults, continues to rise4. Most stroke survivors experience functional limitations, particularly with movement, which is a major impairment5. Balance and orthotic gait training are essential in stroke rehabilitation to improve walking, restore mobility, and prevent falls. Various techniques, including task-specific balance exercises, weight-bearing training, and the use of orthotic devices, have been developed to facilitate gait retraining and improve postural stability. However, the effectiveness of different rehabilitation approaches remains a topic of ongoing research6. Gait analysis measures spatiotemporal properties like walking speed, stride length, step width, support phases, and cadence7,8. Observational analysis is basic, but adding standardized tests like the Timed Up & Go (TUG) and Ten Meter Walk Trial (10mwt) enhances evaluation9,10,11.
Hiroaki Abe et al.12 demonstrated that plastic ankle-foot orthoses can recover spatiotemporal gait constraints in sixteen stroke patients with hemiparesis showing improvements in the walking speed, cadence, step length, and step width with the use of PAFO. A systematic review by Moseley et al.13 highlighted that there is a need for well-made randomized controlled trials to better assess the efficacy of ankle-foot orthoses in improving balance and gait outcomes in adults with hemiplegia. Gok et al.14 analyzed the mechanical effects of metallic and plastic AFOs on severely affected hemiparetic stroke patients using spatiotemporal assessments. Both AFOs improved gait parameters, including cadence, walking speed, step length, and ankle dorsiflexion, with metallic AFOs showing superior dorsiflexion enhancement. Elsayed et al.15 studied chore-specific exercises and visual biofeedback for correcting equinovarus gait in sixteen stroke patients in G1 (chore-specific exercises, gait training, and biofeedback) or G2 (traditional therapy). G1 showed significant, lasting improvements, while G2 had no notable enhancement. Lee et al.16 examined Heel-Raise-Lower Exercises (HRLEs) in post-stroke individuals, comparing heel raise block-supported (HRB) and level-floor (HRL) variations and yielded superior gains by HRB in paretic side strength, gait speed, and cadence. Tomioka et al.17 investigated the immediate effects of combination therapy involving repetitive facilitative exercises and ankle-foot orthosis management in chronic post-stroke patients with limited mobility and motor function and there was significant improvement in lower extremity motor function, ambulation, and performance on clinical trials.
Hiengkaew et al.18 assessed the test-retest reliability and minimal detectable changes (MDC) of balance and gait in chronic stroke patients with varying ankle plantarflexor tone and it showed excellent reliability. Shimodozono et al.19 and Kawahira et al.20 examined repetitive facilitative exercise (RFE) combined with AFO use versus conventional rehabilitation, it was found that combination therapy significantly improved gait patterns, highlighting the benefits of integrated rehabilitation than conventional therapy. Mayer et al.21 studied locomotor control, which integrates passive and active forces through anticipatory and reactive strategies. Gait reflexes are phase-dependent, and dysfunction often presents as significant asymmetrical deficits. Lindquist et al.22 and Chen et al.23 combining functional electrical stimulation (FES) with body weight support (BWS) improved motor recovery and gait patterns, highlighting its effectiveness in stroke rehabilitation. Tyson et al.24 systematic review analyzed 20 trials (314 participants) on AFO effects in post-stroke gait. AFOs improved ankle kinematics, knee kinematics in stance phase, kinetics, and energy cost. Carse et al.25 studied the immediate effects of custom solid AFOs in early stroke rehabilitation, there were significant improvements in walking speed, step length, and cadence. Pizzi et al.26 evaluated the Wisconsin Gait Scale (WGS) for assessing qualitative changes in post-stroke hemiplegic gait for tracking progress and guiding personalized rehabilitation. Wellmon et al.27 assessed a post-acute gait training program in hemiplegic patients using the Wisconsin Gait Scale (WGS) as it is a reliable tool for evaluating gait quality, kinematics, symmetry, balance, and assistive device use in neurorehabilitation. Etoh et al.28 studied hemiplegia rehabilitation using RFE combined with neuromuscular electrical stimulation (NMES), vibratory stimulation (DAVS), and repetitive transcranial magnetic stimulation (rTMS). RFE with NMES/DAVS versus RFE with rTMS was compared to determine the optimal combination for stroke recovery. Scheimanck et al.29 studied implantable FES for the common peroneal nerve in chronic stroke patients with drop foot using an AFO. FES improved ankle plantarflexion, paretic leg power, and step length symmetry.
Rodriques et al.30 evaluated hemiplegic gait using the Wisconsin Gait Scale (WGS), analyzing gait deviations, weight-bearing, and weight shift. The study examined WGS item relationships, its correlation with functional status, motor recovery, gait velocity, and the impact of unilateral neglect, proprioceptive deficits, and affected side. Monger et al.31 analysed the gait patterns and concluded that a combined task-specific training program and specific strengthening exercises improved the gait pattern in stroke patients. Rhyu et al.32 studied the effects of training on diverse surfaces (TDS) on balance and gait in older male stroke patients. TDS improved static and dynamic balance as well as gait velocity. Daryabor et al.33 compared the effects of different AFOs on functional outcomes in chronic and subacute stroke patients and concluded that AFOs improve ambulation and functional performance. Zarezadeh et al.34 conducted a study and found that the favorable benefits of the AAFO and PLS AFO on functional ambulation were noteworthy. PLS AFO allowed hemiplegic patients to walk farther than they could with shoes. Bonanno et al.35 reviewed gait analysis systems for neurorehabilitation, including wearable sensors (WS) and non-wearable sensors (NWS) to assess gait and balance in neurological patients, aiding early intervention and personalized therapy. Anwar et al.36 worked on rehabilitation of upper limb motor impairment in stroke and found VR has now emerged as the modern approach towards rehabilitation motor activity of impaired limbs. Hussain et al.37 worked on virtual reality as non-conventional rehabilitation for stroke and found VR-based rehabilitations can be beneficial in restoring post-stroke upper limb functions and improving routine life of survivors.
This study evaluates the impact of balance and orthotic gait training on rehabilitation outcomes in hemiplegic stroke patients. By assessing their effectiveness in enhancing stability, gait mechanics, and functional mobility, it aims to provide evidence-based recommendations for optimizing stroke rehabilitation. While past research emphasized task-specific exercises and robotic-assisted therapy, the growing recognition of combined balance training and assistive devices like AFOs has shifted the focus. Despite their crucial role in gait restoration, literature on these techniques remains limited. This study seeks to enhance lower limb function and mobility in chronic hemiplegic stroke patients and refine rehabilitation protocols for improved gait outcomes.
Methods
Participants
Total of 32 post-stroke subjects were recruited from two rehabilitation centers i.e. Al-Nafees Medical College and Hospital in Islamabad, and Benazir Bhutto Hospital (BBH) in Rawalpindi between January-June 2021. Inclusion criteria involved unilateral hemiplegia resulting from ischemic or hemorrhagic stroke for at least 3 months past, aged 40–60 years. This age range is selected because stroke and disabilities due to stroke are common in middle aged individuals and as they have more natural muscle, less bone degeneration and they are more willing to return to their daily life activities the intervention has better rehabilitation outcomes. Whereas individuals < 40 years of age have faster neuroplasticity and recovery which can affect the balance and gait training and patients > 60 years of age have reduced neuroplasticity and comorbidities can reduce the rehabilitation outcomes. The study findings are relevant to 40–60 years age group which shows the efficacy of balance and orthotic gait training in younger and older individuals. Individuals 12–18 weeks in subacute phase were included as it is critical window where rehabilitation interventions are effective due to neuroplasticity and recovery potential. Patients in the acute phase show dramatic recovery whereas in the chronic phase neuroplasticity declines and impairments tend to stabilize and there will be smaller improvements. Exclusion criteria comprised the presence of conditions, other than stroke, that could affect balance, such as Parkinson’s disease, cerebral traumas, vertigo, vestibular diseases, and posterior cerebral artery (PCA) stroke with cortical blindness. Additionally, individuals with cognitive impairments and concurrent gait disorders resulting from acute or subacute musculoskeletal issues that could influence patient gait were excluded. The data collection and experimental protocol received approval from the NUST ethical committee under Ref# NUST/SMME/BMES/ETH/092020/0047. Subjects were asked to sign the consent form before participating. All methods were carried out in accordance with relevant guidelines and regulations.
Study design
32 individuals with persistent hemiplegic stroke will participate in an RCT. A sealed envelope method will be used, and the sample will be split into two groups, experimental group (Table 1) and the control group (Table 2) display the participant’s statistical characteristics. The randomization procedure was conducted by an independent individual who was not involved in any aspect of the study. This person used a sealed-envelope method to equally allocate participants into the experimental group (n = 16) and the control group (n = 16). As the rehabilitation techniques in my study required active participation from the therapists, clinicians, prosthetists and orthotists, so blinding was not used for the therapists, prosthetists, and orthotists who were conducting the intervention. However, to lessen the possibility of assessment bias, outcome assessors were blinded to group assignment.
Balance exercises
The ABC scale of balance confidence, the TUG test, and the 10MWT are among the data collection techniques that will be used for pre- and post-intervention assessment. Traditional balance training will be done with 10 repetitions in each set, 3 sets per session, and 1 session per day will be given to the control group for 4 weeks, 3 times every week). Balance exercises includes sitting balance exercises (sitting, standing, single leg stance) and dynamic balance exercises (weight shifting, tandem walking, stepping exercises). Exercises for balance will involve standing with your feet together (a “narrow base support”), standing with one foot directly in front of the other (a “tandem position”), standing with your eyes open and your eyes closed, standing with a multidirectional functional reach, and other similar movements like walk diagonally and march in place.
AFO and balance training will be given to the experimental group for duration of four weeks (10 repetitions in each set, 3 sets per session, 1 session per day, 3 days a week, wearing time of AFO 6 h daily after exercise). Adherence to the prescribed 6 h/day of AFO usage was monitored through patient self-reported logs. AFO will be composed of 4 mm polypropylene sheet with thick medial and lateral sides to give the ankle and foot better stability. In the beginning and end of each therapy session, both groups will participate in five minutes of stretching and breathing exercises as well as warm-up and cool-down activities. Additionally, the individuals were assigned to intervention groups to avoid bias. A standardized rehabilitation program was followed by all the participants, and outcome assessors were blinded to adherence levels, for further decreasing bias.
To minimize the severity of confounding factors, the study carefully selected participants within a specific demographic range, including only patients aged 40–60 years with unilateral hemiplegic stroke. To ensure eligibility their identities were verified through official identification documents. Each participant had been clinically diagnosed with a hemorrhagic stroke affecting the cerebellum, with confirmation obtained through CT/MRI scans conducted by experienced clinicians. The interdisciplinary approach of the study incorporated both the clinicians and physiotherapists, ensuring a comprehensive evaluation of stroke severity and its functional consequences. All assessments were performed only after obtaining informed consent, ensuring ethical compliance and patient awareness. To assess the extent of impairments and functional limitations, physiotherapists conducted in-depth subjective assessments using a combination of patient-reported symptoms, structured clinical interviews and direct observation of movement patterns. Patients were encouraged to describe their personal experiences related to numbness, weakness, movement difficulties, loss of sensation, pain, and activity-related fatigue in detail. These self-reported symptoms provided valuable insights into the daily challenges faced by stroke survivors. In addition to patient narratives, physiotherapists performed real-time observational analyses to assess muscle tone abnormalities, spasticity, and gait disturbances during functional tasks. Movement patterns were evaluated through tasks such as walking, standing, reaching, and posture maintenance to identify biomechanical inefficiencies and compensatory strategies. Patients were selected based on clinicians’ and physiotherapists’ assessments of their symptoms, movement patterns, and progression onset. Those with severe spasticity or chronic conditions were excluded.
Orthotic gait training
Lower limb orthotic gait training involves the use of devices such as ankle-foot orthoses (AFOs), knee-ankle-foot orthoses (KAFOs), or other assistive devices to improve walking mechanics, balance, and mobility in individuals with lower limb impairments. Polypropylene was chosen due to its favorable properties, such as lightweight durability, flexibility, and cost-effectiveness, which make it suitable for fabricating custom-made assistive devices/orthoses which are aimed at improving gait. Rigid ankle foot orthosis from 3 mm polypropylene sheet was made for the patients suffering from gait impairments to provide stability, to reduce risk of falls and for functional ambulation.
This type of training is common in stroke rehabilitation, spinal cord injury, cerebral palsy, and other conditions that affect gait. It improves gait mechanics (e.g., stride length, cadence, foot clearance), enhance stability and reduce the risk of falls, promote functional ambulation in daily and community environments and address specific impairments such as foot drop, knee instability, and spasticity. Gait training assessment is done through biomechanical, functional and orthotic assessment.
Training progression includes initial training, dynamic training and advanced training. Initial Training: Focuses on postural control and static balance, including weight shifting, sit-to-stand transitions, and assisted walking with support. Dynamic Training: Emphasizes functional mobility, incorporating tandem walking, stepping over obstacles, and unsupported stance exercises. Advanced Training: Enhances adaptive gait and endurance, involving dual-task activities, obstacle navigation, and community ambulation. It improves gait symmetry, enhance stability, promote weightbearing on the affected side and encourage neuroplasticity. Balance exercises includes sitting balance exercises (sitting, standing, single leg stance) and dynamic balance exercises (weight shifting, tandem walking, stepping exercises). Adjustments were made based on regular assessments of participants’ balance performance, prosthetist and orthotist and therapist observations during sessions with follow-ups.
Measurement system
Ink footprint method
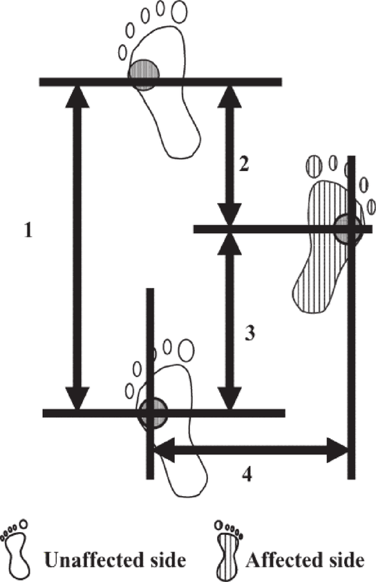
Improvements in walking speed, endurance, and functional independence were evaluated using standardized outcome measures (e.g., 10-Meter Walk Test, Timed Up and Go Test). The ink footprint method on paper walkways is a traditional and cost-effective approach to analyze spatiotemporal gait parameters. This method involves recording footprints on a prepared surface as a person walks, and the resulting data provides insight into gait patterns. Use a long sheet of paper (3–6 m) placed on a flat, stable surface. Apply washable ink or dye to the soles of the participant’s feet, or use ink pads for controlled application. The participant walks barefoot or wearing thin socks/shoes coated with ink at a comfortable speed. Allow the ink footprints to dry before analysis. Mark start and end points for consistency in measurements.
By systematically analyzing spatiotemporal parameters using the ink footprint method (Figs. 1 and 2), clinicians and researchers can assess gait characteristics, identify abnormalities, and monitor progress during rehabilitation or training. Ink footprint method is a cost-effective technique to assess spatiotemporal gait parameters and it has been validated in previous studies as a reliable method for gait analysis and basic measurements but it may lack the precision for advanced motion control systems. It has this limitation but it was chosen for this study as it captured meaningful changes in gait patterns in controlled way. The TUG and 10MWT directly measure the physical aspects of balance and gait recovery, which are key objectives of the study. The tests collectively assess parameters that can contribute to independence, such as walking ability, mobility, and balance confidence. As the primary focus was on spatiotemporal gait parameters so secondary measures were not utilized.
The ink footprint method is a reliable and a valid approach for evaluating fundamental spatiotemporal gait parameters, which includes step length, stride length, and gait symmetry. Its validity lies in its direct measurement of spatial metrics, though its precision for temporal parameters is limited and it often necessitates additional tools. While spatial parameters demonstrate good reliability under standardized conditions, inconsistencies may arise from factors such as surface variability and manual measurement techniques. Although this method is affordable and widely accessible, it lacks the precision of advanced technologies and may slightly influence natural gait patterns. Therefore, proper standardization and meticulous application can Therefore, proper standardization and meticulous application can enhance its effectiveness38,39.
Activities specific balance confidence (ABC) scale
The (ABC) Scale is a self-reported questionnaire which is designed to measure an individual’s confidence in performing various activities without losing balance or becoming unsteady. The ABC Scale consists of items, each describing a different activity. Respondents rate their confidence in completing each activity without losing balance for example walking around the house, standing on tiptoes to reach an object, picking up a slipper from the floor, walking up or down a flight of stairs etc. This tool is widely used in rehabilitation and physical therapy to assess balance confidence, particularly in individuals with balance impairments individuals with vestibular disorders and stroke survivors. In this survey, the patient self-reports his level of comfort performing particular tasks by selecting one of the percentages from 0% (no confidence) to 100% (full confidence) is assigned for each activity. 80–100% indicate high level of physical functioning and balance confidence, 50–79% indicate moderate level of confidence, potentially indicating some balance concerns or fear of falling. <50% indicate low confidence, suggesting a high risk of falls and possible need for intervention38.
Timed up and go (TUG) trial
A trustworthy way to gauge functional performance is (TUG), which records transfers, gait, and turning movements. The (TUG) Test is a simple, quick, and widely used assessment tool to evaluate mobility, balance, walking ability. A standard armchair with a seat height of about 46 cm and a line on the floor 3 m (10 feet) away from the chair is marked. The participant should wear their regular footwear and use their usual walking aids if needed (e.g., cane or walker). Begin seated in the chair with their back against the backrest and arms resting on the armrests. On the command “Go,” the participant stands up, walks to the 3-m line, turns around, walks back to the chair, and sits down. The test is performed at a comfortable and safe walking speed. Start timing when the participant begins to move from the chair. Stop timing when the participant is seated again. < 10 s: Normal for healthy, independent adults. The subject of this test is instructed to get up from a chair, then walk three meters, turn around, get back in the chair, and then sit down. We are utilizing dynamic balance in this study. 11–20 s: Normal for frail elderly or individuals with mild mobility issues. > 20 s: Indicates impaired mobility, higher risk of falls, or dependence on assistance39,40.
10 m walk trial
For quantitative gait analysis, this will be used. Various Temporal-Spatial factors, such as gait speed (measured in meters per second), step length, and stride length, will be evaluated during the 10-meter walk trial (with marker method). The (10MWT) is a simple and reliable assessment tool used to measure walking speed over a short distance. It evaluates functional mobility, gait performance, and walking endurance. Measure and mark a 10-meter straight pathway on a flat, unobstructed surface. Mark additional distances: 2 m at the start and end for acceleration and deceleration (total distance = 14 m). The participant starts at the designated starting point (outside the 10-meter timing zone). On the command “Go,” they walk at their preferred walking speed (or maximum walking speed if specified) along the pathway. Timing begins when their leading foot crosses the first 10-meter mark and stops when their leading foot crosses the second 10-meter mark. The primary outcome is the walking speed in meters per second (m/s): Walking Speed (m/s) = Time (seconds)/Distance (10 m) < 0.4 m/s: Severe mobility limitations; often require assistance for daily activities. 0.4–0.8 m/s: Moderate mobility limitations; may require assistance for community ambulation. > 0.8 m/s: Independent community ambulator; lower risk of adverse outcomes41.
Each test has strong psychometric properties, making them effective tools for assessing balance confidence, mobility, and walking ability. The ABC Scale excels in understanding perceived balance confidence, the TUG Test provides a quick functional assessment, and the 10MWT offers precise, objective data on walking speed. Together, these tools provide a comprehensive evaluation of mobility and fall risk38.
Statistical analysis
The paired t-tests were used to compare pre and post-intervention outcomes within groups. The paired design increases the sensitivity to identify the effects of the intervention by controlling for inter-individual variability. 95% confidence intervals and p-values for demographic comparisons were considered. The averages/means and standard deviations of two related groups were compared using the paired t-test in SPSS to see if there was a statistically significant difference between the two groups before and after intervention. During analysis, the values of the TUG test and gait parameters including speed, stride length, step length in the experimental group were considered statistically significant with a p value of less than 0.05 and a 95% confidence interval.
Results
The difference in values of gait parameters such as pre-tug and post-tug, pre-step length and post-step length, pre-stride length and post-stride length, pre-speed and post-speed of control group G1 after the intervention of balance exercises alone been given to them showed less improvement in the group as compared to the experimental group G2 after the combination therapy intervention consisting of balance exercises and AFO been given to them which showed more improvement in the group as compared to the control group and it is shown graphically in Figs. 3, 4, 5 and 6 respectively.
Discussion
The aim of the current study was to assess which of the rehabilitation techniques was effective in refining the gait pattern of hemiplegic stroke patients, the balance exercises alone in one group or the combination therapy consisted of balance exercises and AFO in the other group. The combined effects of the intervention, which is AFO use and balance exercises are responsible for the observed improvements in the gait metrics. For instance, by the use of ankle foot orthoses the movements like dorsiflexion was supported, foot drop was decreased, and there was a more symmetrical gait cycle, and hence there was an increased gait stability. All these mechanical adjustments improved proprioceptive feedback and motor learning. The neuroplasticity was increased due to task specific training and exercises which promoted motor control and cortical reorganization. The neural pathways were involved which led to increased improvements. The improvements in gait parameters were the result of enhanced muscle strength, balance, postural stability and lower limb co-ordination. AFOs can provide mechanical stability to the ankle joint by limiting the plantarflexion and dorsiflexion movements, can enhance proprioception by joint alignment by combining balance exercises which stimulate muscle activation on the affected side promoting weight bearing thus allowing smooth gait coordination and forward progression during gait which can be observed through improvements in spatiotemporal gait parameters such as increase in step length, stride length and speed. Balance and gait interventions enable the patients to achieve independence and to improve quality of life. The results of the study displayed that the legs performance and functional mobility of the patients with chronic hemiplegic stroke was improved in the experimental group after receiving combination therapy which consisted of balance exercises and AFO and there was statistically significant improvement in the ABC Scale, TUG, 10MWT. However, no statistically significant improvement was found in the control group.
An opinion about the reported improvement in the presentation of the lower limb and functional mobility of the patients with chronic hemiplegic stroke with the help of balance exercises alone is inconsistent in the existing limited evidence. All these figures illustrate the pre- and post-intervention effects on gait parameters, including pre- and post-TUG, step length, stride length, and speed, for both the control and experimental groups. The control group, which received balance exercises alone, showed less improvement compared to the experimental group, which underwent balance exercises combined with AFO. The experimental group demonstrated notable increases in gait parameters. Each feature was measured independently using the study’s measurement system, and presenting them solely as text descriptions would diminish their impact. Balance training alone is not sufficient to address biomechanical changes faced by stroke patients such as in case of ankle instability and foot drop, it alone may not fully activate neural pathways needed for gait improvements. These limitations can result in compensatory gait patterns which persist without additional mechanical support provided by AFOs which enhance motor learning by providing stability. The combined use of AFOs and balance exercises targets both biomechanical and neurological deficits. Studies on AFOs have reported to improve spatiotemporal parameters of gait but unlike prior studies that typically focus on either AFO or balance exercises this study highlights the synergistic effects of combining both interventions.
However, the findings of the current study related to the combination therapy consisting of balance exercises and AFO are in accordance with the study conducted by Kazutoshi Tomioka. The researchers in this study investigated about the short-term effects of combination therapy which is consisting of repetitive facilitative exercises and orthotic treatment such as an AFO. It was found that the Fugyl Meyer assessment, Stroke Impairment Assessment Set, TUG and 10MWT were considered to be significantly improved after the intervention17.
Evidence suggests that rigid ankle foot orthosis improved functional mobility of the patients with stroke with a p value of < 0.05. This pattern was studied in detail by Verma et al. in 201311. According to the results of the study, significant increases were found in the cadence, stride length, step length and speed with the use of plastic AFO as compared to the non-usage of AFO. However, the participants who were not being able to ambulate at their own either on the flat surface or on the surfaces that are uneven such as stairs were having an improvement in the gait after the use of AFO11. Balance exercises and AFO have an important role in improving the gait pattern of hemiplegic stroke patients. In this current study however, the importance of balance exercises and AFO was known after the intervention has been done and data was recorded pre-intervention and post-intervention. The gait parameters such as step length, stride length, pre-TUG, post-TUG and pre-speed and post-speed were improved after the combined therapy consisting of balance exercises and AFO which sets it apart from the previous researches which focused on gait training or physiotherapy alone. This study can provide new insights that how AFO can be incorporated with balance exercises in order to improve the rehabilitation outcomes of hemiplegic stroke patients Therefore, in the future studies, it is suggested that the intervention period should be increased from 4 weeks and AFO must be considered along with balance exercises of the lower limb muscles for developing the better rehabilitation protocols and improving the functional ambulation of hemiplegic stroke patients18.
Gait parameters including cadence and speed were improved in the heel raise lower with a forefoot on black (HRB) group as compared to the heel raise-lower on a flat floor (HRL) group. This has been discussed in the study conducted by Lee et al. The results of this study showed that the gait speed and cadence of the paretic side was improved significantly after repetitive intervention consisting of exercises. Furthermore, the static and dynamic balance was improved after the intervention and the strength of plantar flexor muscles was also improved after the intervention which in favor to the results of the current study16.
From a biomechanical perspective, it is recommended that along with the consideration of AFO, consideration of balance exercises, larger number of subjects and increase in the therapeutic intervention time18 should also be included as future variables to have a better insight for designing better rehabilitation protocols with greater chances of gait improvement in hemiplegic stroke patients.
Practical applications
The clinicians should be trained for implementing combined therapies, AFO adjustment and fitting and balance training sessions. The findings of this study can be applied to the rehabilitation of other neurological conditions like multiple sclerosis and cerebral palsy as this combination therapy can reduce the risk of falls due to muscle spasticity, muscle weakness or coordination deficits. The combined techniques of balance exercises and AFO can improve the functional outcome of these patients. In future, studies on comparative effects of different designs of ankle foot orthosis on balance, gait training and functional outcome of stroke patients can be done. As rigid and flexible orthotic devices can influence the rehabilitation outcome in a different manner can be done. Rigid AFO provides more stability whereas flexible AFO provides more natural gait. Variations in the balance training protocols and exercise can influence the results and it suggest the future studies examining the impact of these variations.
Moreover, advanced technologies like robotic assistance and virtual reality offer support by progressively increasing task difficulty in a controlled manner and promoting neuroplasticity37. Future research should investigate how these technologies can be integrated with traditional orthotic and rehabilitation protocols in stroke rehabilitation to enhance motivation and adherence, increase training repetitions, and foster neuroplasticity, ultimately optimizing functional outcomes and improving motor recovery. As the study was designed as preliminary investigation used to evaluate the feasibility and initial effects of combined balance exercises and orthotic gait training. The relatively shorter duration of the intervention can underestimate the potential benefits of prolonged rehabilitation but as the results are promising so larger scale studies with more diverse population to validate the results can be done. The study was focused on evaluating balance and orthotic gait training techniques in hemiplegic stroke patients for rehabilitation outcome which can be influenced by gender which is an important factor but primary objective was to investigate about the overall efficacy of the combination therapy which is an intervention among patients so the analysis by gender was not stratified. However, it has been noted as a limitation and highlighted as an area of future research by incorporating gender-based analysis to understand about the rehabilitation strategies in studies.
Conclusions
Effective rehabilitation strategies are crucial for enhancing gait recovery in stroke patients, with a focus on long-term functional improvements. This study examined the impact of combining balance training exercises with AFO therapy on gait characteristics in chronic hemiplegic stroke patients. The experimental group receiving combination therapy showed significant improvements in parameters such as the 10MWT (mean pre-speed: 0.31 ± 0.03 m, post-speed: 0.40 ± 0.03 m) and TUG test (mean pre-tug: 27.04 ± 2.04 s, post-tug: 20.55 ± 2.30 s), suggesting the potential therapeutic benefits of this approach. In contrast, the control group demonstrated less refinement in gait performance. These findings highlight the importance of integrating AFO therapy and physiotherapy for optimizing the functional mobility of stroke survivors. Future research comparing data from both groups will provide further insights into refining rehabilitation protocols to enhance gait outcomes in hemiplegic stroke patients.
Data availability
All data generated or analysed during this study are included in this article.
References
WMPP Investigators. The World Health Organization MONICA project (monitoring trends and determinants in cardiovascular disease): A major international collaboration. J. Clin. Epidemiol. 41 (2), 105–114 (1988).
NCCfC, C. & RCoPo, L. Stroke: National Clinical Guideline for Diagnosis and Initial Management of Acute Stroke and Transient Ischemic Attack (TIA) (Royal College of Physicians, 2008).
Hatano, S. Variability of the diagnosis of stroke by clinical judgement and by a scoring method. Bull. World Health Organ. 54 (5), 533 (1976).
Petrasovits, A. & Nair, C. Epidemiology of stroke in Canada. Health Rep. 6 (1), 39–44 (1994).
Gresham, G. E. et al. Residual disability in survivors of stroke—the Framingham study. N. Engl. J. Med. 293 (19), 954–956 (1975).
Michael, K. M., Allen, J. K. & Macko, R. F. Reduced ambulatory activity after stroke: The role of balance, gait, and cardiovascular fitness. Arch. Phys. Med. Rehab. 86 (8), 1552–1556 (2005).
Herssens, N. et al. An investigation of the spatio-temporal parameters of gait and margins of stability throughout adulthood. J. R. Soc. Interface 17 (166), 20200194 (2020).
Owen, M., Ingo, C. & Dewald, J. Upper extremity motor impairments and microstructural changes in bulbospinal pathways in chronic hemiparetic stroke. Front. Neurol. 8, 258123 (2017).
Jacinto, L. J., Reis, M. & Silva Gait Analysis in the Context of Spasticity Management 471–487 (Advanced Technologies for the Rehabilitation of Gait and Balance Disorders, 2018).
Wevers, L. et al. Effects of task-oriented circuit class training on walking competency after stroke: A systematic review. Stroke 40 (7), 2450–2459 (2009).
Verma, R. et al. Understanding gait control in post-stroke: Implications for management. J. Bodyw. Mov. Ther. 16 (1), 14–21 (2012).
Abe, H. et al. Improving gait stability in stroke hemiplegic patients with a plastic ankle-foot orthosis. Tohoku J. Exp. Med. 218 (3), 193–199 (2009).
Leung, J. & Moseley, A. Impact of ankle-foot orthoses on gait and leg muscle activity in adults with hemiplegia: Systematic literature review. Physiotherapy 89 (1), 39–55 (2003).
Gök, H. et al. Effects of ankle-foot orthoses on hemiparetic gait. Clin. Rehab. 17 (2), 137–139 (2003).
Khallaf, M. E., Gabr, A. M. & Fayed, E. E. Effect of task specific exercises, gait training, and visual biofeedback on equinovarus gait among individuals with stroke: Randomized controlled study. Neurol. Res. Int. 2014 (1), 693048 (2014).
Lee, S. M. et al. Effects of different heel-raise-lower exercise interventions on the strength of plantarflexion, balance, and gait parameters in stroke survivors. Physiother. Theory Pract. 33 (9), 706–715 (2017).
Tomioka, K. et al. Short-term effects of physiotherapy combining repetitive facilitation exercises and orthotic treatment in chronic post-stroke patients. J. Phys. Ther. Sci. 29 (2), 212–215 (2017).
Hiengkaew, V., Jitaree, K. & Chaiyawat, P. Minimal detectable changes of the Berg Balance Scale, Fugl-Meyer Assessment Scale, Timed Up & Go Test, gait speeds, and 2-minute walk test in individuals with chronic stroke with different degrees of ankle plantarflexor tone. Arch. Phys. Med. Rehab. 93 (7), 1201–1208 (2012).
Shimodozono, M. et al. Benefits of a repetitive facilitative exercise program for the upper paretic extremity after subacute stroke: A randomized controlled trial. Neurorehab. Neural Repair 27 (4), 296–305 (2013).
Kawahira, K. et al. Effects of intensive repetition of a new facilitation technique on motor functional recovery of the hemiplegic upper limb and hand. Brain Inj. 24 (10), 1202–1213 (2010).
Mayer, M. Clinical neurokinesiology of spastic gait. Bratislavské Lekárske Listy. 103 (1), 3–11 (2002).
Lindquist, A. R. et al. Gait training combining partial body-weight support, a treadmill, and functional electrical stimulation: Effects on poststroke gait. Phys. Ther. 87 (9), 1144–1154 (2007).
Chen, G. et al. Gait deviations associated with post-stroke hemiparesis: Improvement during treadmill walking using weight support, speed, support stiffness, and handrail hold. Gait Posture 22 (1), 57–62 (2005).
Tyson, S., Sadeghi-Demneh, E. & Nester, C. A systematic review and meta-analysis of the effect of an ankle-foot orthosis on gait biomechanics after stroke. Clin. Rehab. 27 (10), 879–891 (2013).
Carse, B. et al. The immediate effects of fitting and tuning solid ankle–foot orthoses in early stroke rehabilitation. Prosthet. Orthot. Int. 39 (6), 454–462 (2015).
Pizzi, A. et al. Gait in hemiplegia: Evaluation of clinical features with the Wisconsin gait scale. J. Rehab. Med. 39 (2), 170–174 (2007).
Rubertone, J. et al. Reliability analysis of the Wisconsin gait scale for novice evaluators. Phys. Ther. 80, S19 (2000).
Etoh, S. et al. Effects of repetitive facilitative exercise with neuromuscular electrical stimulation, vibratory stimulation and repetitive transcranial magnetic stimulation of the hemiplegic hand in chronic stroke patients. Int. J. Neurosci. 126 (11), 1007–1012 (2016).
Schiemanck, S. et al. Effects of implantable peroneal nerve stimulation on gait quality, energy expenditure, participation and user satisfaction in patients with post-stroke drop foot using an ankle-foot orthosis. Restor. Neurol. Neurosci. 33 (6), 795–807 (2015).
Rodriquez, A. A. et al. Gait training efficacy using a home-based practice model in chronic hemiplegia. Arch. Phys. Med. Rehab. 77 (8), 801–805 (1996).
Monger, C., Carr, J. H. & Fowler, V. Evaluation of a home-based exercise and training programme to improve sit-to-stand in patients with chronic stroke. Clin. Rehab. 16 (4), 361–367 (2002).
Rhyu, H. S. & Rhi, S. Y. The Effects of Training on Different Surfaces, on Balance and Gait Performance in Stroke Hemiplegia 592–596 (Revista Brasileira de Medicina do Esporte, 2021).
Tsuchiyama, K. et al. Effects of ankle-foot orthoses on the stability of post-stroke hemiparetic gait. Eur. J. Phys. Rehab. Med. 58 (3), 352 (2021).
Zarezadeh, R., Arazpour, M. & Aminian, G. The effect of anterior ankle-foot orthosis and posterior ankle-foot orthosis on functional ambulation in stroke patients. J. Rehab. Assist. Technol. Eng. 9, 20556683221082451 (2022).
Bonanno, M. et al. Gait analysis in neurorehabilitation: From research to clinical practice. Bioengineering 10 (7), 785 (2023).
Anwer, S. et al. Rehabilitation of Upper Limb Motor Impairment In Stroke: A Narrative Review on the Prevalence, Risk Factors, and Economic Statistics of Stroke and State of the Art Therapies. In Healthcare (MDPI, 2022).
Hussain, M. A. et al. Virtual reality as a non-conventional rehabilitation for stroke: A comprehensive review. J. Neurorestoratol., 100135 (2024).
Khan, A. et al. Mobility Related Confidence Level in Chronic Stroke Patients Through Task Oriented Walking Intervention.
Abdollahi, M. et al. Motor-cognitive dual-task paradigm affects timed up & go (TUG) test outcomes in stroke survivors. In. 11th International IEEE/EMBS Conference on Neural Engineering (NER) (IEEE, 2023). (2023).
Ishige, S. et al. Psychometric properties of a short version of the Activities-Specific balance confidence scale-Japanese (Short ABC-J) in community-dwelling people with stroke. Physiother. Theory Pract. 38 (11), 1756–1769 (2022).
Molhemi, F. et al. Effects of virtual reality vs conventional balance training on balance and falls in people with multiple sclerosis: A randomized controlled trial. Arch. Phys. Med. Rehab. 102 (2), 290–299 (2021).
Funding
This work was supported by the Abu Dhabi University ORSP grant (No. 19300909).
Author information
Authors and Affiliations
Contributions
All authors—Sidra Tariq, Asim Waris, Syed Omer Gilani, Shafaq Mushtaq, Qasim Awais, Javaid Iqbal, Khurram Mushtaq, and Niaz B Khan—contributed significantly to various aspects of this research. Their contributions include the write-up of the manuscript, literature review, data collection, and result analysis. All authors contributed equally in this study.
Corresponding author
Ethics declarations
Competing interests
The authors declare no competing interests.
Ethical approval
The data collection and experimental protocol received approval from the NUST ethical committee under Ref# NUST/SMME/BMES/ETH/092020/0047.
Informed consent
Subjects were asked to sign the informed consent form before participating.
Additional information
Publisher’s note
Springer Nature remains neutral with regard to jurisdictional claims in published maps and institutional affiliations.
Rights and permissions
Open Access This article is licensed under a Creative Commons Attribution-NonCommercial-NoDerivatives 4.0 International License, which permits any non-commercial use, sharing, distribution and reproduction in any medium or format, as long as you give appropriate credit to the original author(s) and the source, provide a link to the Creative Commons licence, and indicate if you modified the licensed material. You do not have permission under this licence to share adapted material derived from this article or parts of it. The images or other third party material in this article are included in the article’s Creative Commons licence, unless indicated otherwise in a credit line to the material. If material is not included in the article’s Creative Commons licence and your intended use is not permitted by statutory regulation or exceeds the permitted use, you will need to obtain permission directly from the copyright holder. To view a copy of this licence, visit http://creativecommons.org/licenses/by-nc-nd/4.0/.
About this article
Cite this article
Tariq, S., Waris, A., Iqbal, J. et al. Evaluation of balance and orthotic gait training techniques for rehabilitation in hemiplegic stroke patients. Sci Rep 15, 15059 (2025). https://doi.org/10.1038/s41598-025-98227-1
Received:
Accepted:
Published:
Version of record:
DOI: https://doi.org/10.1038/s41598-025-98227-1








