Abstract
Steam turbine is pivotal in industrial and power generation because it has become an essential technology for optimization of energy that efficiently converts thermal energy from steam into mechanical energy. This manuscript proposes a predictive modelling of steam turbine by invoking artificial neural network analysis and develops dynamic mathematical model for steam turbine via multiple fractional techniques. A novel mathematical model for steam turbine is developed by means modern fractional differentials and artificial neural network subject to steady-state condition for high efficiency and long operation. For seeking the transfer function, mathematical techniques of Laplace and Sumudu transforms, rectified linear function, mean squared error have been invoked to have estimation for ratio of output to input as a dynamic response. At last, the comparison of best validation performance versus epoch, absolute error versus pressure, training dynamics versus epoch, error histogram versus targets and actual scale versus predicted scale in terms of fit have been deeply discussed for the efficiency of steam turbine.
Introduction
The performance of steam turbines directly impacts energy efficiency and operational costs that’s why they are critical components in power generation and industrial processes. The ability of steam turbines that converts thermal energy from steam into rotational motion play a critical role in industrial sectors for the sake of reliability and efficiency in power generation1,2. Wang et al.3 developed a nonlinear least-squares algorithm for an investigation of induction motor parameters under nonlinear least-squares approach and elimination theory. They focused on constrained optimization, experimentally for validating the real-time update of electrical and mechanical parameters using only stator voltages, currents, and rotor speed measurements. Ghahremani et al.4 explored parametric estimation for a third-order d–q synchronous generator model under the consideration of two novel nonlinear functions for electrical power and terminal voltage. The validation was proposed via simulations and experimental trials. The assumption of small perturbations could not address turbine-specific dynamics comparatively. Zimmer5 presented a spectrum of three steam turbine models varying in complexity from simple linear to full nonlinear thermodynamics. Each steam turbine model has been designed for different operational needs namely controller tuning, failure prediction, and efficiency evaluation. This study explored the impact of steam turbine model with complexity on simulation fidelity, transient dynamics of speed and pressure. Key findings of this work indicated an offer for balance of accuracy and complexity for near-design-point analysis. A notable limitation is that the paper remains entirely within integer-order modeling, omitting any exploration of fractional-order or multiple fractional techniques, thus lacking a comparative evaluation of fractional dynamic models or hybrid approaches. Szapajko and Rusinowski6 developed a theoretical-empirical model of the steam-water cycle in a conventional power unit. Their work, involved building partial models for the turbine, regenerative heat exchangers, and condenser, combining conservation laws with empirical relationships. Empirical coefficients were estimated using least-squares regression on special measurement data, and the model’s prediction quality was statistically verified. They achieved high accuracy in modeling the turbine’s steam expansion line, regenerative heat exchangers, and condenser via correlation coefficients exceeding 0.99, demonstrating hybrid approach for balances of speed and accuracy. The intended applications included operation diagnostics, maintenance support, and online performance evaluation. Their research is limited by its exclusive use of integer-order thermodynamic models, without incorporating fractional calculus or exploring fractional dynamic modeling techniques. Consequently, the work lacks a comparative assessment of different modeling approaches for turbine dynamics and does not examine fractional-order memory effects crucial for capturing complex transient behaviors. Luo et al.7 presented multiple extractions-based steam turbine model via complete simulation for the performance data of commercial turbines. They emphasized the statistical estimation that simulation error of electric power generation is no more than 0.87%. Laskowski8 envisaged a mathematical model for a steam condenser operating under off-design conditions in a 200 MW power plant. His work applied dimensional analysis to derive a functional relationship between two dimensionless quantities representing temperature differences and operational parameters. The model was established and validated using both characteristic design data and actual measurement data from different operating condensers. A simple linear relation between the two dimensionless groups to predict the cooling water outlet temperature based on measurable parameters namely inlet temperatures, cooling water mass flow, and steam pressure has also been underlined. The main findings showed that this linear relation accurately predicts condenser performance in off-design conditions, with excellent agreement between calculated and measured outlet water temperatures across design and operational data sets. However, this study’s limitations include its exclusive focus on integer-order thermodynamic and heat transfer modeling, neglecting fractional dynamics or memory effects. It also addresses only the condenser component, without considering interactions with steam turbines, which are central to a broader comparative analysis. The model, being a single linear approximation, lacks a comparative study against fractional or nonlinear dynamic models, and its reliance on extensive measured data limits generalizability if such data are unavailable. Gibson et al.9 investigated the thermo-economic optimization of a coal-fired steam turbine CHP system under three regulatory scenarios namely no carbon price, carbon price with no liability and carbon price with liability. They derived steam turbine partial-load performance equations for conducting a case study to compare economics across scenarios. Their findings indicated that the most economically favorable scenario involved a carbon price without facility liability, while the worst was under liability with a carbon price. However, their research is limited by its focus on thermo-economic performance rather than dynamic behavior or control response, utilizing only integer-order partial-load equations without exploring fractional calculus techniques.
Krzysztof10 developed a mathematical model for backpressure extraction steam turbines to simulate performance and optimize load distribution in large industrial combined heat and power plants. His work integrated this model with digital distributed control systems for online simulation using real-time measurement data. For the sake of modeled turbine, mass and energy balance equations have been investigated for empirical performance characteristics. The model was used to correct measuring errors and improve data reconciliation, ensuring mass and energy balances during online monitoring. On the other hand, a significant limitation is its exclusive reliance on integer-order balance equations, overlooking fractional-order dynamics that could capture memory effects or long-memory thermal/mechanical behaviors crucially for accurate transient analysis. Genovski and Hristov11 developed simulation models for two cogeneration steam turbine systems controlled with steam extraction and backpressure of turbine. They established mathematical regression equations to predict fuel economy based on heat load and distint heating water temperatures. Fuel economy improved from 28.9% to 30.4% with increased backpressure turbine load, but decreased at higher total heat loads when the controlled extraction turbine contributed more heat. Although their validated simulation models accurately predicted plant performance yet a significant limitation is their exclusive focus on steady-state heat load optimization, neglecting dynamic behavior or transient response. In short, a similar study is also highlighted in12. Plis and Rusinowski13 developed a mathematical model for a single-pressure heat recovery steam generator comprising an economizer, evaporator, superheaters, and a desuperheater. This mathematical model is based on mass and energy balances with heat transfer characterized by empirical correlations. The main findings indicated satisfactory predictions and performance across key parameters under different flexibilities. This developed a mathematical model is limited by its exclusive focus on integer-order steady-state modeling, without incorporating fractional-order dynamics or transient response. There is no comparative modeling against fractional or non-classical methodologies. No consideration was given to fractional dynamics or time-dependent memory effects that could enrich heat recovery steam generator and turbine models under transient operations. Murmansky et al.14,15 presented detailed analysis of statistical models to estimate the residual life of steam-turbine condenser tubes using operational failure data. They proposed this model on the basis of full operating time of failed tubes and normal operation period are known via normal distribution for tube failure times. This model could not focus on condenser tube lifetime and statistical lifetime modeling, rather than the dynamic behavior of steam turbines under fractional modeling frameworks for knowing the application of condenser reliability, turbine dynamics. Choi et al.16 developed a dynamic model for a 500 MW steam turbine, encompassing key components namely main stop valves, control valves, reheater and generator. They presented governing thermodynamic equations with estimated parameters namely turbine inertia, friction, loss factors and valve characteristics. Furthermore, the study lacks the incorporation of fractional-order effects that could enhance prediction of slow or hysteretic behaviors in thermal and mechanical responses. Rusinowski and Plis17 developed a thermal-diagnostic mathematical model of a steam turbine operating within a combined-cycle power plant. Their hybrid model combined analytical (mass and energy balance) and empirical (steam expansion line, valve leakage) components. They demonstrated the computational algorithm with exemplary results, showing that the model effectively captures key thermal and leakage behaviors. Zhu et al.18 developed a comprehensive modeling framework for an industrial complex steam turbine network with multiple turbines in series and parallel configurations. Their work combined mechanistic thermodynamic models with optimization algorithms to minimize fuel costs and maximize steam distribution efficiency. The thermodynamic modeling is entirely based on integer-order neglecting fractional-order or memory-effect dynamics. It focuses on steady-state optimization without delving into dynamic or transient behaviors. Murmansky et al.19 developed a probabilistic steam turbine subsystem by estimating covering the steam flow path, bearings, thermal expansion, regulation/control, condenser, and regenerative heating. The functionality of steam turbine includes correlation/regression analysis for steam flow in thermal expansion and condenser issues. The model of steam turbine is limited by its focus on fault detection and diagnostics rather than dynamic behavior or fractional-order turbine dynamics. Khalili and Karrari20 focused on modeling an industrial, simple-cycle heavy-duty gas turbine using both a classical model and an artificial neural network approach. The exploration of this investigation offered reliable performance, while the artificial neural network-based model demonstrated acceptable precision and flexibility. Munirah et al.21 applied transformation method on a state-space steam turbine model to quantify uncertainty effects. The main findings revealed that steam inlet pressure is the major source of uncertainty in turbine power output. This model was incorporated by integer-order state-space modeling without exploring fractional-order models that could capture memory effects. Their emphasis was on parametric sensitivity rather than grid stability, control dynamics, or transient frequency response. Khalili et al.22 developed a mathematical model of a 200 MW industrial steam turbine coupled with a generator. Their work utilized operational time-series data for parametric estimation by employing observer-based techniques. The main findings indicate that the model successfully captured turbine-generator dynamics, matching measured power outputs. Motivating by above discussion and reviewed literature, some recent attempts on models of steam turbine can be viewed in23,24,25,26. To conclude, this manuscript proposes a predictive modelling of steam turbine by invoking artificial neural network analysis and develops dynamic mathematical model for steam turbine via multiple fractional techniques. A novel mathematical model for steam turbine is developed by means modern fractional differentials and artificial neural network subject to steady-state condition for high efficiency and long operation. For seeking the transfer function, mathematical techniques of Laplace and Sumudu transforms, rectified linear function, mean squared error have been invoked to have estimation for ratio of output to input as a dynamic response. At last, the comparison of best validation performance versus epoch, absolute error versus pressure, training dynamics versus epoch, error histogram versus targets and actual scale versus predicted scale in terms of fit have been deeply discussed for the efficiency of steam turbine. For the sake of research gaps and novelty, is it exaggerated that most previous steam-turbine models rely exclusively on integer-order thermodynamic and controls, such steam-turbine models cannot capture hereditary, non-local dynamic effects and memory-dependent under transient steam flow and pressure variations. Although no prior work systematically compares fractional derivatives under fractal domain of steam-turbine models, yet earlier steam-turbine models have never benchmarked their dynamic response or stability differences. The paper formulates first multi-fractional analytical model of steam turbine dynamics by invoking four distinct fractional definition in unified framework of dual transforms. A Levenberg–Marquardt-based artificial neural network is employed for training of parametrized turbine data to achieve minimal mean-square and absolute errors by emphasizing rectified linear activation function. To conclude, this work bridges the theoretical gap between modeling in terms of fractional calculus under the incorporation of transform-domain based transfer functions with artificial neural network based statistical performance of steam-turbine.
Mathematical model of steam turbine model based on shaft torque depending on control valves
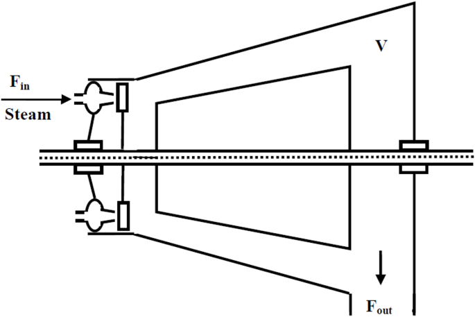
Efficiency optimization and performance prediction of certain turbine totally depends on steam consumption, power output, thermal efficiency under different operating conditions subject to maximize efficiency of temperature, flow rates and steam pressure. Keeping above facts under consideration modeling a steam turbine is a powerful and cost-effective approach for the enhancement of efficiency, reliability, and safety. It is well-known fact for steam turbine that stationary vanes accelerate steam to high velocity because steam turbine consists of a set of a moving blades attached to rotor, as shown in Fig. 1.
Geometric model of steam turbine.
The kinetic energy of the high velocity steam is converted into shaft torque, this is because steam turbine models are simplified in terms of intermediate variables. To increase the thermal efficiency, steam turbines are of multistage. Under these assumptions, an elementary governing equation for mechanical power developed by a turbine is based on the continuity equation27, we have
The functional parameters involved in Eq. (1) have usual meaning; \(\:V\) shows volume of turbine in terms of \(\:{m}^{3}\), \(\:\rho\:\) indicates density of steam in terms of \(\:\frac{kg}{{m}^{3}}\), \(\:t\) is time in terms of second, \(\:{F}_{in}\left(t\right)\) elucidates steam mass inflow rate in terms of \(\:\frac{kg}{s}\) and \(\:{F}_{out}\left(t\right)\) explains steam mass outflow rate in terms of \(\:\frac{kg}{s}\) and weight of steam in turbine in terms of\(\:\:kg\) is denoted by \(\:W\). Here, the steam turbine is considered at steady-state condition, viz. initial condition is at zero. Assuming the flow out of the turbine to be proportional to pressure in the turbine, this fact defines a mathematical equation as:
Here, the rheological parameters for Eq. (2) are: \(\:{F}_{0}\) and \(\:{P}_{0}\) rated flow out of turbine and rated pressure respectively, pressure of steam in the turbine is identified by \(\:P\) in in terms of \(\:kPa\). Now defining chain rule of differentiation for differential term involved in Eq. (1), we have
Here, \(\:\frac{\partial\:\varvec{\rho\:}}{\partial\:P}\) is a change in density of steam with respect to pressure at temperature. Now combining Eqs. (1–3), the resulting expression is
Equation (4) is evolutionary governing classical differential equation of steam turbine27 subjected to letting parameter \(\:\frac{\partial\:\varvec{\rho\:}}{\partial\:P}\frac{{P}_{0}}{{F}_{0}}={T}_{T}\) and imposed initial condition at \(\:t=0\).
Multiple fractional definitions of differentiation and transfer function
Different fractional differentiations have ability to bring greater accuracy, flexibility, and insight to model and control of complex industrial systems among non-local and history-dependent behaviors, subtle changes in system dynamics, anomalous diffusion in porous media, charge/discharge cycles of supercapacitors, lithium-ion batteries, and other electrochemical systems. Different fractional differentiations have different types of kernels for instance, Caputo fractional differentiation has singular kernel, Caputo-Fabrizio fractional differentiation has non-singular and local kernel, Atangana-Baleanu fractional differentiation has non-singular and non-local kernel defined in terms of Mittag-Leffler function, Yang-Abdel-Cattani fractional differentiation has non-singular and non-local kernel defined in terms of Rabotnov function and few others. In brevity, fractional differentiation is a superior modeling accuracy for capturing memory effects (dependence of one to another state), hereditary properties (long-term dependencies), and non-local dynamics (non-linear behaviors). Here, we present some useful definitions of fractional differentiation.
Caputo fractional differentiation
The Caputo fractional derivative28,29 is defined under a consideration of a function \(\:T\left(t\right)\) and a fractional order \(\:0<{\alpha\:}_{1}<1\), as
Caputo-Fabrizio fractional differentiation
The Caputo-Fabrizio fractional derivative30,31 is defined under a consideration of a function \(\:T\left(t\right)\) and a fractional order \(\:0<{\alpha\:}_{2}<1\), as
Atangana-Baleanu fractional differentiation
The Atangana-Baleanu fractional derivative32,33 is defined under a consideration of a function \(\:T\left(t\right)\) and a fractional order \(\:0<{\alpha\:}_{3}<1\), as
Yang-Abdul-Cattani fractional differentiation
The Yang-Abdul-Cattani fractional derivative34,35 is defined under a consideration of a function \(\:T\left(t\right)\) and a fractional order \(\:0<{\alpha\:}_{4}<1\), as
Laplace and Sumudu transforms
Laplace and Sumudu transforms are the powerful technique for time invariant governing differential equations that they convert the time variable into frequency. The Laplace and Sumudu transforms are defined for a function f(t) of time36 respectively
Additionally, as mentioned in Sect. 2, steam turbine is at steady state condition, hence, imposed initial condition is at \(\:t=0\). Keeping this fact, some results are defined for investigating the analytical solutions of evolutionary governing fractional differential equation of steam turbine. Applying Eq. (9) on Eqs. (5–8), we arrive at
Applying Eq. (10) on Eqs. (5–8), we arrive at
Transfer function of steam turbine model
Transform function is invoked in a linear time-invariant system or steam turbine model for controlling system’s complexities, like stability, bounded and unbounded input and output and different others relevant responses. A transfer function \(\:H\left(s\right)\) is a mathematical representation under imposition of Laplace transform for the relationship as a ratio of Laplace transform of output function \(\:F\left(s\right)\) to Laplace transform of input function \(\:G\left(s\right)\) subjected to the imposed initial condition at zero in linear time-invariant system or continuous-time system. Mathematically, an expression for transform function is
On the other hand, this function provides key concepts in steam turbine model with powerful dynamics and control. It gives description for steam turbine model that how steam turbine model responds to different input essential parameters for analyzing and designing dynamics of steam turbine model. The main feature of this function can be envisaged from zeros, poles and gain; because Zeros affect the steam turbine model for frequency response and phase, Poles determine steam turbine model’s stability and transient response and gain is a scaling factor for steam turbine model. As our study is emphasized on the stability of steam turbine model, so for, steam turbine model is stable if all poles lie inside the unit circle and If any pole of steam turbine model is outside the unit circle, then steam turbine model is unstable.
Multiple analytical solutions for steam turbine model
In comparison of numerical approximated solution, analytical solution provides true solution to steam turbine model because they do not have discretization or rounding errors. The major role of analytical solution is to reveal and understand how different parameters influence statistically. Such solutions are helpful for investigating statistical data under accuracy and reliability within easy computational steps. To conclude, they are indispensable for rigorous scientific analysis because they provide critical features of final solution for instance stability, resonance, singularities, asymptotic behavior and several other type of interpretation. In brevity, following subsections for analytical solutions have been presented for steam turbine model from sub-Sect. 4.1 to 4.4.
Analytical solutions for Caputo steam turbine model
In order to capture memory effects and non-local interactions, applying the definition of Caputo differential operator (5) on classical differential equation of steam turbine model (4), we explore Caputo fractional steam turbine model as:
For the sake of generation of transfer function form fractionalized steam turbine model (20), the Laplace and Sumudu transforms are invoked on Eq. (20), we get
Generating transfer function from Eq. (21), we have suitable expression as:
Inverting Eq. (22) inverse Laplace and Sumudu transforms, the resulting expressions are for transfer function,
In Eq. (23), \(\:{G}_{1}\left(t\right)\) is transfer function of Caputo fractional steam turbine model via Laplace transform technique and \(\:{H}_{1}\left(t\right)\) is transfer function of Caputo fractional steam turbine model via Sumudu transform technique.
Analytical solutions for Caputo-Fabrizio steam turbine model
The recent advancement in fractional calculus is Caputo-Fabrizio differential operator based on non-singular and local kernel that offers and avoids singularity issues. Applying the definition of Caputo-Fabrizio differential operator (6) on classical differential equation of steam turbine model (4), we explore Caputo-Fabrizio fractional steam turbine model as:
For the sake of generation of transfer function form fractionalized steam turbine model (24), the Laplace and Sumudu transforms are invoked on Eq. (24), we get
Simplifying Eq. (25) for transfer function, we arrive:
The functional quantities for Eq. (26) are \(\:{\lambda\:}_{0}=\beta\:{T}_{T}+1,{\lambda\:}_{1}=\frac{{\alpha\:}_{2}\beta\:}{\beta\:{T}_{T}+1},{\lambda\:}_{2}=\frac{{\lambda\:}_{1}}{{\lambda\:}_{0}}\) and \(\:{{\Lambda\:}}_{0}={\beta\:}_{0}{\beta\:}_{2},{{\Lambda\:}}_{1}=1+{\beta\:}_{0}{T}_{T}\). Applying inverse Laplace and Sumudu transforms on Eq. (26), the final solutions of transfer function are,
In Eq. (27), \(\:{G}_{2}\left(t\right)\) and \(\:{H}_{2}\left(t\right)\) are transfer functions of Caputo-Fabrizio fractional steam turbine model via Laplace transform and Sumudu transform techniques respectively.
Analytical solutions for Atangana-Baleanu steam turbine model
The modern advancement in fractional calculus that combines the strengths of non-singular kernels and non-local behavior lies in Atangana-Baleanu differential operator based on non-singular and non-local kernel that captures long-range memory effects more accurately. Applying the definition of Atangana-Baleanu differential operator (7) on classical differential equation of steam turbine model (4), we explore Atangana-Baleanu fractional steam turbine model as:
For the sake of generation of transfer function form fractionalized steam turbine model (28), the Laplace and Sumudu transforms are invoked on Eq. (24), we get
An expression for transfer function is obtained by evaluating Eq. (29), we get
Equation (30) is subjected to \(\:{\lambda\:}_{3}={T}_{T}\gamma\:+1,{\lambda\:}_{4}={\alpha\:}_{3}\gamma\:,{\lambda\:}_{5}=\frac{{\lambda\:}_{4}}{{\lambda\:}_{3}},{\varLambda\:}_{3}={\beta\:}_{0}{\beta\:}_{3}\) and \(\:{\varLambda\:}_{4}={T}_{T}{\beta\:}_{0}+1\). Applying inverse Laplace and Sumudu transforms on Eq. (30), the final solutions of transfer function are,
\(\:{G}_{3}\left(t\right)\) and \(\:{H}_{3}\left(t\right)\) are transfer functions.
Analytical solutions for Yang-Abdel-Cattani steam turbine model
The definition of Yang-Abdel-Cattani differential operator is a novel contribution in the field of fractional calculus that envisages long-range memory and multi-scale dynamics effectively. Applying the definition of Yang-Abdel-Cattani differential operator (8) on classical differential equation of steam turbine model (4), we explore Yang-Abdel-Cattani fractional steam turbine model as:
For the sake of generation of transfer function form fractionalized steam turbine model (32), the Laplace and Sumudu transforms are invoked on Eq. (32), we get
Solving Eq. (33), transfer function is obtained as
The functional parameters for Eq. (34) are \(\:{\varLambda\:}_{5}={\beta\:}_{0}\chi\:\) and \(\:{\varLambda\:}_{6}={T}_{T}+{\beta\:}_{0}\chi\:\). Applying inverse Laplace and Sumudu transforms on Eq. (34), the final solutions of transfer function are,
\(\:{G}_{4}\left(t\right)\) and \(\:{H}_{4}\left(t\right)\) are transfer functions in terms of YAC fractional approach. It is also noted that classical transfer functions can be investigated by substituting fractional and fractal parameters equal to one among fractalized and fractionalized transfer functions.
Generation of statistical data and neural network analysis of steam turbine
To test steam turbine model through synthetic and statistical data observations, comparative statistical data for decision-making of steam turbine under controlled conditions can be innovative for risk analysis, compliance, optimization, suggestions and simulations of different impositions of steam turbine model. Statistical data of steam turbine model determines how sensitive steam turbine is to change in a particular variable of rheology. This is because it identifies trends, correlations, and causality for knowing the physical phenomenon of steam turbine. For the sake of parametrization of data for steam turbine model within Laplace and Sumudu domains, \(\:\frac{\partial\:\rho\:}{\partial\:P}\) is a change in density of steam with respect to pressure at temperature is treated constant, while, \(\:{F}_{0}\) and \(\:{P}_{0}\) rated flow out of turbine and rated pressure respectively are considered variant randomly.
The parametrization of data for steam turbine model is analyzed for regression analysis that estimates the performance prediction, efficiency optimization, and fault diagnosis. By considering operational parameters, data for steam turbine model is tested for estimation of power output, efficiency, steam pressure and flow rate. Specifically, relationship between steam conditions subject to power generation is the main focus to enhance efficiency based on the regression analysis. The comparative analysis of data for Caputo, Caputo-Fabrizio, Atangana-Baleanu and Yang-Abdel-Cattani steam turbine model within Laplace and Sumudu domains have been presented in terms of regression analysis, can be overviewed in Tables 1, 2, 3 and 4. The dependence and independence relationship between steam subject to time, pressure and rate of flow is predicted by the investigation of regression equation as obtained in Table 5. For the sake of comparison between Caputo, Caputo-Fabrizio, Atangana-Baleanu and Yang-Abdel-Cattani steam turbine model within Laplace and Sumudu domains, regression equations of Caputo, Caputo-Fabrizio, Atangana-Baleanu and Yang-Abdel-Cattani steam turbine model within Laplace and Sumudu domains have shown positive slope (direct relation of steam with time, pressure and rate of flow) and negative slope (indirect relation of steam with time, pressure and rate of flow) respectively.
The study of artificial neural network envisages the mechanisms of how to simulate the human mind by requiring meticulous data for optimization to ensure accurate predictions. Investigations of artificial neural networks can deliver a flexible and powerful and alternative functionality of an approximation in comparison with traditional statistical or numerical algorithms. The development of steam turbine model via neural network follows a continuous lineage. In steam turbine, the neurons are the processing units. They are arranged in different layers in neural net. The considered steam turbine model is based on artificial neural network and subjected to the learning algorithm namely Levenberg-Marquardt optimization procedure37,38,39. In this work, the activation function namely rectified linear function is employed. For the sake of error measuring statistical performance, mean square error is elucidated for error between predicted and target dataset. The accuracy mean square error formula is
Here, the allocation of training of dataset is 80%, the allocation of validation of dataset is 10% and the allocation of testing of dataset is 10%. The mean square error examines data visualization, pattern recognition and predictive modelling of dataset of steam turbine model. The optimal structure of the neural network contains three types of layers namely input, hidden and output layers, as sketched in Fig. 2.
Geometric architecture of artificial neural network with layers for steam turbine model.
By considering activation function, artificial neural network model for steam turbine is constructed via tensor flow. The dataset has been shown from Tables 1, 2, 3 and 4 comprised of dynamic parameters with five input variables for training, validation, and test subsets. The illustrative artificial neural network parameters for steam turbine model are shown in Table 5.
Discussion of results
The main purpose of this portion is to investigate how steam turbine model is affected under dynamical parameters via multiple fractional techniques and hidden characteristics by artificial neural network methods. The implication of the transfer function is based on mathematical techniques of Laplace and Sumudu transforms, while, rectified linear function and mean squared error are based on artificial neural network analysis in a novel way. The findings of steam turbine contribute the comparative analysis for Caputo, Caputo-Fabrizio, Atangana-Baleanu, and Yang-Abdel-Cattani between Laplace and Sumudu approaches. For knowing certain hidden characteristics of steam turbine versus pressure domain from Figs. 3, 4, 5, 6, 7, 8, 9, 10, 11 and 12. The variation of time domain has affecting factor namely fluctuating steam supply that is critical and complex. This is because fluctuating steam supply directly impact the efficiency, stability, and longevity of the entire system of steam turbine. In this regard, Figs. 3 and 4 are depicted for the comparative analysis of steam turbine based on Caputo versus Caputo-Fabrizio and Atangana-Baleanu versus Yang-Abdel-Cattani via Laplace and Sumudu approaches in terms of pie chart subjected to varying time domain. In comparison of Laplace and Sumudu techniques under Caputo approach, it is observed that steam turbine via Sumudu technique under Caputo approach performs 20.2% which is better than Laplace technique under Caputo approach, as shown in figure. While comparison of Laplace and Sumudu techniques under Caputo-Fabrizio approach has reciprocal trend. On the contrary, in comparison of Laplace and Sumudu techniques under Atangana-Baleanu approach, it is observed that steam turbine via Sumudu technique under Atangana-Baleanu approach is stable for varying time domain with Yang-Abdel-Cattani. It is examined that high output and flexible response for maximum efficiency via fractional differential operators are investigated. Figures 5 and 6 elucidate the comparative analysis for the performance of steam turbine based on four types of fractional differential operators via Laplace and Sumudu approaches in terms of bar-valued graphs with varying pressure domain. There is no denying fact that an increase in pressure provides detrimental performance in a steam turbine. Figure 7 explored the combined effective comparative analysis for the performance of steam turbine versus pressure domain for proposed time, flow rate, fractional parameter and fractal parameter in term of 2-dimensional graph. A consistent trend of steam turbine response as a function of pressure under varying operating times is exhibited in which Initially, turbine output increases sharply with pressure, reaching a peak near steep decline of pressure. The overall response curves shift upward subjected with increasing operating time. In brevity, this behavior suggests that turbine efficiency is time-dependent for the sake of steady-state flow and thermal stabilization. A similar characteristic pattern is observed when varying flow rate in which the varying characteristic suggested that high flow intensifies the instability for an optimal flow control. Variation of fractional parameter varying from 0.1 to 0.9 exhibited variable and sharp oscillations. It is observed that variation of fractional parameter ranging from 0.7 to 0.9 dampen these oscillations and yielded smoother transitions and reduced fluctuation amplitude. On the contrary, fractals have generated irregular oscillations into the turbine–pressure relationship by amplifying complexity and potentially destabilizing the turbine response at higher pressures. From comparative insights, time and flow rate exert similar predictable scaling effects, fractional parameter controlled oscillatory stability, fractal parameter introduced nonlinearity and irregularities for turbine efficiency.
Comparative analysis for the performance of steam turbine in kilowatt based on Caputo and Caputo-Fabrizio via Laplace and Sumudu approaches in terms of pie chart subjected to varying time domain in seconds.
Comparative analysis for the performance of steam turbine in kilowatt based on Atangana-Baleanu and Yang-Abdel-Cattani via Laplace and Sumudu approaches in terms of pie chart subjected to varying time domain in seconds.
Comparative analysis for the performance of steam turbine in kilowatt based on Caputo and Caputo-Fabrizio via Laplace and Sumudu approaches in terms of bar-valued graphs with varying pressure domain pascal (Pa).
Comparative analysis for the performance of steam turbine in kilowatt based on Atangana-Baleanu and Yang-Abdel-Cattani via Laplace and Sumudu approaches in terms of bar-valued graphs with varying pressure domain pascal (Pa).
Comparative analysis for the performance of steam turbine in kilowatt versus pressure domain pascal (Pa) for proposed time, flow rate, fractional parameter and fractal parameter in term of 2-dimensional graph.
Comparative analysis for the performance of absolute error versus pressure domain pascal (Pa) for proposed time, flow rate, fractional parameter and fractal parameter in term of target-output.
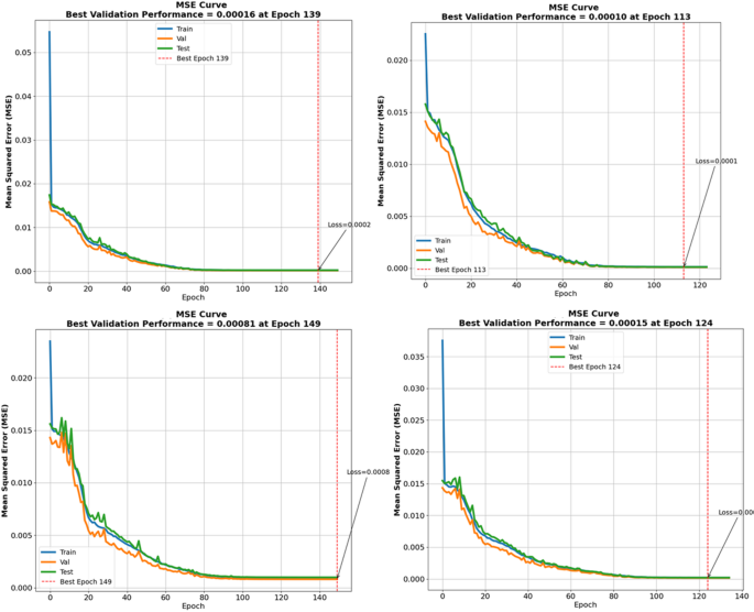
Comparative analysis for the performance of mean squared error versus epoch for proposed time in seconds, flow rate, fractional parameter and fractal parameter in term of validation performance.
Comparative analysis for the performance of gradient versus epoch for proposed time and flow rate in term of training dynamics.
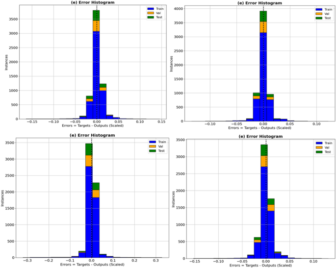
Comparative analysis for the performance of error histogram within four different proposed approaches namely Caputo fractional differentiation, Caputo-Fabrizio fractional differentiation, Atangana-Baleanu fractional differentiation and Yang-Abdel-Cattani fractional differentiation.
Comparative analysis for the performance of predicted scale versus actual scale for proposed four different proposed approaches namely Caputo fractional differentiation, Caputo-Fabrizio fractional differentiation, Atangana-Baleanu fractional differentiation and Yang-Abdel-Cattani fractional differentiation in term target fitness.
Comparative analysis for the performance of absolute error versus pressure domain for proposed time, flow rate, fractional parameter and fractal parameter in term of target-output is presented in Fig. 8. It is observed that absolute error rises sharply when lower pressures decreases. Prolonged operation times contribute to minimizing prediction absolute errors from mid to high-pressure regimes. The absolute error exhibits similar peaks and troughs when flow rate is varied. It is examined that higher flow rates intensify the maximum error at low pressures. This suggests that flow rate mitigate instability strongly and affects error propagation in pressure regime. The amplitude and smoothness of error fluctuations for varying fractional parameter are altered significantly in which oscillations with large error has peaks. In contrast, reduction of oscillation amplitude indicated reduced sensitivity to pressure variations and improved numerical stability. On the other hand, smaller variation of fractal parameter suppressed error fluctuations and generated irregular oscillations. Overall, the findings demonstrate that absolute error is minimizing model’s uncertainty and enhancing predictive reliability of turbine performance. Figure 9 is depicted for the comparative analysis of the performance of mean squared error versus epoch under proposed time, flow rate, fractional parameter and fractal parameter in term of validation performance. It is investigated that training, validation and testing have similar trends for proposed time, flow rate, fractional parameter and fractal parameter but maximum epochs for proposed time are 139, maximum epochs for flow rate are 113, maximum epochs for fractional parameter are 149, and maximum epochs for fractal parameter are 124. Comparative analysis for the performance of gradient versus epoch for proposed time and flow rate in term of training dynamics is explored in Fig. 10. Here, gradient is emphasized as crucial diagnostic tool for fault prediction, performance optimization or power output forecasting. It is also envisaged for convergence purpose that gradient starts high, decreases rapidly, and then stabilizes very low. Figure 11 is depicted for comparative analysis of the performance of error histogram for proposed time, flow rate, fractional parameter and fractal parameter in which the distribution of prediction errors with respect to the target output are emphasized. The central peak in each histogram demonstrates that the model achieves a high level of accuracy. The performance of error histogram showed the concentrated values around zero that indicated majority of predictions closely approximate with the target. It is observed that the error histogram distribution is narrow and symmetric around zero. For the sake of comparison, the consistently high frequency of errors near zero across all figures of error histogram confirms reliable performance. Figures 12 and 13a-d explored comparative analysis for the performance of predicted scale versus actual scale subject to regression fit for proposed time, flow rate, fractional parameter and fractal parameter in term target fitness. It is observed that training dataset exhibits a strong correlation between predicted output and target values, validation dataset showed similar consistent alignment with the target line, confirming that steam turbine model generalizes training data and on the testing dataset, the output–target relationship remains robust. This indicated that steam turbine model successfully captured the underlying input–output relationship during training, validation and testing exceptionally. For the sake of overall performance of regression fit, the combined fit validated the global applicability of the model because testing fit ensures predictive robustness on unseen data, validation fit establishes generalization without overfitting, and training fit confirms effective learning of patterns. To strengthen this section for practical steam turbine analysis and provide the physical justification behind the observed behaviors of figures from 3 to 14. Here, variation in pressure, flow rate and temperature reflected the expansion efficiency of the blades, irreversibility caused by frictional loss, control of stage temperatures and pressures ensures maximum efficiency.
To conclude, Fig. 14 is depicted for the validation of classical steam turbine model versus fractional steam turbine models under the setting of Caputo fractional operator at \(\:{\alpha\:}_{1}=1\), Caputo-Fabrizio fractional operator at \(\:{\alpha\:}_{2}=1\), Atangana-Baleanu fractional operator at \(\:{\alpha\:}_{3}=1\), and Yang-Abdel-Cattani fractional operator at \(\:{\alpha\:}_{4}=1\). Here, the analytical solutions for different steam turbine fractional models have been validated with classical steam turbine model identical operating condition. It is quite observable that all fractional steam turbine models converge precisely to the classical solution when the fractional order of each type is equal to unity.This validation of analytical solutions verifies that the fractional frameworks of steam turbine are generalized extensions of the classical steam turbine model which is capable of reproducing the same characteristics at unity.
(a) Comparative analysis for the performance of predicted scale versus actual scale for Caputo fractional differentiation in term of training, testing and validation. (b). Comparative analysis for the performance of predicted scale versus actual scale for Caputo-Fabrizio fractional differentiation in term of training, testing and validation. (c) Comparative analysis for the performance of predicted scale versus actual scale for Atangana-Baleanu fractional differentiation in term of training, testing and validation. (d) Comparative analysis for the performance of predicted scale versus actual scale for Yang-Abdel-Cattani fractional differentiation in term of training, testing and validation.
Validation of classical steam turbine model versus fractional steam turbine models under the setting of Caputo fractional operator at \(\:{\alpha\:}_{1}=1\), Caputo-Fabrizio fractional operator at \(\:{\alpha\:}_{2}=1\), Atangana-Baleanu fractional operator at \(\:{\alpha\:}_{3}=1\), and Yang-Abdel-Cattani fractional operator at \(\:{\alpha\:}_{4}=1\).
Conclusion
This comprehensive investigation successfully delineates the conclusion for the dynamic behavior of a steam turbine model by means of multiple fractional operators and artificial neural network analysis. The findings demonstrate that fractional calculus-based operators combined with neural network approaches effectively minimize uncertainty, improve predictive accuracy, and provide deep insights into steam turbine dynamics under varying operational conditions. The exceptional performance of the artificial neural network analysis model, evidenced by minimal absolute error, low mean squared error, and a strong regression fit across all datasets, confirms the model’s robustness and high predictive reliability. The following are key finding in terms of bullet form:
-
Comparative analysis revealed that the Sumudu approach under Caputo operator performed 20.2% better than Laplace, while Caputo–Fabrizio showed the opposite trend. The Atangana–Baleanu and Yang–Abdel-Cattani operators demonstrated similar stability across varying time domains.
-
Fractional parameters of multiple fractional definitions have strongly influenced oscillatory behavior, for instance low fractional parametric values induced large oscillations, while higher fractional parametric value smoothed transitions and stabilized turbine response.
-
Time domain variation indicated that fluctuating steam supply critically affects turbine efficiency, stability, and lifespan. Longer operating times enhanced turbine efficiency through thermal stabilization and steady-state flow.
-
Role of fractal parameters of transforms introduced irregular oscillations and nonlinearities, potentially destabilizing turbine performance at higher pressures.
-
Flow rate variations showed that higher flow rates amplify instability and error propagation at low pressures, highlighting the importance of optimal flow regulation.
-
Absolute error analysis demonstrated that prolonged operation with higher fractional parameters and improved numerical stability and reduced sensitivity to pressure variations.
-
Regression fit analysis validated the robustness of the model in which training fit confirmed effective learning of patterns, testing fit ensured predictive robustness on unseen data and validation fit established strong generalization without overfitting.
Data availability
The data that support the findings of this study are publicly available and the corresponding author can provide upon request.
References
Chaibakhsh, A. & Ghaffari, A. Steam turbine model. Simul. Model. Pract. Theory. 16, 1145–1162 (2008).
Jiang, P., Lin, G. & Yiping, D. A new non-linear model of steam turbine unit for dynamic analysis of power system. 2010 International Conference on Power System Technology 1–6. https://doi.org/10.1109/POWERCON.2010.5666735 (2010).
Wang, K., Chiasson, J., Bodson, M. & Tolbert, L. M. A nonlinear least-squares approach for identification of the induction motor parameters. IEEE Trans. Autom. Control. 50(10), 1622–1628. https://doi.org/10.1109/TAC.2005.856661 (2005).
Gharhremani, E., Karrari, M. & Malik, O. Synchronous generator third-order model parameter estimation using online experimental data. IET generation transmission distribution. 2, 708–719 (2008).
Zimmer, G. Modelling and simulation of steam turbine processes: individual models for individual tasks. Math. Comput. Model. Dyn. Syst. 14(6), 469–493. https://doi.org/10.1080/13873950802384001 (2008).
Szapajko, G. & Rusinowski, H. Theoretical-empirical model of the steam-water cycle of the power unit. Acta Montanist. Slovaca Ročnik. 15(1), 24–27 (2010).
Luo, X., Zhang, B., Chen, Y. & Songping, M. Modeling and optimization of a utility system containing multiple extractions steam turbines. Energy 36(5), 3501–3512 (2011).
Laskowski, R. M. A mathematical model of a steam condenser in off-design operation. J. Power Technol. 92, 101–108 (2012).
Gibson, C. A., Meybodi, M. A. & Behnia, M. Optimisation and selection of a steam turbine for a large scale industrial CHP (combined heat and power) system under Australia’s carbon price. Energy 61(C), 291–307 (2013).
Krzysztof, B. Mathematical model for digital simulation of steam turbine set dynamics and on-line turbine load distribution. Trans. Inst. Fluid-Flow Mach. 126, 65–82 (2014).
Genovski, I. & Hristov, K. Optimal heat load distribution between cogeneration steam turbine installations in combined heat and power (CHP) plant. J. MacroTrends Technol. Innov. 1, 30–46 (2024).
Tatarinova, N. V., Efros, Y. & Sushchikh, V. M. Results of a calculation based on mathematical models of variable operating modes of cogeneration steam turbine plants in real operating conditions. Perspektivy nauki. 3(54), 95–100 (2014).
Plis, M. & Rusinowski, H. Mathematical modelling of single pressure heat recovery steam generator. Proc. 16th Int. Carpathian Control Conf. 315-320, Szilv–sv (2015).
Murmanskii, B. E., Aronson, K. E. & Brodov, Y. M. Estimation of the residual life of steam-turbine condensers based on statistical models. Therm. Eng. 62, 785–789. https://doi.org/10.1134/S0040601515110051 (2015).
Shempelev, A. G., Sushchikh, V. M. & Iglin, P. V. On the results of comparing the calculated and standard characteristics of condensers of steam turbine units in a wide range of their steam loads. Energetik 10, 60–64 (2015).
Inkyu, C., Joohee, W., Byoungchul, K. & Gihun, S. Application of dynamic model for steam turbine and its parameter estimation in a fossil fired power plant. KEPCO J. Electr. Power Energy. 2(3). https://doi.org/10.18770/KEPCO.2016.02.03.409 (2016).
Rusinowski, H. & Plis, M. Mathematical model of a steam turbine for the thermal diagnostics system, 17th International Carpathian Control Conference (ICCC), High Tatras, Slovakia, 630–634, (2016). https://doi.org/10.1109/CarpathianCC.2016.7501172
Zhu, Q., Luo, X., Zhang, B., Chen, Y. & Songping, M. Mathematical modeling, validation, and operation optimization of an industrial complex steam turbine network-methodology and application. Energy 97(C), 191–213 (2016).
Murmansky, B. E., Aronson, K. E. & Brodov, Y. M. An expert system for diagnostics and estimation of steam turbine components condition. J. Phys. : Conf. Ser. 891, 012279. https://doi.org/10.1088/1742-6596/891/1/012279 (2017).
Khalili, R. & Karrari, M. Modeling and identification of an industrial gas turbine using classical and non-classical approaches, Electrical Engineering (ICEE), Iranian Conference on, 2017. IEEE, 667–672. (2017).
Munirah, W. M., Tahir, A. & Azmirul, A. Identifying the uncertain model parameter of a steam turbine system. Pertanika J. Sci. Technol. 25(2), 545–560 (2017).
Ramtin, K., Hadi, R., Abolfazl, K., Behrooz, Z. & Mehdi Ki, Shahab, K. Mathematical modelling and parameter estimation of an industrial steam turbine-generator based on operational data. IFAC Papers On-line. 51(2), 214–219 (2018).
Mohamad, W. M., Ahmad, T., Karim, A. & Ashaari, A. Fuzzy arithmetical modeling of a steam turbine and a boiler system. Math. Modelling Anal. 23(1), 101–116. https://doi.org/10.3846/mma.2018.007 (2018).
Abdullah, H. M., Mustafa, G., Chaudri, K. S. & Abid, M. and Modeling of an extraction steam turbine and speed control system design. Nucleus (2021). https://api.semanticscholar.org/CorpusID:275960849
Shavdinova, M. Mathematical model of a steam turbine condenser. Therm. Eng. 69(9), 674–682 (2022).
Kravets, T. & Riabokon, H. Development of a mathematical model for obtaining energy characteristics of the turbine unit with the K-325-23.5 steam turbine. Energy Eng. Control Syst. 8(2), 81–89. https://doi.org/10.23939/jeecs2022.02.081 (2022).
Mircea Dulau, D. & Bica Mathematical modelling and simulation of the behaviour of the steam turbine. Procedia Technol. 12, 723–729. https://doi.org/10.1016/j.protcy.2013.12.555 (2014).
Podlubny, I. Fractional Differential Equations (Academic, 1999).
Ibrahim Mahariq, K. A., Abro, A. & Siyal Energy transfer and thermal transport for unsteady fractional viscous fluid under Fourier and statistical analysis. Propuls. Power Res. https://doi.org/10.1016/j.jppr.2025.02.005 (2025).
Caputo, M. & Fabrizio, M. A. New definition of fractional derivative without singular kernel. Prog Fract. Diff Appl. 1, 73–85 (2015).
Abro, K. A., Memon, I. Q., Mohamed, K. S. & Aldwoah, K. Neurobiological transition of magnetized and demagnetized dynamism for fractional Hindmarsh–Rose neuron model via fractal numerical simulations. J. Comput. Electron. 24, 33. https://doi.org/10.1007/s10825-024-02243-9 (2025).
Atangana, A. & Baleanu, D. New fractional derivative with non-local and non-singular kernel: theory and application to heat transfer model. Therm. Sci. 20, 763–769 (2016).
Abro, K. A. & Mahariq, I. Fractal performance under magnetization procedures of fractional memristive Wilson neuron dynamical model. Int. J. Numer. Model. Electron. Networks Devices Fields. 38, e70016. https://doi.org/10.1002/jnm.70016 (2025).
Ambreen, S. & Kashif, A. A. A fractal model for thermal analysis of Newtonian fluid to forecast thermal behavior. J. Therm. Anal. Calorim. (2024) DOI :https://doi.org/10.1007/s10973-024-13519-4
Yang, X. J., Abdel-Aty, M. & Cattani, C. A new general fractional order derivative with Rabotnov fractional exponential kernel applied to model the anomalous heat. Therm. Sci. 23(3A), 1677–1681 (2019).
Amarah Akhund, K. A. & Abro Fractal modeling of non-integer Newtonian fluid through comparison of Sumudu and Laplace transforms. Int. J. Geom. Methods Mod. Phys. https://doi.org/10.1142/S0219887824503286 (2024).
Ashraf, W. M. & Dua, V. Data Information integrated Neural Network (DINN) algorithm for modelling and interpretation performance analysis for energy systems. Energy AI. 16, 100363 (2024).
Ansar, T. & Ashraf, W. M. Comparison of Kolmogorov–Arnold Networks and Multi-Layer Perceptron for modelling and optimisation analysis of energy systems. Energy AI. 20, 100473 (2025).
Ishfaq, K., Sana, M. & Ashraf, W. Artificial intelligence–built analysis framework for the manufacturing sector: performance optimization of wire electric discharge machining system. Int. J. Adv. Manuf. Technol. 128(11), 5025–5039 (2023).
Acknowledgments
This work was supported by the Deanship of Scientific Research, Vice Presidency for Graduate Studies and Scientific Research, King Faisal University, Saudi Arabia [Grant No. KFU254176]. Also this work was supported by the European Union under the REFRESH – Research Excellence For Region Sustainability and High-tech Industries project number CZ.10.03.01/00/22_003/0000048 via the Operational Programme Just Transition.
Funding
This work was supported by the Deanship of Scientific Research, Vice Presidency for Graduate Studies and Scientific Research, King Faisal University, Saudi Arabia [Grant No. KFU254176].
Author information
Authors and Affiliations
Contributions
Conceptualization, Kashif Ali Abro, methodology, Aymen Flah and Kashif Ali Abro.; software, Kashif Ali Abro and Aymen Flah; validation, Kashif Ali Abro and Aymen Flah; formal analysis, Aymen Flah and Kashif Ali Abro; investigation, Kashif Ali Abro and Aymen Flah; data curation, Aymen Flah and Kashif Ali Abro; writing—original draft preparation, Kashif Ali Abro and Aymen Flah. Conceptualization, Kashif Ali Abro and Basma Souayeh, methodology, Aymen Flah and Kashif Ali Abro.; software, Kashif Ali Abro and Basma Souayeh; validation, Kashif Ali Abro and Aymen Flah; formal analysis, Aymen Flah and Basma Souayeh; investigation, Kashif Ali Abro and Aymen Flah; data curation, Basma Souayeh and Kashif Ali Abro; writing—original draft preparation, Kashif Ali Abro, Aymen Flah and Basma Souayeh.
Corresponding authors
Ethics declarations
Competing interests
The authors declare no competing interests.
Additional information
Publisher’s note
Springer Nature remains neutral with regard to jurisdictional claims in published maps and institutional affiliations.
Rights and permissions
Open Access This article is licensed under a Creative Commons Attribution-NonCommercial-NoDerivatives 4.0 International License, which permits any non-commercial use, sharing, distribution and reproduction in any medium or format, as long as you give appropriate credit to the original author(s) and the source, provide a link to the Creative Commons licence, and indicate if you modified the licensed material. You do not have permission under this licence to share adapted material derived from this article or parts of it. The images or other third party material in this article are included in the article’s Creative Commons licence, unless indicated otherwise in a credit line to the material. If material is not included in the article’s Creative Commons licence and your intended use is not permitted by statutory regulation or exceeds the permitted use, you will need to obtain permission directly from the copyright holder. To view a copy of this licence, visit http://creativecommons.org/licenses/by-nc-nd/4.0/.
About this article
Cite this article
Abro, K.A., Souayeh, B. & Flah, A. Comparative behavior of steam turbine model for dynamical power system analyses by means of multiple fractional and artificial neural network techniques. Sci Rep 16, 10882 (2026). https://doi.org/10.1038/s41598-026-45449-6
Received:
Accepted:
Published:
Version of record:
DOI: https://doi.org/10.1038/s41598-026-45449-6
















