Abstract
This work aims to reveal the complex relationship between hydrogen embrittlement behavior and microstructure of X80 pipeline. The influence of the microstructure difference between X80 pipeline base metal and weld metal on the hydrogen induced damage and hydrogen permeation behavior of the material are investigated by fracture toughness testing, fatigue crack growth rate testing and hydrogen permeation testing. The metallographic structures are analyzed by scanning electron microscope and electron back scatter diffraction. The fatigue crack growth rate test results that fatigue crack growth rate of weld metal is slower than that of base metal in both hydrogen-containing and hydrogen-free environment. The metallography shows that this phenomenon is due to the action of fine-grain strengthening. However, the results of fracture toughness test and hydrogen penetration test show that the hydrogen embrittlement sensitivity of weld metal is higher than that of base metal. This is mainly caused by the more uneven microstructure distribution, the higher differences of local grain size, and the formation of micro-pores and microcracks in some areas for the weld. These results are expected to be used to avoid the risk of hydrogen induced embrittlement failure in the pipeline during hydrogen transportation.
Introduction
With the rapid development of human society, the global demand for energy has increased significantly1,2, and the energy demand is expected to grow nearly three times by the end of the century3,4,5. The depletion of traditional fossil energy and the greenhouse effect are becoming increasingly prominent6,7,8,9. As a representative of new clean energy, hydrogen energy carrier has attracted extensive attention, and the development of hydrogen containing coal to natural gas is considered as a model of traditional energy clean utilization10,11,12,13,14. Undoubtedly, the most suitable way to transport hydrogen is the existing natural gas pipeline network as its low cost5. As an important process of long-distance pipeline connection, welding joints will have serious uneven structure due to the thermal effect of welding. Welding defects, such as inclusions, pores and cracks, may increase the risk of hydrogen-induced embrittlement failure during hydrogen transport15.
Alvaro et al.16 find that 0.6 MPa hydrogen can make the fracture toughness of X70 welded joint fell by about 60%, seriously damaging the material mechanics performance, and this is mainly affected by some special organization structure in the weld microstructure, such as Martensite/austenitic (M/A) constituents and upper bainite. These kinds of organization are more susceptible to hydrogen, and under the interaction of stress and hydrogen, cracks will initiate and propagate at these microstructures. What’s more, due to the influence of welding temperature, the properties of the weld joints do not match the properties of base metal, and sometimes, the residual stress may make fracture failure more likely occur in the location of the welded joints. Chatzidouros et al.17 report that that the higher sensitivity of hydrogen embrittlement in X70 heat affected zone is mainly related to the formation of banded ferrite-pearlite in the heat affected zone, and the differences in microstructure resulted in the differences in properties between the base metal and heat affected zone. Zhao et al.18 also find that due to the coarse grains and straight grain boundaries in the organization of weld joints, the hydrogen diffusion coefficient of X80 weld metal increases, making the weld joints to be a weak link in the service of the pipeline. In conclusion, there is a complex relationship between hydrogen embrittlement sensitivity and the microstructure of materials. Although a certain degree of investigation has been carried out on hydrogen transportation by existing pipelines, there is no systematic study on the risk of hydrogen induced failure in X80 pipelines, especially in the weld joints15,19,20,21,22. Therefore, it is of great practical significance to study the differences between the microstructure of base metal and weld joint of X80 pipeline steel on the hydrogen embrittlement behavior.
In the present work, due to the differences in the uniformity of microstructure between the base metal and the weld metal, hydrogen induced damage and hydrogen permeation behavior between X80 base metal and weld metal are studied, respectively. It is found that the fatigue crack growth rate of weld metal is slower than that of the base metal in both hydrogen and non-hydrogen environments, and this is mainly determined by the finer grain size for weld metal than base metal. The results of fracture toughness test and hydrogen penetration test show that the hydrogen embrittlement sensitivity of the weld metal is higher than that of the base metal, which is mainly ascribed to the more uneven microstructure distribution of the weld, the higher differences of local grain size of the weld, and the formation of micro-pores and microcracks in some areas of the weld.
Experimental details
Materials and specimens
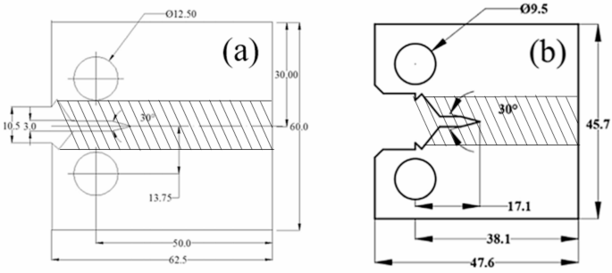
The material of base metal and girth weld (flux-cored arc welding, FCAW) metal used in this study is a high-strength X80 pipeline steel with the thickness of 22 mm and the diameter of 1218 mm. The chemical compositions of the pipeline can be seen in Table 1 and the mechanical performance parameters can refer to our previous work21,22. The specimen used for metallographic phase and hydrogen permeation is a polished disk with the diameter of 25 mm and thickness of 2 mm, and the specimens used for fracture toughness test and fatigue crack growth rate test are displayed in Fig. 1. The girth weld material is placed in the center of the sample to ensure that cracks will propagate in the weld area.
(a) Fatigue crack growth rate test specimen with a thickness of 12.5 mm; (b) fracture toughness test specimen with a thickness of 12.7 mm. When testing base metal or weld metal, it is necessary to ensure that the shaded area in the middle of the specimen is base metal or weld material, respectively.
Microstructure analysis
The metallographic structures and fracture surfaces are observed and analyzed by an optical microscope (OM) and a scanning electron microscope (SEM, FEI Quanta 200F), respectively. The preparation method of the sample is to use SiC papers to gradually grind the specimen to 1200 grit, and then polish it to 1 μm. For the sample used for electron back scatter diffraction (EBSD) observation, it is also necessary to use electropolishing method to remove the surface strain layer on the polished samples, and then use ion thinning equipment to bombard the sample surface for observing the Kikuchi diffraction pattern of the material. During the electropolishing process, the electrolytic polishing solution is prepared from 665 mL CH3COOH + 35 mL H2O + 125 g CrO3, and the electrolytic voltage and the time are set to 30 V and 4 min, respectively.
Test environment
The fracture toughness and fatigue crack growth rate tests are performed in an in-situ hydrogen environment by using the universal material testing machine (Instron 8801) with a pressure vessel capable of withstanding gas pressure up to 20 MPa. The experimental gas environment containing hydrogen is a mixed gas composed of high-purity hydrogen (99.999%) and high-purity nitrogen (99.999%). To simulate the actual environment for transporting hydrogen containing media in pipelines, the total pressure of the mixed gas is set to 12 MPa, with hydrogen partial pressure set to 0.6 MPa and the rest filled with nitrogen. Since the fatigue properties of the material are nearly identical in air and pure nitrogen, fatigue crack growth rate and fracture toughness tests in hydrogen-free environments are conducted in air and pure nitrogen, respectively. All experiments are performed at room temperature.
Fracture toughness testing
The fracture toughness test is based on the standard GB/T 21,143-2014. The compact tensile (CT) specimens are used for fracture toughness testing, and the details can be seen in Fig. 1b. In the air, a 2 mm crack is prefabricated on the sample under cyclic loading, and the ratio of the distance from the crack tip to the loading line (a0/W) is about 0.5. During precracking process, the parameters of the constant ΔK, the frequency and the stress ratio (R) are set to be 30 MPa·m0.5, 10 Hz and 0.1, respectively. A side groove with a depth of 10% of the sample thickness (~ 1.27 mm) is designed to prevent cracks from deviating from the propagation path. During the fracture toughness testing, the loading rate of 0.012 mm/min is adopted, and the displacement of the loading line is measured using an extensometer.
Fatigue crack growth rate testing
Figure 1a gives the details of compact tensile specimens used for the fatigue crack growth rate testing. According to standard ASTM E647, the width and thickness of the specimens are set to be 62.5 mm and 12.5 mm, respectively. The CT specimens used for fatigue crack growth rate testing is first prefabricated with a 1 mm crack through wire cutting, and then prefabricated with a micro-crack (~ 0.2 mm) through fatigue crack propagation. The micro-crack is prefabricated by using constant load amplitude control with a load amplitude of 8 kN, and the frequency is 5 Hz. The extensometer is used for testing the crack opening displacement (COD). The frequency of fatigue crack growth rate testing is 1 Hz and the constant stress ratio (R) is 0.1.
Hydrogen permeation testing
A disk sample used for hydrogen permeation testing is prepared by using SiC papers to gradually grind to 1200 grit, and then polishing to 1 μm. Then, the sample needs to be nickel plated, and the current density used for nickel plating is 5 mA/ cm2 and the time is 5–10 s. The hydrogen permeation tests are performed in a dedicated device with an anode bath and a cathode bath, and the details of the device can be seen in our previous work8. The test side of the sample is exposed to the anode bath with a solution of 0.2 mol /L NaOH, while the other side which exposed to the cathode bath with a solution of 0.2 mol/L H2SO4 + 3 g/L NH4SCN acts as the hydrogen-charged side. The hydrogen permeation experiments are conducted at room temperature.
Results and discussions
Fatigue crack growth rate test
It is generally considered that the heat-affected zone (HAZ) of welding is the weakest area of pipeline steel, where cracks and fracture failures are more likely to occur17. Figure 2 shows the fatigue crack growth rates of base metal and weld joint metal of X80 pipeline steel in air and hydrogen environment at room temperature. It can be seen from the figure that the crack growth rate of the weld metal is lower than that of the base metal in both hydrogen and non-hydrogen environments.
With the introduction of hydrogen, the crack growth rate increases greatly. This indicates that under the action of hydrogen and cyclic load, cracks in both base metal and weld metal are more likely to initiate23, and the interaction between hydrogen and load greatly improves the ability of crack propagation. By comparing the da/dN values of base metal and weld metal in air and hydrogen when ΔK is 35 MPa·m0.5, it can be found that in hydrogen environment, the da/dN of base metal increases by about 10 times, while the da/dN of weld metal increases by about 16 times. This indicates that although the crack growth rate of the weld is slower than that of the base metal in both air and hydrogen, the effect of hydrogen on the weld metal is more significant.
Microstructure
Figure 3 is the metallographic diagrams of base metal and weld metal of X80 pipeline steel. It can be found from the metallography that the microstructures of base metal and weld metal are mainly composed of polygonal ferrite (PF) and granular bainite (GB). The difference is that the grain of the weld metal is finer than that of the base metal. The content of PF in the base metal is higher, while the content of PF in the weld metal is relatively small, and the main content is GB. The finer grain may be the reason why the fatigue crack growth rate of the weld metal is slower than that of the base material24,25.
Figure 4 is the electron backscatter diffraction (EBSD) diagram of base metal and weld metal of X80 pipeline steel. It can be seen from the figure that the grain size of base metal is larger, and the grain size of weld is smaller than that of base metal, which is consistent with the results of Fig. 3. However, it can be found from the EBSD diagram that the microstructure of the base metal is more uniform than that of the weld, and the distribution of grain boundaries is more uniform and there are few cracks and other defects. Although the grain of the weld metal is finer than that of the base metal, the distributions of the microstructure and grain size are disorderly, and in the vicinity of some microstructure with large difference in grain size, even small cracks and holes appear. When the fatigue crack propagation tests are carried out under relatively small loads, the influence of these defects in the weld metal on the material properties may not be obvious, resulting in the fatigue crack propagation rate of the weld metal is better than that of the base metal. However, when the load of the material increases, cracks, holes and other defects in the weld metal will seriously affect the mechanical properties of the material.
Fracture toughness tests
Figure 5 shows the fracture toughness of base metal and weld metal of X80 pipeline steel in hydrogen and non-hydrogen environments at room temperature. In the hydrogen environment, the partial pressure of hydrogen is 0.6 MPa, the total pressure is 12 MPa, and the remaining pressure is balanced by high-purity nitrogen. High-purity nitrogen is used in the hydrogen-free environment, and the pressure is 12 MPa. The test data are shown in Table 2, and the parameters can be calculated by the formulas as below26:
K is the stress intensity factor, in MPa • m0.5; E is the elastic modulus, in Pa; υ is Poisson’s ratio; Up is the plastic strain energy, in J; a0 is the crack length, in mm; W is the width of the specimen, in mm; BN is the net thickness of the specimen between the grooves on both sides, in mm. It can be seen from Fig. 5a and Table 2 that the fracture toughness of X80 base metal and weld metal in the absence of hydrogen are 422 kJ·m−2 and 403 kJ·m−2, respectively. The value of fracture toughness is the average of three tests, with an error between 4.3 and 10.7%. The fracture toughness of the base metal is slightly higher than that of the weld metal. However, in hydrogen environment, the fracture toughness of X80 base metal and weld are 407 kJ·m−2 and 294 kJ·m−2, respectively, which decrease by about 3.55% and 27.05%, and this result is consistent with the results of metallography and EBSD mapping. Although the grain size of the weld metal of X80 pipeline steel is finer, the distribution of grain boundaries and size of the grain is intricate and disorderly, and even some cracks and holes are produced in the position where the grain distribution is extremely uneven. When the stress level is low, these defects in the material may have no obvious impact on the material properties, and the weld metal shows better mechanical properties than the base material due to the small grain size of the weld, such as fatigue crack growth rate. However, with the entry of hydrogen and the increase of stress level, the impact of these defects on the material properties begin to highlight, leading to a serious decline in the mechanical properties of the weld metal. The fine-grained microstructure of the weld provides a substantial grain boundary area, which serves as an efficient diffusion pathway for hydrogen. The uneven grain size distribution induces stress concentration, driving hydrogen accumulation in these regions. Pre-existing defects and microcracks act as readily available crack initiation sites, which preferentially propagate and coalesce under the combined effects of internal hydrogen pressure and external loading. Based on these observations, it is hypothesized that both the Hydrogen-Enhanced Localized Plasticity (HELP) mechanism and the hydrogen pressure theory likely dominate the fracture process. The HELP mechanism facilitates localized plastic deformation near defects, while the hydrogen pressure theory directly promotes the propagation of microcracks until final fracture occurs. Consequently, despite the finer grain structure of the weld, the combined effects of its higher defect density and significant microstructural heterogeneity result in a pronounced reduction in fracture toughness in hydrogen-containing environments. This makes the cracks and failures more likely to occur at weld metal, so that the weld joints are the weak link in the pipeline service.
More details can be observed from SEM images of fracture morphology of fracture toughness specimens. Figure 6 is the fracture morphology of the base metal and weld metal in hydrogen-free and hydrogen-containing environments. It can be seen from Fig. 6a and b that the fracture section of the base metal in both hydrogen-free and hydrogen-containing environments contains a large number of dimples, which means that the hydrogen embrittlement effect on the base material in 0.6 MPa hydrogen is relatively small, however, the significantly smaller dimple size in hydrogen containing environment and the presence of microcracks in hydrogen containing environment indicate that hydrogen has a slight impact on the fracture toughness of the base metal, which is consistent with the experimental results of fracture toughness. As can be seen from Fig. 6c and d, there are also a large number of dimples on the fracture surface of the weld metal in hydrogen free environment, which is considered as ductile fracture. However, there are also many obvious cracks in the fracture, which may be due to existing defects within the material, or due to small defects or weak grain boundary extension joints under the action of forces. In hydrogen containing environment, the fracture morphology is mainly quasi-cleavage fracture with obvious hydrogen embrittlement characteristics, and some large cracks have appeared on the surface of the fracture. This is because defects in the material can trap hydrogen atoms, forming hydrogen traps. Since there are large amounts of defects in the weld metal, more hydrogen atoms will enter the material, and the corresponding degree of hydrogen embrittlement will be more serious than base metal.
Hydrogen permeation tests
Figure 7 shows the hydrogen permeation curves of X80 pipeline steel base metal and weld metal. It can be seen that under the same hydrogen charging condition, the hydrogen permeation current density of X80 pipeline steel base metal is 3.95 μA·cm−2, while that of weld metal is 10.29 μA·cm−2. The hydrogen permeation current density of the weld metal is about 2.61 times that of the base metal. The hydrogen permeation current density can represent the amount of hydrogen atoms entering the material. It can be found from the hydrogen permeation current density that, under the same hydrogen charging condition, the amount of hydrogen atoms entering the X80 weld metal is much higher than that of the base metal. The lag time tL is defined as the time corresponding to the 0.63 times hydrogen permeation current density, which represents the time required for hydrogen atoms to permeate from one side of the sample to the other. It can also be seen from Fig. 7 that the lag time of weld metal is 590 s, while that of base metal is 1502 s, indicating that hydrogen atoms move faster in X80 pipeline steel weld metal than in base metal. As can be seen from Figs. 5 and 6, this is because there are more defects in the weld metal of X80 pipeline steel than in the base metal. Therefore, under the same hydrogen charging condition, more hydrogen will enter the weld metal, making the hydrogen embrittlement degree of the weld metal more serious than that of the base metal. When the weld metal is subjected to stress, the internal defects will expand rapidly and join together to form larger cracks under the influence of stress. Hydrogen can move rapidly in the material with the growth of these cracks. Therefore, hydrogen can permeate faster in the weld metal. According to the data obtained in Fig. 7, hydrogen diffusion coefficient D and surface hydrogen concentration Capp of base metal and weld metal of X80 pipeline steel can be obtained. The D and Capp of base metal of X80 pipeline steel are 4.44 × 10–4 mm2·s−1 and 1.84 × 10–2 mol·cm−3, and the D and Capp of the weld metal are 1.13 × 10–3 mm2·s−1 and 1.89 × 10–2 mol·cm−3. It can be found that the hydrogen embrittlement sensitivity of the weld metal is higher than that of the base metal, which indicates that the weld area is the weakest link in X80 pipeline steel.
Conclusions
In this paper, the heterogeneity of the structure between the base metal of X80 pipeline steel and the welding heat-affected zone is used to study the difference in hydrogen-induced damage and hydrogen penetration behavior between the structures. According to the test results obtained in this paper, the following conclusions can be drawn:
-
(1)
In hydrogen-containing or hydrogen-free environments, the fatigue crack growth rate of the X80 pipeline weld metal is slower than that of the base metal. This is because the weld metal has a finer grain compared with the base metal. Under the action of fine-grain strengthening, the fatigue crack growth performance of the weld metal is better than that of the base metal.
-
(2)
Fracture toughness and hydrogen permeation tests show that the hydrogen embrittlement sensitivity of X80 pipeline steel weld is higher than that of the base metal. This is mainly due to the uneven microstructure distribution of the weld metal and a large number of internal defects such as cracks and holes. Under the interaction of hydrogen and stress, hydrogen atoms are more likely to aggregate at the weld metal, leading to the easier initiation and propagation of cracks. This in turn accelerates the movement of hydrogen atoms, ultimately increasing the sensitivity of the weld metal to hydrogen embrittlement.
Data availability
All data generated or analyzed during this study are included in this published article. These data can also be obtained from the corresponding author on reasonable request.
References
Chen, Y. et al. Observation of hydrogen trapping at dislocations, grain boundaries, and precipitates. Science 36, 171–175 (2020).
Koyama, M., Akiyama, E., Sawaguchi, T., Raabe, D. & Tsuzaki, K. Hydrogen-induced cracking at grain and twin boundaries in an Fe–Mn–C austenitic steel. Scr Mater. 66, 459–462 (2012).
Wei, H. et al. Influence of hydrogen in natural gas mixed hydrogen environment on mechanical properties of X80 pipeline steel. Int. J. Hydrogen Energy 54, 908–921 (2024).
Lu, H., Guo, B., Chen, X., Yao, J. & Liu, B. Numerical investigation on leakage and diffusion characteristics of buried hydrogen-blended natural gas pipelines. Int. J. Hydrogen Energy 59, 1491–1506 (2024).
Thomas, A. & Szpunar, J. A. Hydrogen diffusion and trapping in X70 pipeline steel. Int. J. Hydrogen Energy 45, 2390–2404 (2020).
Wang, H., Ming, H., Wang, J., Ke, W. & Han, E.-H. Hydrogen permeation behavior at different positions in the normal direction of X42 and X52 pipeline steels. Int. J. Hydrogen Energy 72, 1105–1115 (2024).
Zhang, J., Li, H., Yang, B., Wu, B. & Zhu, S. Fatigue properties and fatigue strength evaluation of railway axle steel: Effect of micro-shot peening and artificial defect. Int. J. Fatigue 132, 105379 (2020).
Luo, B. et al. Vapor-deposited iron sulfide films as a novel hydrogen permeation barrier for steel: Deposition condition, defect effect, and hydrogen diffusion mechanism. Int. J. Hydrogen Energy 43, 15564–15574 (2018).
Han, Y. et al. Microstructure and properties of intercritically reheated coarse-grained heat affected zone in pipeline steel after secondary thermal cycle. Int. J. Hydrogen Energy 46, 26445–26456 (2021).
Al-Mansour, M., Alfantazi, A. M. & El-Boujdaini, M. Sulfide stress cracking resistance of API-X100 high strength low alloy steel. Mater. Des. 30, 4088–4094 (2009).
Dong, C. F., Liu, Z. Y., Li, X. G. & Cheng, Y. F. Effects of hydrogencharging on the susceptibility of X100 pipeline steel to hydrogen-induced cracking. Int. J. Hydrogen Energy 34, 9879–9884 (2009).
Mustapha, A., Charles, E. A. & Hardie, D. Evaluation of environment-assisted cracking susceptibility of a grade X100 pipeline steel. Corrosion Sci. 54, 5–9 (2012).
Zhou, C., Ye, B., Song, Y., Cui, T. & Zhang, L. Effects of internal hydrogen and surface-absorbed hydrogen on the hydrogen embrittlement of X80 pipeline steel. Int. J. Hydrogen Energy 44, 22547–22558 (2019).
Asadipoor, M., Anaraki, A. P., Kadkhodapour, J., Sharifi, S. M. H. & Barnoush, A. Macro- and microscale investigations of hydrogen embrittlement in X70 pipeline steel by in-situ and ex-situ hydrogen charging tensile tests and in-situ electrochemical micro-cantilever bending test. Mater. Sci. Eng. 772, 138762 (2020).
Peng, H. et al. Investigation of hydrogen embrittlement susceptibility of X80 weld joints by thermal simulation. J. Mater. Eng. Perform. 27, 1–11 (2018).
Alvaro, A., Olden, V. & Akselsen, O. M. 3D cohesive modelling of hydrogen embrittlement in the heat affected zone of an X70 pipeline steel: Part II. Int. J. Hydrogen Energy 38, 3528–3541 (2014).
Chatzidouros, E. V., Papazoglou, V. J., Tsiourva, T. E. & Pantelis, D. I. Hydrogen effect on fracture toughness of pipeline steel welds, with in situ hydrogen charging. Int. J. Hydrogen Energy 36, 12626–12643 (2011).
Zhao, W., Zhang, T., Zhao, Y., Sun, J. & Wang, Y. Hydrogen permeation and embrittlement susceptibility of X80 welded joint under high-pressure coal gas environment. Corrosion Sci. 111, 84–97 (2016).
Capelle, J., Gilgert, J. & Pluvinage, G. A fatigue initiation parameter for gas pipe steel submitted to hydrogen absorption. Int. J. Hydrogen Energy 35, 833–843 (2010).
Alhussein, A., Capelle, J., Gilgert, J., Dominiak, S. & Azari, Z. Influence of sandblasting and hydrogen on tensile and fatigue properties of pipeline API 5L X52 steel. Int. J. Hydrogen Energy 36, 2291–2301 (2011).
Zhang, S. et al. Investigating the influence mechanism of hydrogen partial pressure on fracture toughness and fatigue life by in-situ hydrogen permeation. Int. J. Hydrogen Energy 46, 20621–20629 (2021).
An, T. et al. Influence of hydrogen pressure on fatigue properties of X80 pipeline steel. Int. J. Hydrogen Energy 42, 15669–15678 (2017).
Fu, Z. et al. Effects of hydrogen and load frequency on the fatigue crack propagation behavior of selective laser melted Inconel 718 alloy. Int. J. Fatigue 160, 106848 (2022).
Rahman, K. M., Vorontsov, V. A. & Dye, D. The effect of grain size on the twin initiation stress in a TWIP steel. Acta Mater. 89, 247–257 (2015).
Denda, T., Kikuchi, H., Teramoto, T. & Saito, M. Effect of grain size on fatigue life and fatigue crack growth mechanism of IN 718. Trans Jpn Soc Mech Eng Ser 60, 1746–1752 (1994).
An, T. et al. Synergistic action of hydrogen gas and weld defects on fracture toughness of X80 pipeline steel. Int. J. Fatigue 120, 23–32 (2019).
Acknowledgements
The authors gratefully acknowledge Prof. Shuqi Zheng (China University of Petroleum, Beijing) for his valuable comments on the manuscript.
Funding
We acknowledge the financial support of the Shandong Provincial Natural Science Foundation (No. ZR2022QA009) and Science and Technology Development Plan of Weifang (No. 2022GX004).
Author information
Authors and Affiliations
Contributions
S.Z. and Z.B. wrote the main manuscript text and J.L. prepared all figures. All authors reviewed the manuscript.
Corresponding author
Additional information
Publisher’s note
Springer Nature remains neutral with regard to jurisdictional claims in published maps and institutional affiliations.
Rights and permissions
Open Access This article is licensed under a Creative Commons Attribution-NonCommercial-NoDerivatives 4.0 International License, which permits any non-commercial use, sharing, distribution and reproduction in any medium or format, as long as you give appropriate credit to the original author(s) and the source, provide a link to the Creative Commons licence, and indicate if you modified the licensed material. You do not have permission under this licence to share adapted material derived from this article or parts of it. The images or other third party material in this article are included in the article’s Creative Commons licence, unless indicated otherwise in a credit line to the material. If material is not included in the article’s Creative Commons licence and your intended use is not permitted by statutory regulation or exceeds the permitted use, you will need to obtain permission directly from the copyright holder. To view a copy of this licence, visit http://creativecommons.org/licenses/by-nc-nd/4.0/.
About this article
Cite this article
Zhang, S., Bi, Z. & Li, J. Investigating the effect of microstructure difference on hydrogen embrittlement sensitivity of X80 pipeline. Sci Rep 15, 37057 (2025). https://doi.org/10.1038/s41598-025-20930-w
Received:
Accepted:
Published:
Version of record:
DOI: https://doi.org/10.1038/s41598-025-20930-w






