Abstract
Laterally loaded large diameter caissons that exhibit rigid body motion are often analyzed by modeling the soil as equivalent springs. Equivalent soil spring stiffness is usually developed empirically. In this study, the soil spring stiffnesses are developed rigorously considering three-dimensional caisson-soil interaction based on a continuum-based analytical framework. A laterally loaded rigid circular caisson embedded in elastic soil is analyzed using the principle of virtual work. The soil displacement field is chosen based on the geometry and kinematics of the caisson, and the vertical displacement of the soil caused by the large-diameter caisson rotation is explicitly considered in the analysis, which has been neglected in previous studies. An iterative algorithm is used to obtain the solutions. It is shown that the caisson-soil interaction can be represented by a five-spring model along the shaft and at the base of the caisson. The equations of these spring stiffnesses are mathematically derived from the analysis without recourse to empiricism. Similarly, the equivalent spring stiffnesses of the caisson-soil system replacing the caisson and soil continuum are derived analytically from the solution. Based on the detailed parametric studies, fitted algebraic equations for these spring stiffnesses are obtained, which can be readily used by practicing engineers.
Similar content being viewed by others
Introduction
Caissons are a type of deep foundations used for supporting heavy structures like bridges, high rise towers, heliostats, and silos1,2. These are rigid and stubby foundations with large diameters and low aspect (length to diameter) or slenderness ratio ranging between 2 and 52. Well foundations are a variant of caissons with the slenderness ratio also varying between 2 and 5 that are used as bridge foundations in India. Several important bridges like the Tagus bridge in Portugal, San Francisco–Oakland Bay and Brooklyn bridges in the USA, Port Island and Nishinomiya-ko bridges in Japan, and Howrah and Ganga bridges in India have been constructed on caissons or well foundations. Design of caissons and well foundations against the ultimate limit state can be performed by calculating the load bearing capacity using the limit equilibrium-based analysis3 or continuum-based analysis4,5,6,7. For design against the serviceability limit states, vertical and lateral displacements of caissons are checked against the corresponding allowable values.
Lateral loads and moments acting at the caisson head arise from the actions of wind, wave, traffic or earthquake on the superstructure it supports, and accurate analysis under these lateral loads and moments is required for design of caissons against the serviceability limit states. The traditional analysis of laterally loaded slender piles with translational Winkler soil springs is not applicable for caissons8 because of their low slenderness ratios. The large diameters of the caissons generate non-negligible vertical displacements at the caisson-soil interface as the caisson rotates under external lateral loads and moments. Thus, the effect of vertical soil displacement (and the corresponding resistance of soil) should be taken into account using rotational soil springs. However, there is no analytical method available in the literature for determination of the translational and rotational spring stiffnesses for analysis of stubby caissons.
In previous studies, Gerolymos & Gazetas, (2006)9 and Varun et al., (2009)2 analyzed laterally loaded caissons using four-spring models in which distributed translational and rotational soil springs along the side of the caisson and concentrated shear translational and rotational springs at the base of the caisson were used. Chiou et al., (2012)10, based on the recommendations of the Japan Road Association (1990)11, analyzed a bridge caisson in gravelly soils using a six-spring model comprising compressive and shear springs along the shaft in the front and at the sides, and at the base of the caisson. These apart, continuum-based finite element (FE) analysis have been used for analysis of laterally loaded caissons4,5,12,13. While spring-based analyses are convenient, computationally efficient, and easy to perform14, determining the spring stiffnesses is often not easy15 and involves empirical methods leading to errors in the final results. In fact, the rotational and translational spring stiffnesses for caissons are not available in the literature for a wide range of soils. Continuum-based analyses, on the other hand, capture the three-dimensional (3D) interaction between the caisson and soil more accurately than the soil-spring approach, but these methods are usually computationally intensive, require 3D numerical methods to obtain solutions, and are not frequently used in practice. The simplified continuum approach, in which assumptions are made regarding the stress or displacement fields in the soil to obtain solutions, has been successfully used in soil-structure interaction problems16,17. The simplified continuum approach has the advantage that the 3D soil-structure interaction is accounted for without very high computational time and effort. Recently, a simplified continuum-based semi-analytical method was developed for the analysis of laterally loaded rigid poles18,19,20. However, the vertical soil displacement was assumed to be zero in this method, which introduces artificial restraints in the system and makes the analysis inaccurate for large diameter caissons with slenderness ratio 2–5.
In this study, a continuum-based analysis is developed for determining the displacement and translational and rotational spring stiffnesses of laterally loaded cylindrical caissons in multi-layered elastic soils. The three-dimensional (3D) interaction between the caisson and surrounding soil continuum is taken into account by defining an appropriate soil displacement field which explicitly accounts for the rotation of large diameter caissons and includes nonzero vertical soil displacement adjacent to the caissons. The principle of virtual work is used to obtain the equations governing caisson and soil displacements. Solutions to the equations are obtained analytically and numerically following an iterative algorithm. The analysis shows that the soil continuum surrounding the caisson can be naturally represented by a set of five soil springs, both rotational and translational, attached to the caisson. Equations quantifying the five soil-spring stiffnesses are obtained as part of the solution without recourse to empiricism. Systematic parametric studies are performed to investigate the effect of soil elastic constants and layering on the spring stiffnesses based on which fitted algebraic equations are developed for the five springs that can be used in a soil spring-based analysis of laterally loaded caissons. Additionally, the equivalent translational and rotational foundation stiffnesses have been determined that can be used to replace the caisson at the base of the superstructure for structural analysis of the superstructure without considering the caisson foundation underneath. Example problems are provided to demonstrate how the obtained spring stiffnesses can be used to calculate caisson displacements that can be used for caisson design against serviceability limit states.
Theoretical development
Problem description
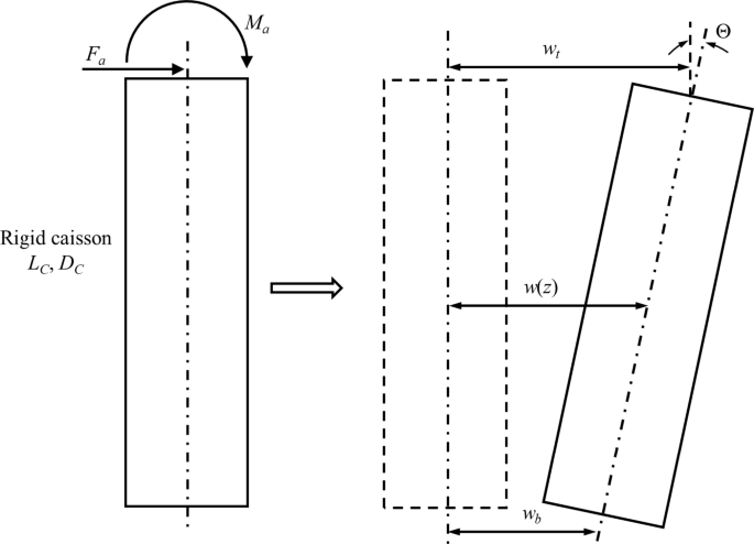
A cylindrical rigid caisson of radius rC (diameter DC = 2rC) and length LC embedded in a soil continuum consisting of n horizontal layers and subjected to a concentrated lateral force Fa and a moment Ma at the head is considered, as shown in Fig. 1. The layered soil deposit is assumed to extend to large radial distances horizontally. The depths of the soil layers are finite except for the bottom (nth) layer, which extends down vertically to a very large depth. The depth of any soil layer i from the ground level is Hi (H0 = 0). The soil is assumed to be linear elastic, isotropic, and homogeneous within each layer, and is characterized by Lame’s constants λS and GS. The caisson head is flushed with the horizontal ground surface, and the base rests on top of the nth layer. There is no slippage or separation between the caisson and soil. A right-handed cylindrical (r, θ, z) coordinate is used for the analysis as shown in Fig. 1. The origin of the coordinate system is at the centre of the caisson head and the z axis points downward along the axis of the caisson.
Displacements in caisson and soil
The caisson is assumed to behave as a rigid body undergoing lateral translation and rotation, as shown in Fig. 2.
Hence, the caisson displacement w(z) at any depth z from the ground surface can be expressed as
where wt is the caisson head displacement at the ground level (wt = w(0)), and Θ is the angle of rotation of the caisson axis in the vertical plane. Θ is a constant and does not change with depth because of the rigid behavior of the caisson. Equation (1) is valid for the domain 0 ≤ z ≤ LC.
Considering the kinematics of the rigid caisson as shown in Fig. 3, The displacements in the soil surrounding the caisson is defined as:
For domain LC ≤ z < ∞, ur and uθ are identical to those given by equations (2a)-(2b) and uz is given by
In equations (2a)-(2d), w(z) is the displacement of the caisson axis described in Eq. (1) for domain 0 ≤ z ≤ LC, and is the displacement of the flexible soil column axis underneath the caisson for the domain LC ≤ z < ∞; ur, uθ, and uz are the soil displacements in the radial, tangential, and vertical directions, respectively; urC and uθC are the radial and tangential components of horizontal caisson displacement at the caisson-soil interface (i.e., urC = ur(rC, θ, z) and uθC = uθ(rC, θ, z)); uzC1 and uzC2 are the two parts of vertical caisson displacement uzC at the caisson-soil interface (uzC = uzC1 + uzC2 = uz(rC, θ, z)); and φr, φθ, and φz are dimensionless displacement attenuation functions of soil associated with ur, uθ, and uz, respectively. The functions φr, φθ, and φz vary along the radial distance r with their values equal to 1 at the caisson-soil interface (i.e., φr = φθ = φz = 1 at r = rC) and 0 at large horizontal distances away from the caisson (i.e., φr = φθ = φz = 0 at r = ∞). The vertical displacement uzC1 caused by the rotatory motion of the caisson is usually small because, in practical problems, Θ is small (sinΘ ≈ Θ) and this makes the angle α (see Fig. 3) also small (with sinα ≈ α) and uzC1 → 0. However, the vertical displacement uzC2 arising from the caisson radius rC cannot be neglected because rC is large for caissons. The assumed soil displacement field expressed in equations (2a)-(2d) ensures the continuity and compatibility of displacements and strains in soil in the radial, tangential, and vertical directions taking account of the rigid translation and rotation of the caisson, and also ensures that the soil displacements and strains decrease with an increase in radial distance from the caisson.
Equilibrium of caisson-soil system and principle of virtual work
Under the action of Fa and Ma, reactive forces from the soil develop in the form of a distributed force p(z) and a distributed moment m(z) acting along the caisson shaft, and in the form of a concentrated shear force Sb and concentrated moment Mb acting at the base of the caisson. The forces acting are shown in the free body diagram of the caisson in Fig. 4. The reactive forces, in turn, act on the soil, loaded by the caisson, as evident from the free body diagram of the soil.
For a virtual displacement δw of the caisson, the virtual displacement and rotation at the caisson head are δwt and δΘ, respectively. Therefore, considering the forces and moments acting on the caisson (Fig. 4) and applying the principle of virtual work results in
As δwt and δΘ are arbitrary and non-zero, Eq. (3) results in
Equation (4a) and (4b) describe the equilibrium of the caisson.
The virtual displacement δw of the caisson generates virtual strains in the adjacent soil. Thus, the principle of virtual work can be applied on the soil considering the forces acting on the soil (Fig. 4), and this results in
where δεlq is the virtual soil strain tensor caused by the virtual caisson displacement δw, σlq is the corresponding soil stress tensor (suffixes l and q are the free indices used to represent the second order strain and stress tensors), and wb is the displacement of caisson base at z = LC, which is calculated as wb = wt − ΘLC. The first four terms on the left-hand side of Eq. (5) are the components of the external virtual work and the remaining two terms represent the internal virtual work of the soil.
The stresses and strains in soil are related by linear elasticity as σlq = λSδlqεmm + 2GSεlq (suffix m is a dummy index). Expressing the stresses in terms of strains and the Lame’s constants, expressing the strains in terms of the displacement functions (defined in equations (2a)-(2d)), and considering explicit soil layering as shown in Fig. 1 (suffix i denoting the ith layer with i = 1, 2, … n), Eq. (5) can be rewritten as a variational equation in the form \(\sum\limits_{{i=1}}^{n} {A({w_i})\delta {w_i}}\) + B(Θ)δΘ + C(φr)δφr + D(φθ)δφθ + F(φz)δφz = 0, from which algebraic or differential equations (and corresponding boundary conditions) of the functions w, Θ, φr, φθ, and φz describing the equilibrium of the caisson-soil system can be obtained in the form A(wi) = 0, B(Θ) = 0, C(φr) = 0, D(φθ) = 0, and F(φz) = 0.
Forces and moments on caisson and corresponding soil spring stiffnesses
Considering the variations of w(z) over the domains Hi−1 ≤ z ≤ Hi (with Hi ≤ LC) and LC ≤ z < ∞, the equations of the distributed soil reaction force p(z) [N/m], distributed soil reaction moment m(z) [N-m/m], and concentrated shear force Sb [N] and moment Mb [N-m] arising from soil reaction at the caisson base are obtained as
where pi and mi are respectively the functions p(z) and m(z) in the ith layer. The parameters ksh, i [N/m2] and ksΘ,i [N] in equations (6a)-(6b) are given by
The parameters Kb,hh [N/m], Kb,hΘ [N], Kb,Θh [N], and Kb,ΘΘ [N-m] in equations (6c)-(6d) are given by
where
The parameters ksh, i and ksΘ,i (equations (6a)-(6b) and (7a)-(7b)) are analogous to the stiffnesses of translational and rotational soil springs, respectively, attached to the side of the caisson shaft for soil layer i, as shown in Fig. 5(a). Similarly, the parameters Kb, hh, Kb,ΘΘ, and Kb,Θh or Kb, hΘ (equations (8a)-(8d)) represent respectively the translational, rotational, and coupled stiffnesses of soil springs attached to the base of the caisson. Thus, the present continuum-based analysis shows that a 5-spring discrete model, shown in Fig. 5(a), can represent the resistances offered by the soil continuum surrounding a caisson. In fact, equations quantifying the five soil-spring stiffnesses have been derived without recourse to empiricism (equations (7a)-(7b), (8a)-(8d)).
Substituting p, m, Sb, and Mb obtained from equations (6a)-(6d) in Eq. (4a) and (4b), the caisson head displacement wt and rotation Θ can be expressed as:
where
Equation (10) represents a set of algebraic equations that can be used to calculate the head displacement and rotation of the caisson. The parameters Kt, hh [N/m], Kt,ΘΘ [N-m], and Kt,Θh [N] or Kt, hΘ [N] in equations (11a)-(11d) are the stiffnesses of equivalent translational, rotational, and coupled springs that can be attached at the base of a superstructure replacing the caisson-soil system, as shown in Fig. 5(b). Equation (10) can be used by structural engineers to perform superstructure analysis with the foundation system replaced by the three springs Kt, hh, Kt,ΘΘ, and Kt,Θh shown in Fig. 5(b). Again, no empiricism is required to determine the spring stiffnesses Kt, hh, Kt,ΘΘ, and Kt,Θh or Kt, hΘ.
Soil displacement functions
Quantification of the soil displacement attenuation functions φr, φθ and φz is necessary because these functions are required for the determination of the spring stiffnesses ksh, ksΘ, Kb, hh, Kb,ΘΘ, Kb,Θh, Kb, hΘ, Kt, hh, Kt,ΘΘ, Kt,Θh, and Kt, hΘ. These functions are obtained from the following differential equations, which were derived by considering independently the variations of φr(r), φθ(r), and φz(r):
along with the boundary conditions φr = φθ = φz = 1 at r = rC and φr = φθ = φz = 0 at r = ∞. The dimensionless parameters γ1-γ9 in equations (12a)-(12c) are given by
where
The differential equations of φr, φθ, and φz given by equations (12a)-(12c) are solved using the one-dimensional finite difference (FD) method.
Equation (12a)-(12c) are interdependent (the functions φr, φθ, and φz are present in all the three differential equations). The interdependence of φr, φθ, and φz shows that the analysis captures the inherent connection of the different components of soil displacements. In fact, the caisson displacement and slope are functionally related to φr, φθ, and φz as evident from the equations of γ1-γ9 and of ksh, ksΘ, Kb, hh, Kb, hΘ, Kb,Θh, Kb,ΘΘ, Kt, hh, Kt, hΘ, Kt,Θh, and Kt,ΘΘ. Thus, the developed analysis framework explicitly captures the true soil-structure (caisson-soil) interaction in which the interrelationships between the caisson and soil displacements are mathematically established.
Solution algorithm
The input data required to perform the calculations are caisson diameter DC, caisson length LC, details of soil stratification n, H1, H2, … Hn−1, and soil elastic constants λSi and GSi. First, the values of γ1-γ9 are assumed to be equal to 1 and the discrete nodal values of φθ and φz (at the FD nodes) are assumed to vary linearly from 1 at node 1 (first node at the caisson-soil interface) to 0 at node l (last node). With these assumed quantities, the nodal values of φr are calculated. Next, with the calculated nodal φr values and assumed nodal φz values, the nodal φθ values are calculated, and subsequently, with the calculated φr and φθ values, the nodal φz are calculated. After the first set of calculations, a convergence check on φr, φθ, and φz is performed with the criteria \(\frac{1}{l}\sum\limits_{{j=1}}^{l} {\left| {\phi _{r}^{{(j),{\text{previous}}}} - \phi _{r}^{{(j),{\text{new}}}}} \right|} \leqslant {10^{ - 8}}\), \(\frac{1}{l}\sum\limits_{{j=1}}^{l} {\left| {\phi _{\theta }^{{(j),{\text{previous}}}} - \phi _{\theta }^{{(j),{\text{new}}}}} \right|} \leqslant {10^{ - 8}}\) and \(\frac{1}{l}\sum\limits_{{j=1}}^{l} {\left| {\phi _{z}^{{(j),{\text{previous}}}} - \phi _{z}^{{(j),{\text{new}}}}} \right|} \leqslant {10^{ - 8}}\) where φ(j),previous and φ(j),new are the values of the functions φr(j), φθ(j), and φz(j) at the previous and current iterations, respectively. Iterations are continued until convergence on φr, φθ, and φz are achieved.
With the converged values of φr, φθ, and φz and their numerical derivatives, the parameters ksh, ksΘ, κn1, κn2, Kb, hh, Kb, hΘ, Kb,Θh, Kb,ΘΘ, Kt, hh, Kt, hΘ, Kt,Θh, and Kt,ΘΘ are calculated with which w and Θ are calculated using Eqs. (10) and (1). The calculated values of w and Θ are used to calculate γ1-γ9 using equations (13a)-(13i). Subsequently, the newly calculated γ1-γ9 are used to iteratively recalculate φr, φθ, and φz with the final values of φr(j), φθ(j), and φz(j) obtained from the previous iteration as the initial starting values. With the newly calculated and converged values of φr, φθ, and φz, the parameters ksh, ksΘ, κn1, κn2, Kb, hh, Kb, hΘ, Kb,Θh, Kb,ΘΘ, Kt, hh, Kt, hΘ, Kt,Θh, and Kt,ΘΘ; w and Θ; and γ1-γ9 are sequentially recalculated. A convergence criterion on γq (q = 1, 2, …, 9) is set as \({{\left| {\gamma _{q}^{{{\text{previous}}}} - \gamma _{q}^{{{\text{new}}}}} \right|} \mathord{\left/ {\vphantom {{\left| {\gamma _{q}^{{{\text{previous}}}} - \gamma _{q}^{{{\text{new}}}}} \right|} {\gamma _{q}^{{{\text{previous}}}}}}} \right. \kern-0pt} {\gamma _{q}^{{{\text{previous}}}}}} \leqslant 0.001\). Iterations on γ1-γ9 (with the inner iteration on φr, φθ, and φz) are continued until convergence is reached at which point the calculated w and Θ are reported as the final values of caisson displacement and rotation. The convergence on γq is shown in Fig. 6 where the L2 norm of \({{\left| {\gamma _{q}^{{{\text{previous}}}} - \gamma _{q}^{{{\text{new}}}}} \right|} \mathord{\left/ {\vphantom {{\left| {\gamma _{q}^{{{\text{previous}}}} - \gamma _{q}^{{{\text{new}}}}} \right|} {\gamma _{q}^{{{\text{previous}}}}}}} \right. \kern-0pt} {\gamma _{q}^{{{\text{previous}}}}}}\) is plotted against the number of iterarations for Problems 1–4 (details of the problems are given in the following section).
Accuracy and nature of caisson responses
Verification with 3D finite element analysis
The accuracy of the present analysis is first verified against equivalent 3D elastic FE analysis performed using the software ABAQUS21. Two caissons with LC/DC = 2 and 5 embedded in homogenous (Problem 1) and 4-layer (Problem 2) soil deposits, respectively, are considered for the verification study, and the displacement profiles of these caissons obtained from present analysis and 3D FE analysis are shown in Fig. 7(a). The figure also shows the inputs used for the analysis of the two caissons. The FE models in ABAQUS are made by considering the caisson and the soil as a single part to ensure no separation or slippage between the caisson and the soil. The vertical curved boundary of the domain is taken at a distance of 25rC from the caisson-soil interface and the bottom horizontal boundary is considered at a distance of 2LC from the bottom of the caisson to minimize the boundary effect by performing convergence studies. A rigid body constraint is applied to the caissons and 8-noded brick elements with reduced integration (C3D8R) are used to model the caisson and the soil. The global mesh sizes considered in the analysis are in the range 0.3–0.5 m. Edge seeding in the radial and vertical direction from the caisson-soil interface are done with mesh size of β−5β where β varies from 0.3 to 0.5 m. The differences between head displacements obtained from the present analysis and FE analysis are 7.1% and 6.7% for the caissons with LC/DC = 2 and 5, respectively. Displacement profiles for Problems 1 and 2 that are obtained from the beam-spring model, where the caisson is modeled as rigid beam and the soil spring constants are calculated per Gerolymos and Gazetas (2006)9 and Gazetas (1991)22 are also plotted in Fig. 7(a). Because of the rigid body behavior, material properties of caissons and their thicknesses are not required in the present analysis (rigid body implies no deformation internal to the body). However, for the requirement of numerical analysis, material properties of the caissons are required by the software and are provided in Fig. 7(a).
In Fig. 7(b), the resultant soil displacement u (\(u=\sqrt {u_{r}^{2}+u_{\theta }^{2}+u_{z}^{2}}\)) at the ground surface (i.e., at z = 0) is plotted as a function of radial distance r for θ = 0 (i.e., in the direction along which the applied force Fa acts) for both the caissons with LC/DC = 2 and 5. The match between the displacement u versus normalized distance r/rC plots obtained from the present analysis and FE analysis is good. The figure shows that displacements in soil become negligible at radial distances of about 20 times the caisson radius. The soil displacement u along the caisson-soil interface is also calculated for different values of θ (with r = rC) at the ground surface (z = 0) and plotted in Fig. 7(c). The match between the u versus θ plots obtained from the present analysis and FE analysis is quite well.
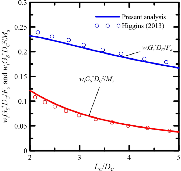
For the second set of verification study, the variation of normalized caisson head displacement wtGS*DC/Fa and wtGS*DC2/Ma in homogeneous soils, arising respectively from applied force Fa and applied moment Ma, with caisson slenderness ratio LC/DC obtained from the present analysis and from the Fourier FE analysis of Higgins et al., (2013)23 are compared in Fig. 8. The figure shows that the caisson displacements obtained from the present analysis match very well with those obtained by Higgins et al., (2013)23.
In order to systematically quantify the difference between the caisson response obtained from the present analysis and 3D FE analysis, 50 laterally loaded caisson simulations are performed using the present analysis and 3D FE analysis for a variety of caisson aspect ratios in the range 2–5 and with a variety of strong and weak soils (with and without multiple layers). The caisson head displacements wt,ANA and wt,FE obtained respectively from the present analytical and 3D FE solutions are plotted in Fig. 9. The scatter around the 1:1 is an indication of the present analysis. It is observed that wt,ANA and wt,FE are quite comparable with wt,ANA about 7% less than the corresponding wt,FE on the average. The root mean square difference of the scatter in Fig. 9 is 0.97 mm and the fitted trend line with R2 = 0.999 shows that wt,ANA = 0.93wt,FE. While the exact reason of the 7% deviation cannot be firmly ascertained, the likely cause of this deviation is because of the assumption of the soil displacement field in equations (2a)-(2d)), as given in the manuscript, which imposes some restraint in the soil deformation in the present analysis which is absent in the FE analysis.
Also plotted in Fig. 9 are the caisson head displacements for the same cases obtained from the simplified continuum analysis of Gupta & Basu, (2016b)20 without any modulus adjustment in which the vertical soil displacement uz was assumed to be zero. As evident, the analysis of Gupta & Basu, (2016b)20 do not produce accurate results for caissons with LC/DC = 2–5 and deviates significantly and inconsistently from the 3D FE analysis. This further proves the necessity of the present analysis in which the vertical soil displacement and rotatory soil resistance are considered. It is important to note that other simplified continuum analyses, such as that of Gupta & Basu, (2016b)20, often take recourse of artificial adjustment of soil moduli to obtain accurate results. No such artificial modulus adjustments are required for the present analysis.
Validation with field test
The results of two field tests conducted by Li et al., (2022)24 (Problem 3) and Yang & Liang, (2006)25 (Problem 4) are used for the validation of the present analysis. The caisson displacement profiles obtained from the field test of Li et al., (2022)24 and from the corresponding simulation using the present method are shown in Fig. 10 along with the details of input parameters (the input parameters are given by Li et al., (2022)24. The caisson head displacements obtained from present analysis is 2.56 mm and the average caisson head displacement obtained from the field test is 2.75 mm, with the difference being 6.7%. The head displacement field test data used in the validation are obtained from multiple displacement profiles provided by Li et al., (2022)24 based on measurements at different locations of the caisson cross-section.
The field test of Yang & Liang, (2006)25 was performed on a free-head drilled shaft of diameter 2.59 m and length 20.12 m (Young’s modulus of the caisson material Ec = 25 GPa and Poisson’s ratio of the caisson material υc = 0.2) in a four-layer soil and subjected to a lateral load of 400 kN with no applied moment. The elastic soil properties at the site were calculated by Gupta & Basu, (2016)20 as: ES1 = 10 MPa, ES2 = 44.56 MPa, ES3 = 4.51 MPa, and ES4 = 6.58 MPa; υS1 = υS2 = υS3 = υS4 = 0.25; and H1 = 7.93 m, H2 = 15.70 m, and H3 = 20.10 m (ESi and υSi are respectively the Young’s modulus and Poisson’s ratio of the ith soil layer; ESi = GSi(3λSi + 2GSi)/(λSi + GSi) and υSi = 0.5λSi/(λSi + GSi)). The test of Yang & Liang, (2006)25 is simulated using the present analysis, which produced a head displacement of 3 mm which is about 5% less than the field value of 3.14 mm. The field result is expected to be somewhat greater than the calculated value because the slenderness ratio LC/DC of the drilled shaft is 7.8, which is greater than the range 2–5 considered in this analysis.
Soil reaction forces and moments and caisson bending moment
For the caissons described in Fig. 7(a), the distributed soil reaction force p (p = kshw) and distributed soil reaction moment m (m = ksΘΘ) with normalized depth are shown in Figs. 11(a) and 11(b), respectively. The soil reaction force p exhibits a linear variation with depth (because p is proportional to caisson displacement w, which varies linearly with depth) while the soil reaction moment m remains constant with depth (because m is proportional to caisson rotation Θ, which is independent of depth). Also plotted in these figures are the corresponding side spring stiffnesses ksh and ksΘ. It is important to note that the side spring stiffnesses are constants for a particular soil layer.
Soil reaction forces and moments along with the applied force and moment are used to calculate the bending moment (BM) in the caisson. Although, the caisson behaves as a rigid body, bending moment in the caisson is required for the structural design of caissons. Therefore, the bending moment is calculated externally by calculating the sum of all the moments either to the left or to the right of the section. The bending moment profiles for the caissons described in Fig. 7(a) are shown in Fig. 11(c). The maximum bending moment can be obtained from the figure and used for the purpose of structural design. Note that, when a distributed moment m(z) acts, the maximum bending moment occurs at a location where the shear force equals the distributed moment.
Characterization of soil spring stiffnesses
Parametric studies are conducted to identify the important soil and caisson parameters that influence the spring stiffnesses. For the purpose of the parametric studies, the soil stiffness is represented by a single parameter GS* (instead of soil elastic constant pairs λS and GS or ES and υS), which is an equivalent soil shear modulus defined by Randolph, (1981)26 as GS* = GS(1 + 0.75υS). This was done based on the observation by Randolph, (1981)26 that soil Poisson’s ratio υS does not have any significant impact on laterally loaded pile response and the minor effect of υS can be taken into account through GS*. Thus, normalizations of the spring stiffnesses (ksh, Kb, hh, Kb,ΘΘ, Kb,Θh, Kb, hΘ Kt, hh, Kt, hΘ, Kt,Θh, and Kt,ΘΘ) are done in terms of GS* except for the rotational stiffness ksΘ, which is normalized with respect to the actual soil shear modulus GS because the analytical equation of ksΘ (Eq. (11b)) is independent of the soil Poisson’s ratio and contains only GS.
For cases with layered soil, the side spring stiffnesses ksh,i and ksΘ,i of the ith layer are normalized with respect to the equivalent and actual shear moduli GSi* and GSi of the corresponding layer. The normalizations of the base spring stiffnesses Kb, hh, Kb,ΘΘ, Kb,Θh, and Kb, hΘ are done with respect to GSn* of the nth layer in which the corresponding springs lie. For the top spring stiffnesses Kt, hh, Kt, hΘ, Kt,Θh, and Kt,ΘΘ, the normalizations are done with respect to GS1* of the top layer.
The practical cases investigated comprise two types of soil profiles: (1) homogeneous soil with a single soil layer and (2) two-layer soil profiles with H1/LC = 0.1–0.9 and GS2*/GS1* = 0.1–5.0.1.0. For these cases, the applied load eccentricity Ma/(FaDC) is varied over a range of 0–2. The caisson aspect ratio LC/DC values considered for the parametric studies lie in the range of 2–5.
Effect of caisson diameter
Figures 12(a)-(c) show the variations of the normalized spring stiffnesses with caisson diameter for homogeneous (single-layer) and two-layer soil profiles with H1/LC = 0.3 and GS2*/GS1* = 1.5 and for LC/DC = 4 and Ma/(FaDC) = 1. Similar plots were obtained for other cases as well. The plots show that caisson diameter has a negligible effect on the spring stiffnesses.
(a) Dimensionless translational and rotational side spring stiffnesses, (b) dimensionless translational, coupled, and rotational base spring stiffnesses, and (c) dimensionless equivalent lateral, rotational, and coupled caisson-soil spring stiffnesses in homogeneous and two-layer soils as functions of caisson diameter.
Effect of caisson aspect ratio
Figures 13(a)-(c) show the variations of the normalized spring stiffnesses with caisson aspect ratio LC/DC for homogeneous (single-layer) and two-layer soil profiles with H1/LC = 0.3 and GS2*/GS1* = 1.5 and for LC/DC = 4 and Ma/(FaDC) = 1. Similar plots were obtained for other cases as well. It is evident that LC/DC has a large impact on the spring stiffnesses. The normalized translational spring stiffnesses ksh and Kb, hh decrease with an increase in LC/DC while the remaining spring stiffnesses increase with an increase in LC/DC.
(a) Dimensionless translational and rotational side spring stiffnesses, (b) dimensionless translational, coupled, and rotational base spring stiffnesses, and (c) dimensionless equivalent lateral, rotational, and coupled caisson-soil spring stiffnesses in homogeneous and two-layer soils as functions of caisson aspect ratio.
Effect of load eccentricity
Figures 14(a)-(c) show the variations of the normalized spring stiffnesses with load eccentricity Ma/(FaDC) for homogeneous (single-layer) and two-layer soil profiles with H1/LC = 0.3 and GS2*/GS1* = 1.5 and for LC/DC = 4. Similar plots were obtained for other cases as well. The load eccentricity impacts the soil spring stiffnesses. All the spring stiffnesses except ksh increases with an increase of load eccentricity while ksh exhibits an opposite trend.
(a) Dimensionless translational and rotational side spring stiffnesses, (b) dimensionless translational, coupled, and rotational base spring stiffnesses, and (c) dimensionless equivalent lateral, rotational, and coupled caisson-soil spring stiffnesses in homogeneous and two-layer soils as functions of applied load eccentricity.
Design equations
Based on the observations made in Figs. 12, 13 and 14, fitted algebraic equations are developed that can be used by designers for quick calculation of the soil spring stiffnesses. For single-layer soil deposits, the parameters that affect the spring stiffness are LC/DC and Ma/(FaDC). For two-layer soil deposits, additional parameters that affect spring stiffnesses are the relative stiffness GS2*/GS1* of soil in the two layers and the ratio of top layer thickness to caisson length H1/LC. These parameters are considered in developing the fitted equations obtained by minimizing the least square error using the inbuilt genetic algorithm solver and fmincon command in MATLAB based on 200 cases for single-layer soils and 7500 cases for two-layer soils. The values of the parameters are considered over their practical range with small increments to generate the 200 and 7500 cases. These equations are given below.
Spring stiffnesses for Caisson in 1-layer homogeneous soil
For cases with Ma = 0:
For cases with Ma ≠ 0:
Spring stiffnesses for caisson in 2-layer soil
For cases with Ma = 0:
For cases with Ma ≠ 0:
Normalized spring stiffnesses calculated using the fitted equations are compared with the corresponding stiffness values obtained analytically by solving equations (7a)-(7b), (10a)-(10d), and (11a)-(11d). It is found that the predictions made using the fitted equations are quite well. For example, the spring constants ksh and ksΘ obtained analytically (denoted with subscript ‘ana’) and using the fitted equations are plotted (denoted with subscript ‘fitted’) are respectively plotted along with the 45° (1:1) line in Fig. 15. The scatter around the 1:1 line and the corresponding root mean square difference (= 0.23 and 0.46 for ksh and ksΘ, respectively) indicate the accuracy of the fitted equations. Similar scatters are obtained for Kt,hh, Kt,ΘΘ, Kt,hΘ, Kb,hh, Kb,ΘΘ, and Kb,hΘ as well with the corresponding root mean square difference of the scatters being 5.26, 31.21, 10.80, 0.56, 1.26, and 0.61, respectively. Caisson head displacement obtained using the fitted equations should be increased by 7% based on the results shown in Fig. 9.
Numerical examples
Two example problems are analyzed using the fitted algebraic equations given above to demonstrate how designers can use the equations. For the two problems, two rigid caissons, one embedded in homogeneous soil and one in two-layer soil, are selected.
For the first problem, a caisson with DC = 5 m and LC = 10 m embedded in a homogeneous soil with GS = 12.5 MPa and υS = 0.4 is selected with Fa = 3 MN and Ma = 25 MN-m. Therefore, GS* = 12.5 × (1 + 0.75 × 0.4) = 16.25 MPa, LC/DC = 10/5 = 2 and Ma/(FaDC) = 25/(3 × 5) = 1.67. Using equations (16a)-(16 h), the spring stiffnesses are calculated as: ksh = 8.1 × 107 N/m2, ksΘ = 4.60 × 108 N, Kb,hh = 6.2 × 108 N/m, Kb,hΘ = 5.82 × 108 N, Kb,ΘΘ = 4.08 × 109 N-m, Kt,hh = 1.41 × 109 N/m, Kt,hΘ = 9.48 × 109 N, and Kt,ΘΘ = 8.49 × 1010 N-m. The caisson head displacement is calculated from Eq. (10) using Kt,hh, Kt,hΘ, or Kt, Θh and Kt,ΘΘ as wt = (Kt,ΘΘ×Fa−Kt,hΘ×Ma)/(Kt,hh×Kt,ΘΘ−Kt,hΘ×Kt,Θh) = 16.4 mm, which increased by 7% gives wt = 17.6 mm. The same problem is solved using 3D FE (ABAQUS) analysis, and the caisson head displacements wt,FE = 17.2 mm. Alternatively, ksh, ksΘ, Kb,hh, Kb,hΘ, and Kb,ΘΘ can be used to calculate the caisson displacement using a stick-spring model shown in Fig. 5(a) (solution can be obtained using the one-dimensional FE or FD method). The advantage of this second approach is that the caisson bending moment and shear force can also be calculated externally. The head displacement obtained using the second approach, after increasing by 7%, is wt, = 17.1 mm.
For the second problem, a caisson with DC = 7 m and LC = 30 m (LC/DC = 30/7 = 4.28) embedded in a two-layer soil with elastic constants GS1 = 9.26 MPa, GS2 = 16 MPa, υS1 = 0.2, and υS2 = 0.3 such that the top layer thickness H1 = 17 m and the second layer extends to great depth. The caisson is subjected to Fa = 8 MN and Ma = 50 MN-m. For this problem, GS1* = 11.69 MPa, GS2* = 19 MPa, GS2*/GS1* = 1.73, H1/LC = 0.57, and Ma/(FaDC) = 0.89. The spring stiffnesses for layers 1 and 2 are calculated from equations (18a)-(18 h) as: ksh,1 = 4.43 × 107 N/m2, ksh,2 = 6.97 × 107 N/m2, and ksΘ,1 = 1.83 × 109 N, ksΘ,2 = 2.87 × 109 N, Kb,hh = 9.84 × 108 N/m, Kb,hΘ = 1.52 × 109 N, Kb,ΘΘ = 1.6 × 1010 N-m, Kt,hh = 2.35 × 109 N/m, Kt,hΘ = 5.36 × 1010 N, and Kt,ΘΘ = 1.42 × 1012 N-m. The caisson head displacement is calculated, after 7% increase, as 19.5 mm from Eq. (10) (wt = (Kt,ΘΘ×Fa−Kt,hΘ×Ma)/(Kt,hh×Kt,ΘΘ−Kt,hΘ×Kt,Θh)) using Kt,hh, Kt,hΘ, or Kt, Θh and Kt,ΘΘ. The head displacement of the same caisson from 3D FE analysis is obtained wt,FE = 20.6 mm. Subsequently, ksh, ksΘ, Kb,hh, Kb,hΘ, and Kb,ΘΘ are used to calculate the caisson displacement using a stick-spring model as shown in Fig. 5(a), and the head displacement obtained using the stick-spring model, after increasing by 7%, is wt, = 19.9 mm.
The numerical models of the example problems are constructed by considering the caisson as a rigid body. Because of the rigid body assumption, the thickness of caisson is not required in the present analysis and FE analysis. In ABAQUS, however, the caisson material properties are required; the Young’s modulus and Poisson’s ratio of the caisson material for both the problems are 25 GPa and 0.2, respectively.
Conclusions
A continuum-based analytical framework is developed for analysis of laterally loaded rigid caissons with aspect ratio 2–5 embedded in layered elastic soil. The interaction between the caisson and surrounding soil continuum is considered by assuming a compatible soil displacement field that explicitly takes into account the vertical soil displacement adjacent to the caisson caused by caisson rotation. The principle of virtual work is used to obtain the equations that describe the caisson and soil displacements. One-dimensional finite difference method and closed form analytical method are used in the solution procedure, which follows an iterative algorithm. The methodology provides accurate results without any artificial soil modulus adjustment and it is also computationally efficient not requiring any elaborate numerical meshing or 3D numerical analysis.
It is shown mathematically that the caisson-soil interaction can be represented by a 5-spring model that includes both translational and rotational soil side and base springs with spring constants ksh, ksΘ, Kb,hh, Kb,ΘΘ, and Kb,hΘ or Kb,Θh. The equations of these spring stiffnesses are determined rigorously as part of the developed framework considering three-dimensional caisson-structure interaction. Equivalent caisson-soil springs are often used by structural engineers to replace foundations for analysis of superstructures. Such spring constants Kt,hh, Kt,ΘΘ, and Kt,hΘ or Kt,Θh are also derived in this analysis, and these springs can replace the caisson-soil system.
Parametric studies are performed based on which fitted algebraic equations for these spring stiffnesses are obtained for single (homogeneous) and two-layer soil profiles that can be readily used by the practitioners for calculation of caisson displacement and maximum bending moment. Two numerical problems are solved that demonstrate the use of the developed fitted equations.
It is to be mentioned that, although the present model can predict lateral caisson displacement accurately, the model in its current form can not capture the nonlinear behavior of soil. Further, the developed model underpredicts the caisson displacement by 7%. Considering a nonlinear soil constitutive model should be able to eliminate this limitation.
Data availability
Data that support the findings of this study are available from the corresponding author upon reasonable request.
References
Nonveiller, E. Open caissons for deep foundations. J. Geotech. Eng. 113, 424–439 (1987).
Varun, Assimaki, D. & Gazetas, G. A simplified model for lateral response of large diameter Caisson foundations-linear elastic formulation. Soil Dyn. Earthq. Eng. 29, 268–291 (2009).
IRC-45-1972. Recommendations for estimating the resistance of soil below the maximum scour level in the design of well foundations of bridges. Preprint at. (1972).
Karapiperis, K. & Gerolymos, N. Combined loading of Caisson foundations in cohesive soil: finite element versus Winkler modeling. Comput. Geotech. 56, 100–120 (2014).
Zafeirakos, A. & Gerolymos, N. Bearing strength surface for Bridge Caisson foundations in frictional soil under combined loading. Acta Geotech. 11, 1189–1208 (2016).
Watson, P. G., Randolph, M. F. & Bransby, M. F. Combined lateral and vertical loading of caisson foundations. In Offshore Technology ConferenceOTC, (2000). https://doi.org/10.4043/12195-MS
Faizi, K., Faramarzi, A., Dirar, S. & Chapman, D. Development of an analytical model for predicting the lateral bearing capacity of Caisson foundations in cohesionless soils. Ocean Eng. 218, 108112 (2020).
Rachamadugu, R. & Vikash, G. Lateral response of Hollow circular Caisson embedded in nonlinear soils. Int. J. Geomech. 22, 04021275 (2022).
Gerolymos, N. & Gazetas, G. Winkler model for lateral response of rigid Caisson foundations in linear soil. Soil Dyn. Earthq. Eng. 26, 347–361 (2006).
Chiou, J. S., Ko, Y. Y., Hsu, S. Y. & Tsai, Y. C. Testing and analysis of a laterally loaded Bridge Caisson foundation in gravel. Soils Found. 52, 562–573 (2012).
Japan Road Association (JRA). Specifications for Highway Bridges (in Japanese). Preprint at. (1990).
Chiou, J. S. & You, J. Q. Three-dimensional finite element analysis of laterally loaded Bridge Caisson foundations in gravelly soil. Acta Geotech. 15, 3151–3166 (2020).
Deb, T. K. & Singh, B. Response and capacity of monopod Caisson foundation under eccentric lateral loads. Mar. Georesources Geotechnology. 36, 452–464 (2018).
Hirai, H. A Winkler model approach for vertically and laterally loaded piles in nonhomogeneous soil. Int. J. Numer. Anal. Methods Geomech. 36, 1869–1897 (2012).
Bransby, M. F. Selection of p–y curves for the design of single laterally loaded piles. Int. J. Numer. Anal. Methods Geomech. 23, 1909–1926 (1999).
Horvath, J. S. Simplified elastic continuum applied to the laterally loaded pile problem—part 1: theory. In Laterally Loaded Deep Foundations: Analysis and Performance (ed. Thompson, C. D.) 112–121 (ASTM International, 1984). https://doi.org/10.1520/STP36816S.
Basu, D., Salgado, R. & Prezzi, M. A continuum-based model for analysis of laterally loaded piles in layered soils. Géotechnique 59, 127–140 (2009).
Gupta, B. K. & Basu, D. Soil resistances for laterally loaded rigid piles in multi-layered elastic soil. Geomech. Geoeng. 15, 10–28 (2020).
Gupta, B. K. & Basu, D. Analysis of laterally loaded rigid monopiles and Poles in multilayered linearly varying soil. Comput. Geotech. 72, 114–125 (2016).
Gupta, B. K. & Basu, D. Response of laterally loaded rigid monopiles and Poles in multi-layered elastic soil. Can. Geotech. J. 53, 1281–1292 (2016).
Dassault Systèmes. ABAQUS. (2023). https://www.3ds.com/products/simulia/abaqus/
Gazetas, G. Formulas and charts for impedances of surface and embedded foundations. J. Geotech. Eng. 117, 1363–1381 (1991).
Higgins, W., Vasquez, C., Basu, D. & Griffiths, D. V. Elastic solutions for laterally loaded piles. J. Geotech. GeoEnviron. Eng. 139, 1096–1103 (2013).
Li, X., Dai, G., Zhang, F. & Gong, W. Energy-based analysis of laterally loaded caissons with large diameters under small-strain conditions. Int. J. Geomech. 22, 5022005 (2022).
Yang, K. & Liang, R. Numerical solution for laterally loaded piles in a two-layer soil profile. J. Geotech. GeoEnviron. Eng. 132, 1436–1443 (2006).
Randolph, M. F. The response of flexible piles to lateral loading. Géotechnique 31, 247–259 (1981).
Author information
Authors and Affiliations
Contributions
Abhisek Paul: Methodology, Conceptualization, Analysis, Data curation, Writing-original draft. Dipanjan Basu: Supervision, Writing-review and editing, Resources, Conceptualization.
Corresponding author
Ethics declarations
Competing interests
The authors declare no competing interests.
Additional information
Publisher’s note
Springer Nature remains neutral with regard to jurisdictional claims in published maps and institutional affiliations.
Rights and permissions
Open Access This article is licensed under a Creative Commons Attribution-NonCommercial-NoDerivatives 4.0 International License, which permits any non-commercial use, sharing, distribution and reproduction in any medium or format, as long as you give appropriate credit to the original author(s) and the source, provide a link to the Creative Commons licence, and indicate if you modified the licensed material. You do not have permission under this licence to share adapted material derived from this article or parts of it. The images or other third party material in this article are included in the article’s Creative Commons licence, unless indicated otherwise in a credit line to the material. If material is not included in the article’s Creative Commons licence and your intended use is not permitted by statutory regulation or exceeds the permitted use, you will need to obtain permission directly from the copyright holder. To view a copy of this licence, visit http://creativecommons.org/licenses/by-nc-nd/4.0/.
About this article
Cite this article
Paul, A., Basu, D. Soil spring stiffnesses for laterally loaded large diameter rigid caissons. Sci Rep 15, 42711 (2025). https://doi.org/10.1038/s41598-025-26838-9
Received:
Accepted:
Published:
Version of record:
DOI: https://doi.org/10.1038/s41598-025-26838-9






















